Каталог по сериям
Выбрана серия: Серия 1.141-1
Серия 1.141-1

1790x220x4480ПК 8-45-18 АIII
Цена по запросу

1790x220x4480ПК 8-45-18 АIII а
Цена по запросу

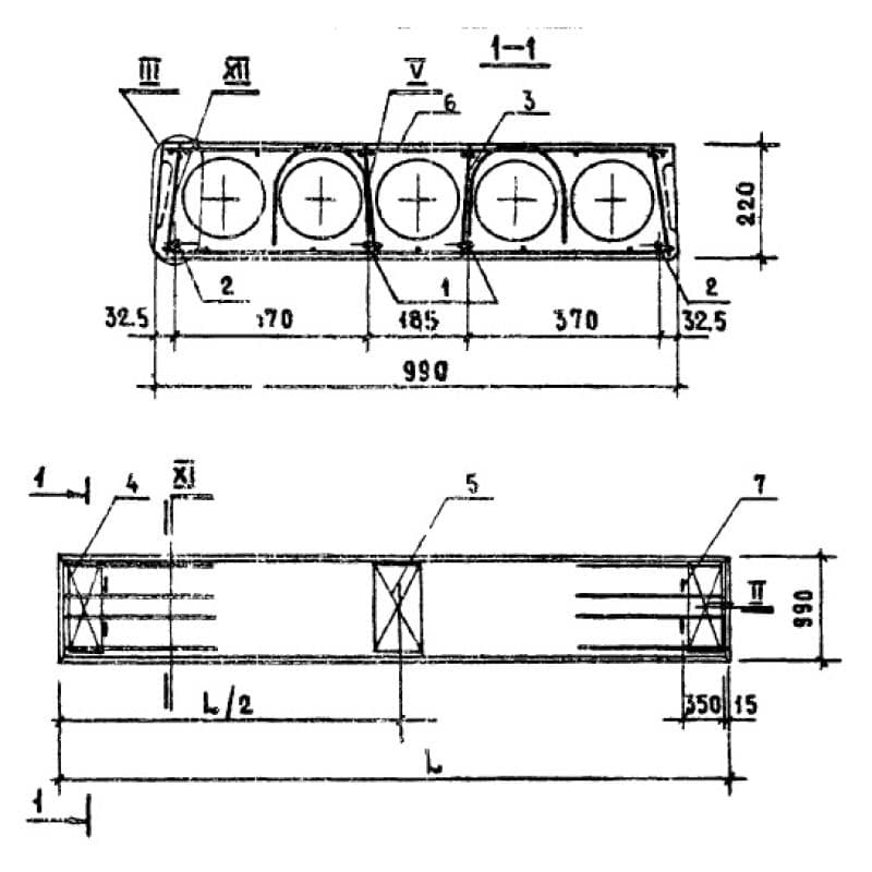
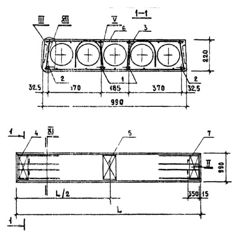
990x220x4780ПК 8-48-10
Цена по запросу

990x220x4780ПК 8-48-10 а
Цена по запросу

990x220x4780ПК 8-48-10 ВрII
Цена по запросу

990x220x4780ПК 8-48-10 ВрII а
Цена по запросу

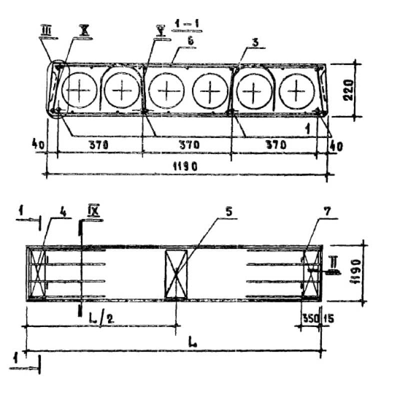
1190x220x4780ПК 8-48-12
Цена по запросу

1190x220x4780ПК 8-48-12 а
Цена по запросу

1190x220x4780ПК 8-48-12 ВрII
Цена по запросу

1190x220x4780ПК 8-48-12 ВрII а
Цена по запросу

1490x220x4780ПК 8-48-15
Цена по запросу

1490x220x4780ПК 8-48-15 а
Цена по запросу