Каталог по сериям
Выбрана серия: Серия 1.100.1-7
Серия 1.100.1-7

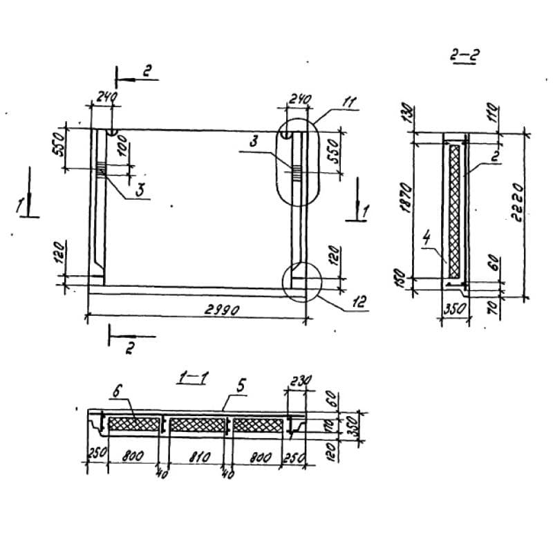
350x2220x29903НЧ 30-22-35-50 л
Цена по запросу

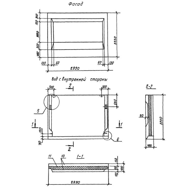
400x2220x29903НЧ 30-22-40-150 т
Цена по запросу

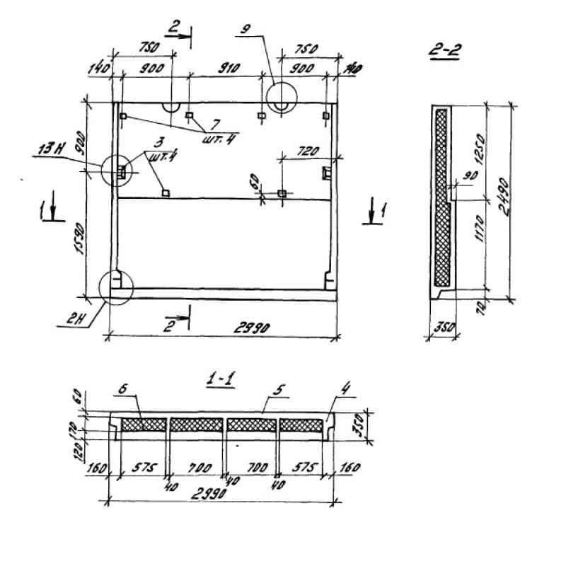
350x2490x29903НЧ 30-25-35-150 л
Цена по запросу

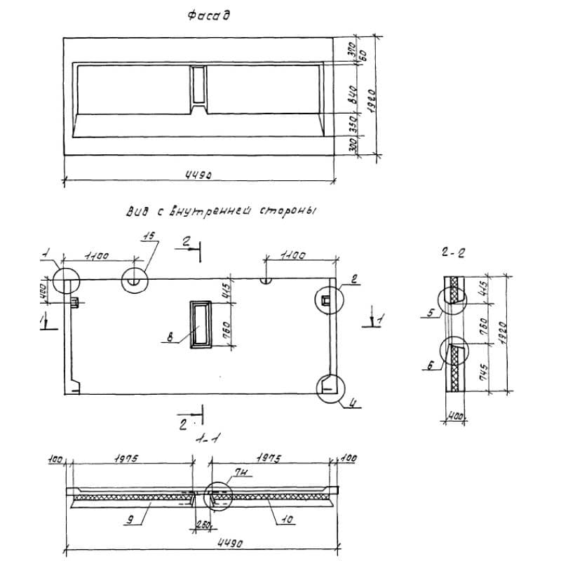
350x2420x37803НЧ 38-24-35-150 л
Цена по запросу

400x2420x38003НЧ 38-24-40-200 т
Цена по запросу

350x1920x44903НЧ 45-19-35-150 л
Цена по запросу

400x1920x44903НЧ 45-19-40-200 т
Цена по запросу

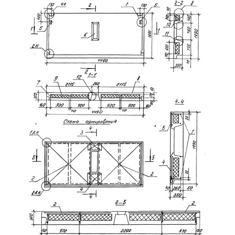
350x1990x44903НЧ 45-20-35-150 л
Цена по запросу

400x1990x44903НЧ 45-20-40-200 т
Цена по запросу

50x2420x44903НЧ 45-24-35-150 л
Цена по запросу

400x2420x44903НЧ 45-24-40-200 т
Цена по запросу

350x2420x47603НЧ 48-24-35-150 л
Цена по запросу