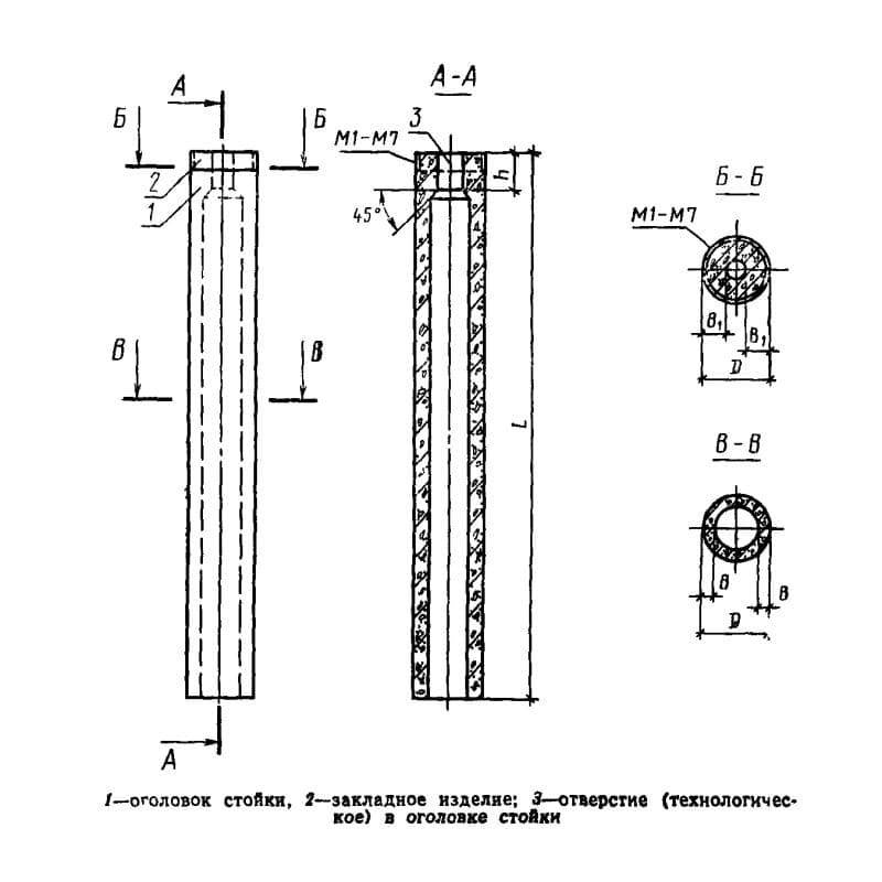
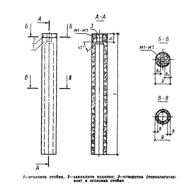
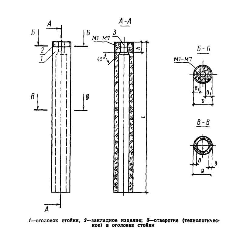
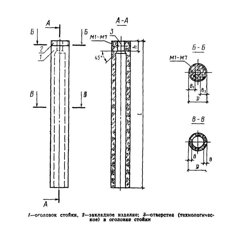
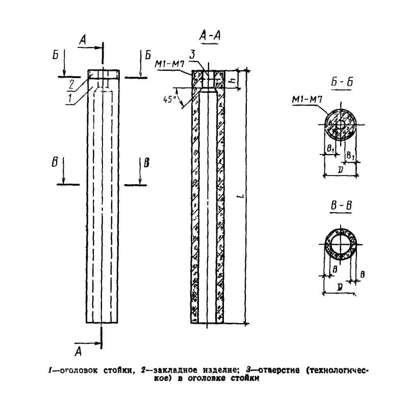
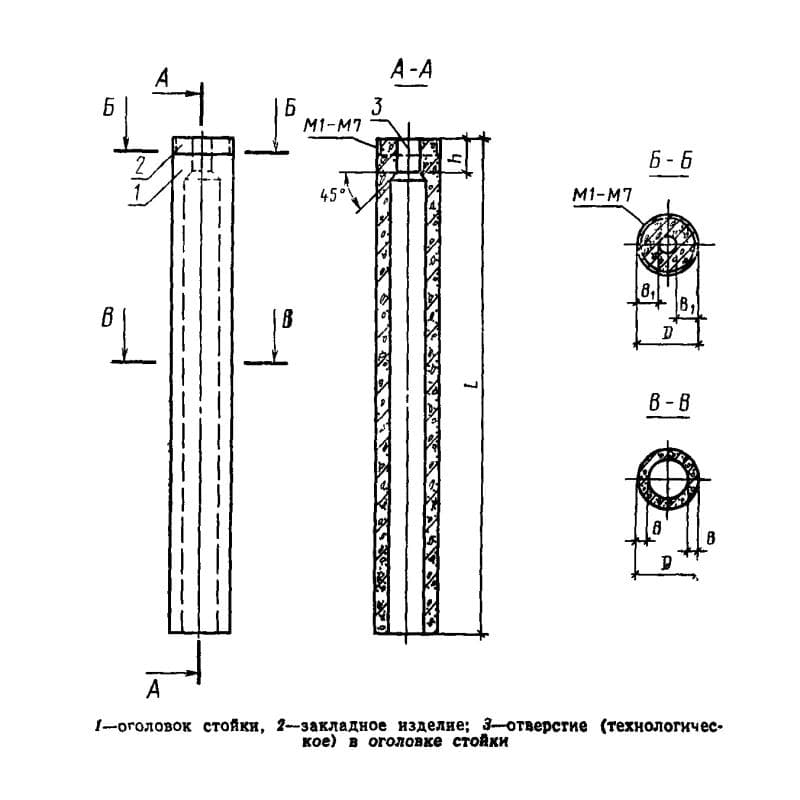
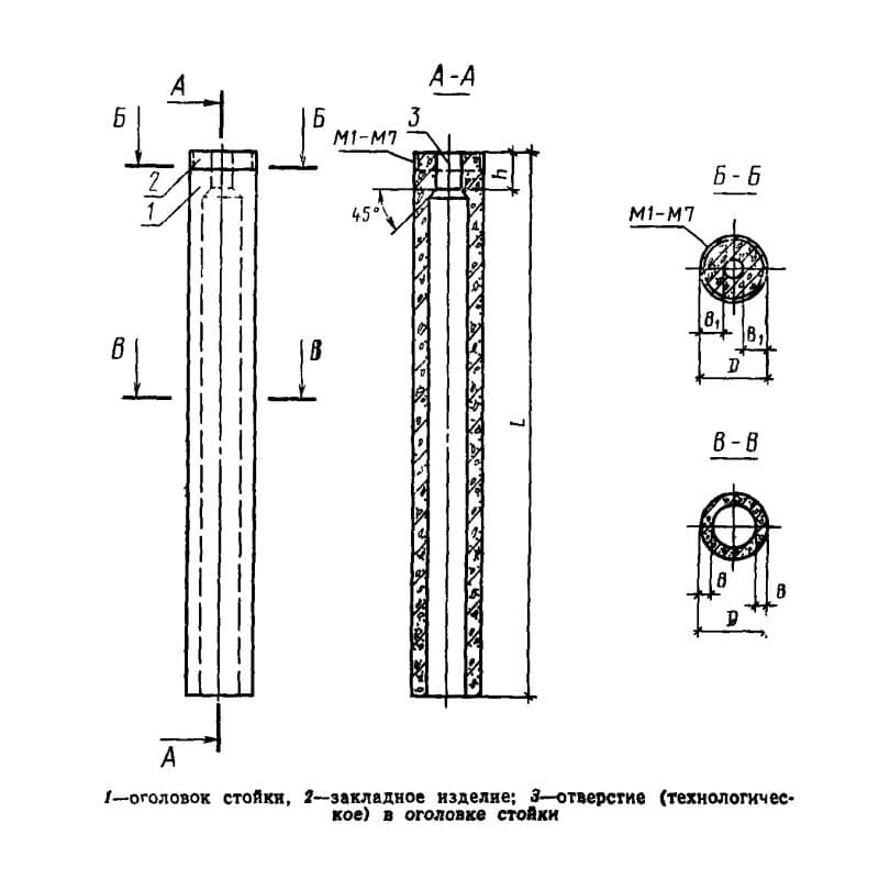
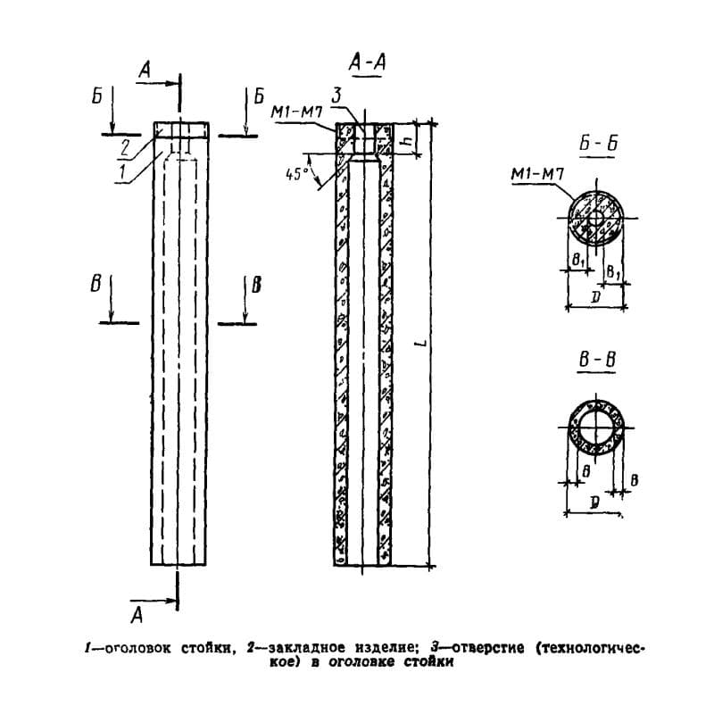
Каталог по сериям
Выбрана серия: ГОСТ 23444-79
ГОСТ 23444-79

800x800x9600С 8-96-10 К6
Цена по запросу

800x800x9600С 8-96-10 К7
Цена по запросу

800x800x9600С 8-96-10 К8
Цена по запросу

800x800x9600С 8-96-12 К6
Цена по запросу

800x800x9600С 8-96-12 К7
Цена по запросу

800x800x9600С 8-96-12 К8
Цена по запросу

800x800x9600С 8-96-6 К1
Цена по запросу

800x800x9600С 8-96-6 К2
Цена по запросу

800x800x9600С 8-96-6 К3
Цена по запросу

800x800x9600С 8-96-6 К4
Цена по запросу

800x800x9600С 8-96-6 К5
Цена по запросу

800x800x9600С 8-96-7 К1
Цена по запросу