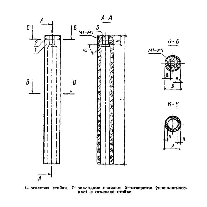
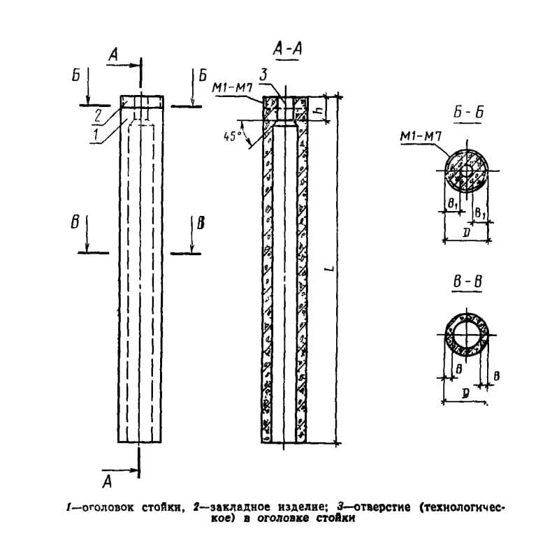
Каталог по сериям
Выбрана серия: ГОСТ 23444-79
ГОСТ 23444-79

800x800x7800С 8-78-7 К2
Цена по запросу

800x800x7800С 8-78-7 К3
Цена по запросу

800x800x7800С 8-78-7 К4
Цена по запросу

800x800x7800С 8-78-7 К5
Цена по запросу

800x800x7800С 8-78-8 К1
Цена по запросу

800x800x7800С 8-78-8 К2
Цена по запросу

800x800x7800С 8-78-8 К3
Цена по запросу

800x800x7800С 8-78-8 К4
Цена по запросу

800x800x7800С 8-78-8 К5
Цена по запросу

800x800x7800С 8-78-8 К6
Цена по запросу

800x800x7800С 8-78-8 К7
Цена по запросу

800x800x8400С 8-84-10 К1
Цена по запросу