Каталог по сериям
Выбрана серия: Серия 1.141-1
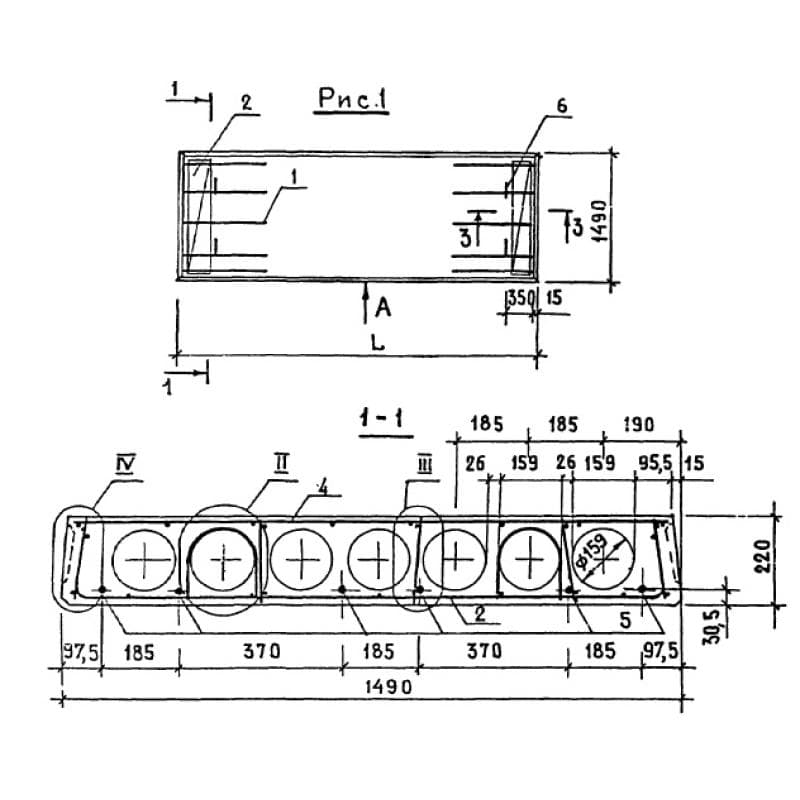
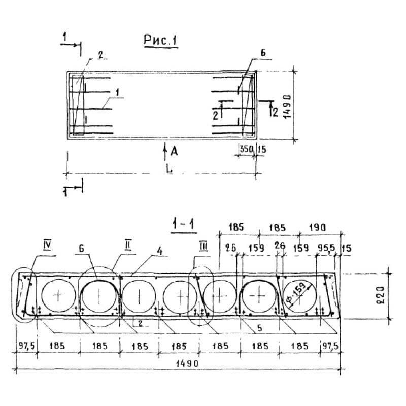
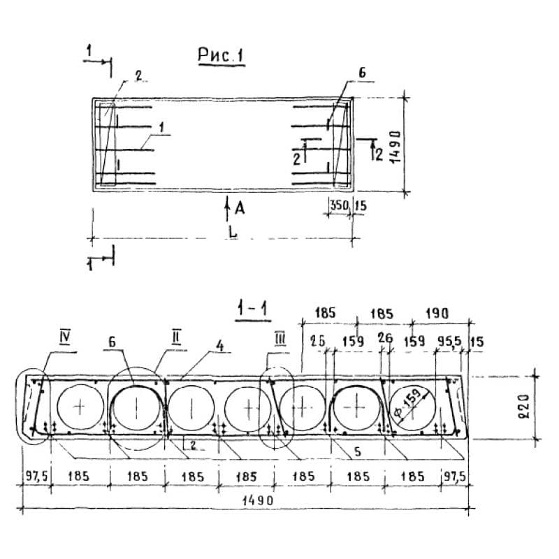
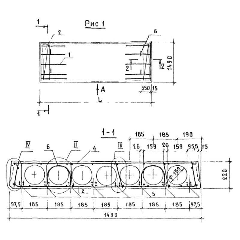
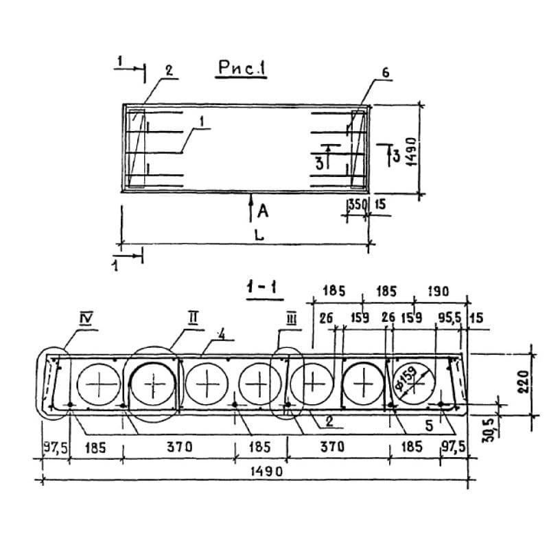
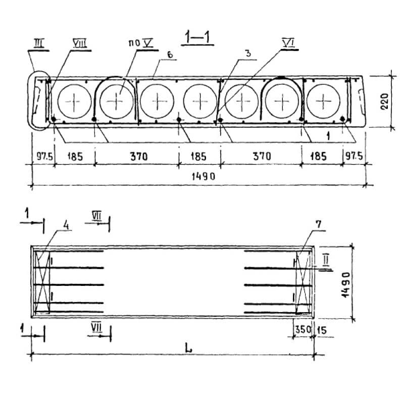
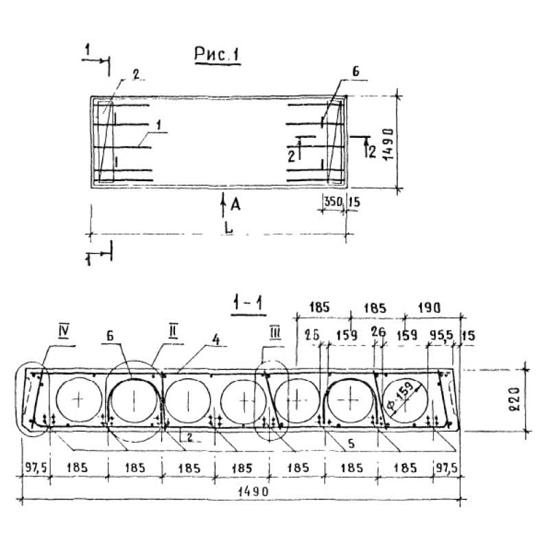
Серия 1.141-1

1490x220x5380ПК 54-15-4 АтVт
Цена по запросу

1490x220x5380ПК 54-15-4 АтVта
Цена по запросу

1490x220x5380ПК 54-15-4 ВрIIт
Цена по запросу

1490x220x5380ПК 54-15-4 ВрIIта
Цена по запросу

1490x220x5380ПК 54-15-4 к7т
Цена по запросу

1490x220x5380ПК 54-15-4 к7тI
Цена по запросу

1490x220x5380ПК 54-15-6 АIVт
Цена по запросу

1490x220x5380ПК 54-15-6 АIVта
Цена по запросу

1490x220x5380ПК 54-15-6 АтVт
Цена по запросу

1490x220x5380ПК 54-15-6 АтVта
Цена по запросу

1490x220x5380ПК 54-15-6 ВрIIт
Цена по запросу

1490x220x5380ПК 54-15-6 ВрIIта
Цена по запросу