Каталог по сериям
Выбрана серия: Серия 1.133-2
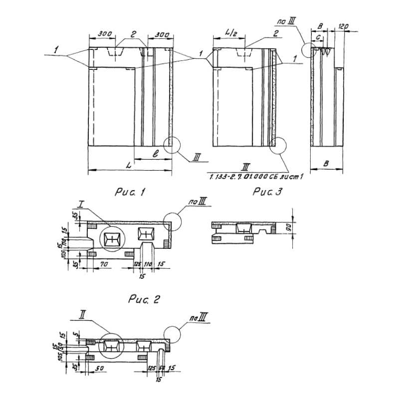
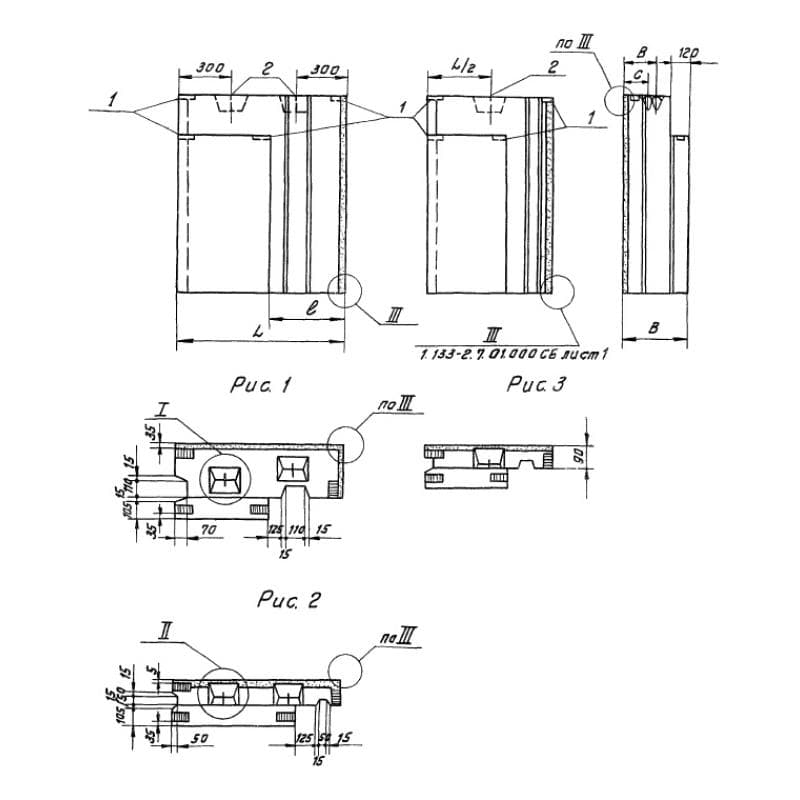
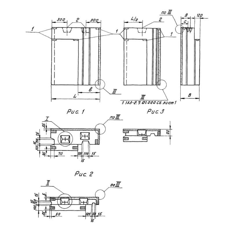
Серия 1.133-2

350x1180x940СБЦ 9-12-4 п-2 (1.133-2)
Цена по запросу

550x1180x890СБЦ 9-12-5 п (1.133-2)
Цена по запросу

550x1180x1040СБЦ 9-12-5 п-1 (1.133-2)
Цена по запросу

550x1180x1040СБЦ 9-12-5 п-2 (1.133-2)
Цена по запросу

300x2180x1340НБ 12-22-3 а (1.133-2)
Цена по запросу

400x2180x1340НБ 12-22-4 а (1.133-2)
Цена по запросу

500x2180x1340НБ 12-22-5 а (1.133-2)
Цена по запросу

600x2180x1340НБ 12-22-6 а (1.133-2)
Цена по запросу

300x480x1180НБ 12-5-3 а (1.133-2)
Цена по запросу

400x480x1180НБ 12-5-4 а (1.133-2)
Цена по запросу

500x480x1180НБ 12-5-5 а (1.133-2)
Цена по запросу

600x480x1180НБ 12-5-6 а (1.133-2)
Цена по запросу