Каталог по сериям
Выбрана серия: Серия 1.133-2
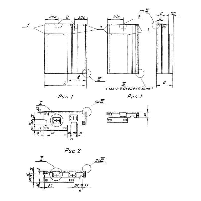
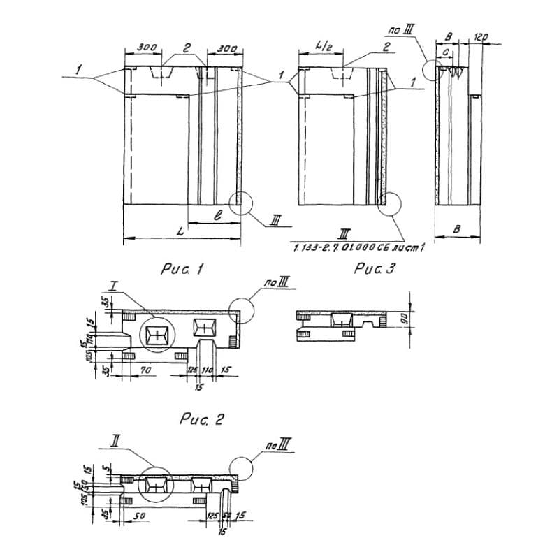
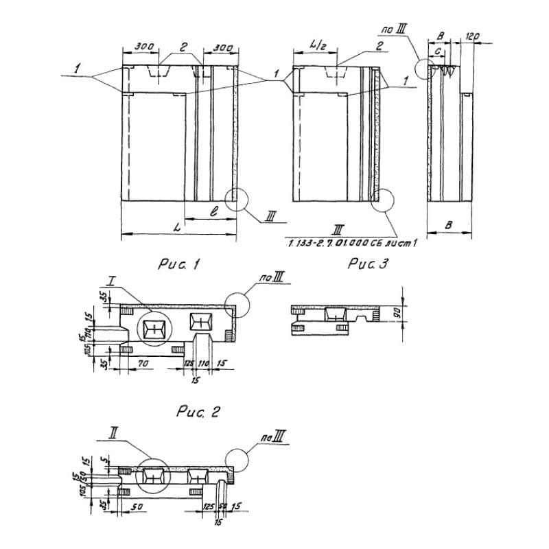
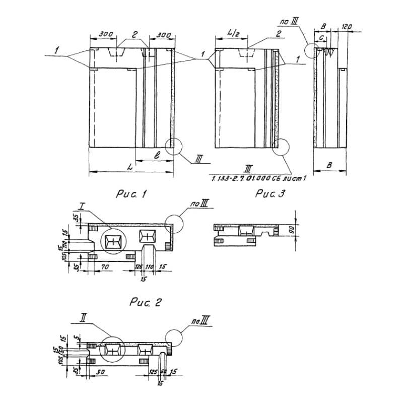
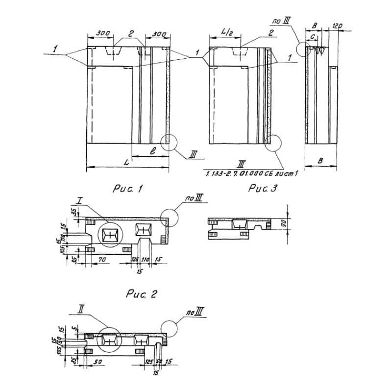
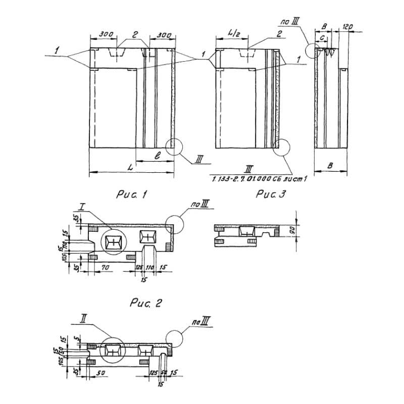
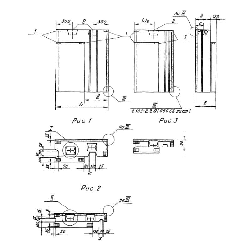
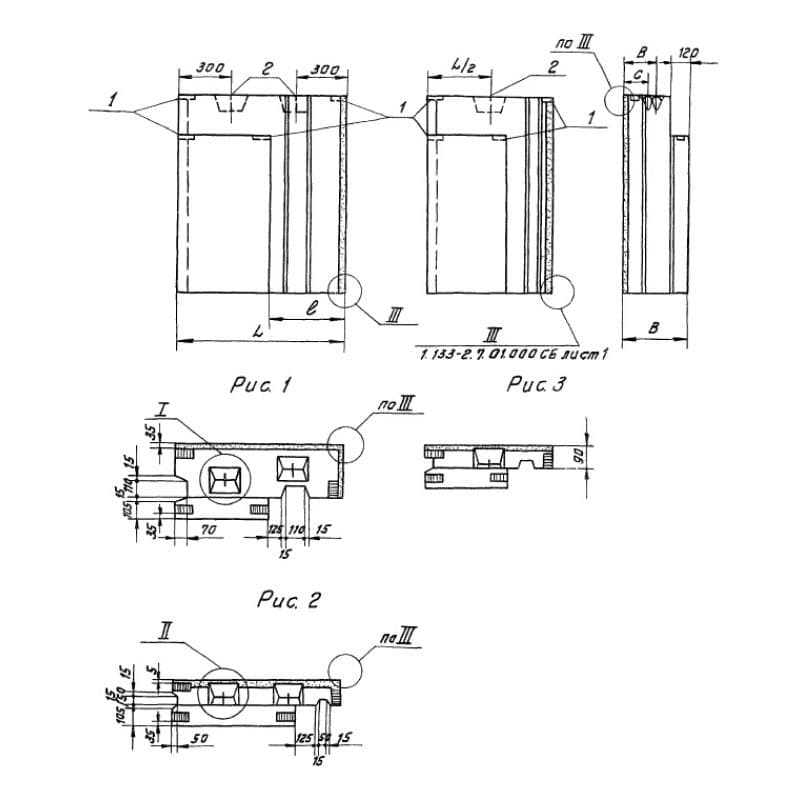
Серия 1.133-2

250x1180x740СБЦ 7-12-2 п-1 (1.133-2)
Цена по запросу

250x1180x740СБЦ 7-12-2 п-2 (1.133-2)
Цена по запросу

250x1180x890СБЦ 8-12-2 п-1 (1.133-2)
Цена по запросу

250x1180x890СБЦ 8-12-2 п-2 (1.133-2)
Цена по запросу

350x1180x840СБЦ 8-12-3 п-1 (1.133-2)
Цена по запросу

350x1180x840СБЦ 8-12-3 п-2 (1.133-2)
Цена по запросу

250x1180x890СБЦ 9-12-2 п (1.133-2)
Цена по запросу

350x1180x890СБЦ 9-12-3 п (1.133-2)
Цена по запросу

350x1180x990СБЦ 9-12-3 п-1 (1.133-2)
Цена по запросу

350x1180x990СБЦ 9-12-3 п-2 (1.133-2)
Цена по запросу

450x1180x890СБЦ 9-12-4 п (1.133-2)
Цена по запросу

350x1180x940СБЦ 9-12-4 п-1 (1.133-2)
Цена по запросу