Каталог по сериям
Выбрана серия: ТПР 501-07-3.83
ТПР 501-07-3.83

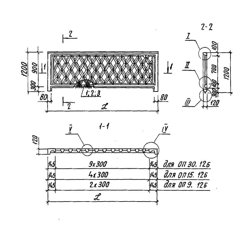
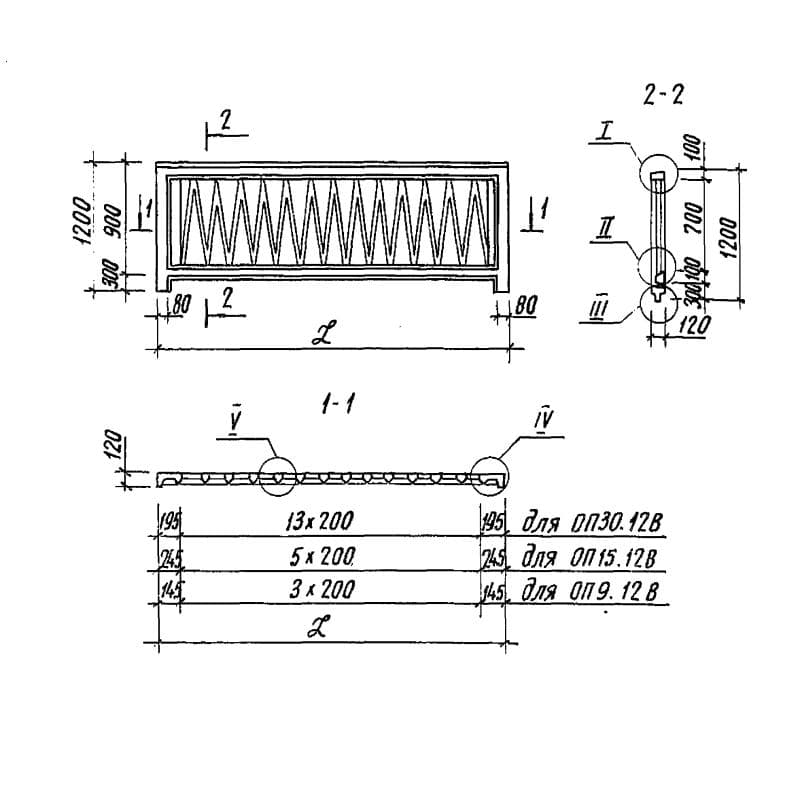
120x1200x2990ОП 30-12 б
Цена по запросу

120x1200x2990ОП 30-12 в
Цена по запросу

120x1200x890ОП 9-12 а
Цена по запросу

120x1200x890ОП 9-12 б
Цена по запросу

120x1200x890ОП 9-12 в
Цена по запросу

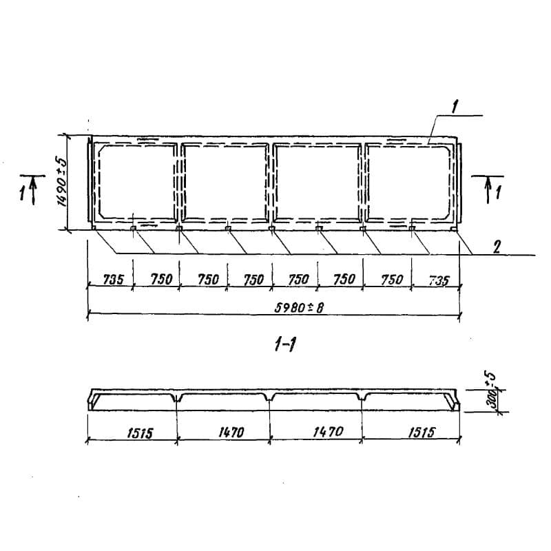
1490x300x5980П 60-15 АтV-1
Цена по запросу

1490x300x5980П 60-15 АтV-2
Цена по запросу

300x300x3000РС 30-3
Цена по запросу

300x300x4500РС 45-3
Цена по запросу

300x300x6000РС 60-3
Цена по запросу

300x400x7500РС 75-3-4
Цена по запросу

200x200x2500С 25-2
Цена по запросу