Каталог по сериям
Выбрана серия: ГОСТ 23444-79
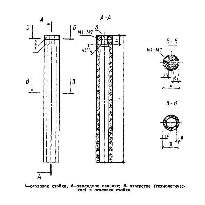
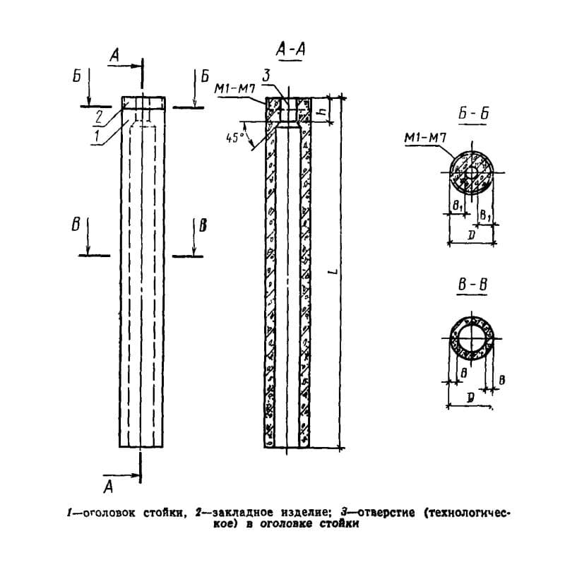
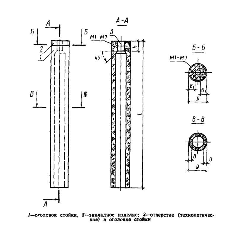
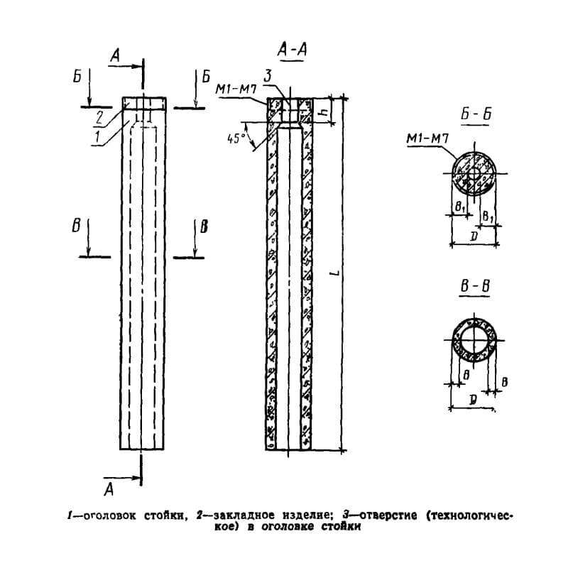
ГОСТ 23444-79

800x800x15000С 8-150-7 К4
Цена по запросу

800x800x15000С 8-150-7 К5
Цена по запросу

800x800x15000С 8-150-8 К1
Цена по запросу

800x800x15000С 8-150-8 К2
Цена по запросу

800x800x15000С 8-150-8 К3
Цена по запросу

800x800x15000С 8-150-8 К4
Цена по запросу

800x800x15000С 8-150-8 К5
Цена по запросу

800x800x15000С 8-150-8 К6
Цена по запросу

800x800x15000С 8-150-8 К7
Цена по запросу

800x800x15600С 8-156-10 К2
Цена по запросу

800x800x15600С 8-156-10 К3
Цена по запросу

800x800x15600С 8-156-10 К4
Цена по запросу