Каталог по сериям
Выбрана серия: Серия 1.141-1
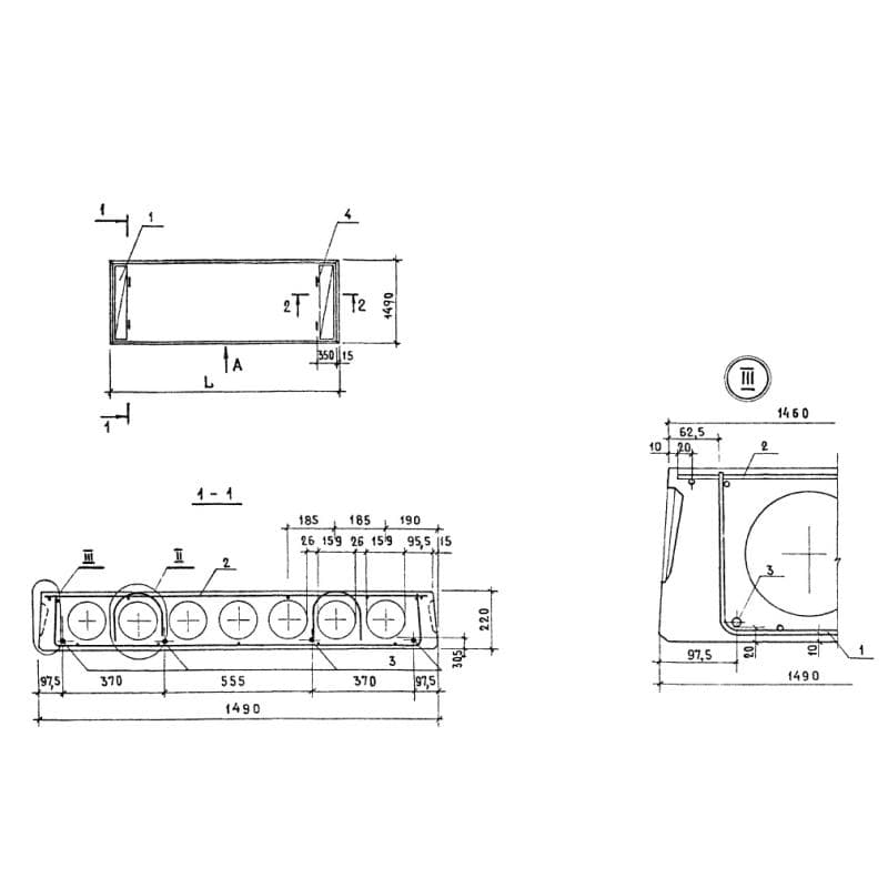
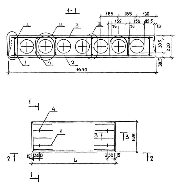
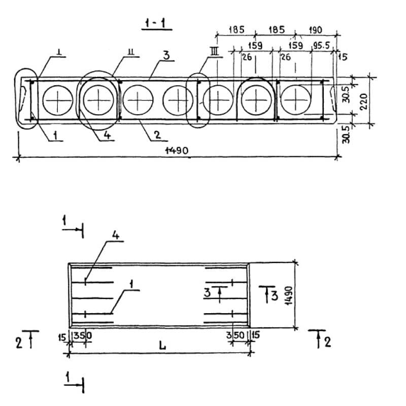
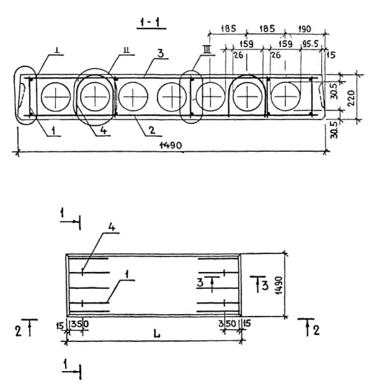
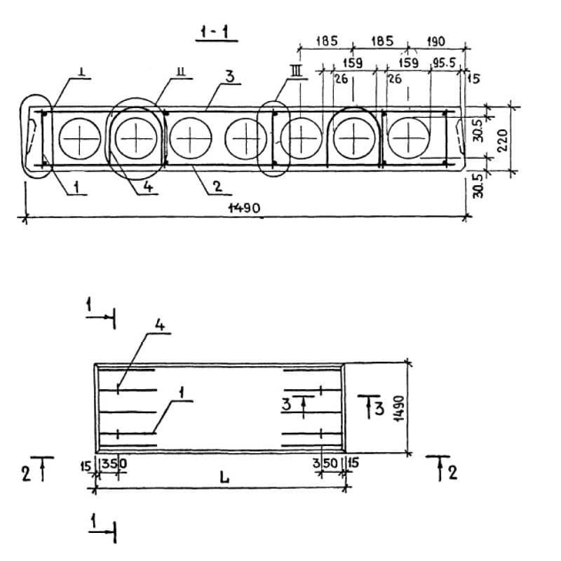
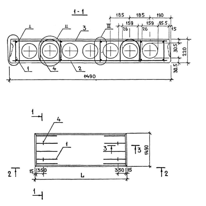
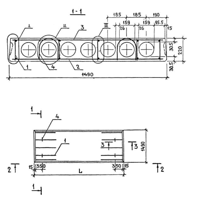
Серия 1.141-1

1490x220x4180ПК 42-15-3 т
Цена по запросу

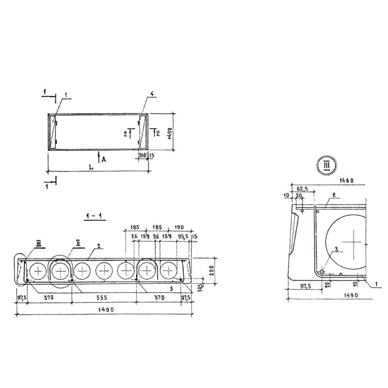
1490x220x4180ПК 42-15-3 та
Цена по запросу

1490x220x4180ПК 42-15-4 т
Цена по запросу

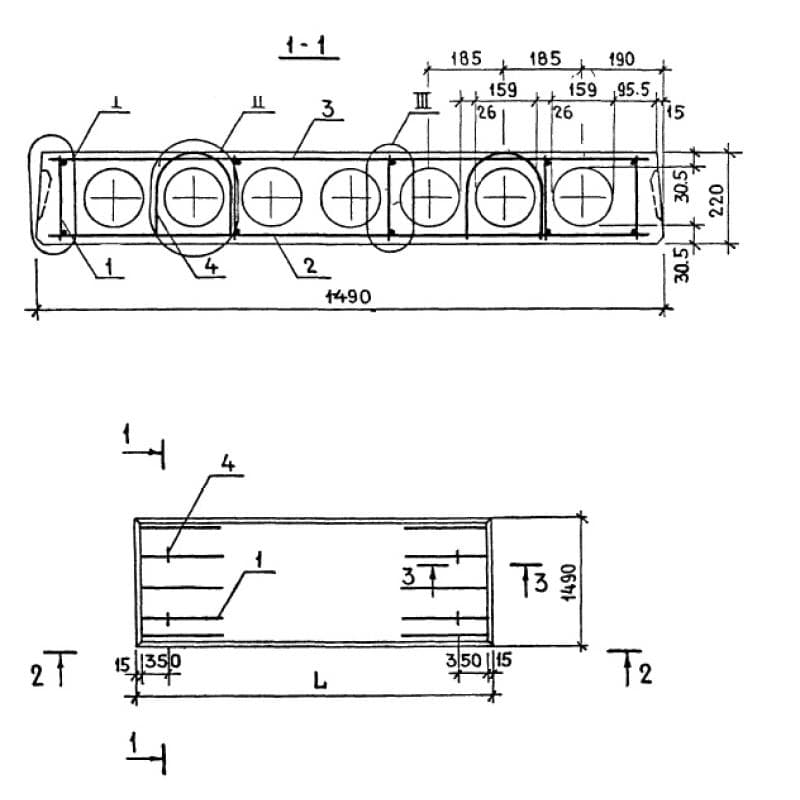
1490x220x4180ПК 42-15-4 та
Цена по запросу

1490x220x4180ПК 42-15-6 т
Цена по запросу

1490x220x4180ПК 42-15-6 та
Цена по запросу

1490x220x4180ПК 42-15-8
Цена по запросу

1490x220x4180ПК 42-15-8 АтVт
Цена по запросу

1490x220x4180ПК 42-15-8 АтVта
Цена по запросу

1490x220x4180ПК 42-15-8 т
Цена по запросу

1490x220x4180ПК 42-15-8 та
Цена по запросу

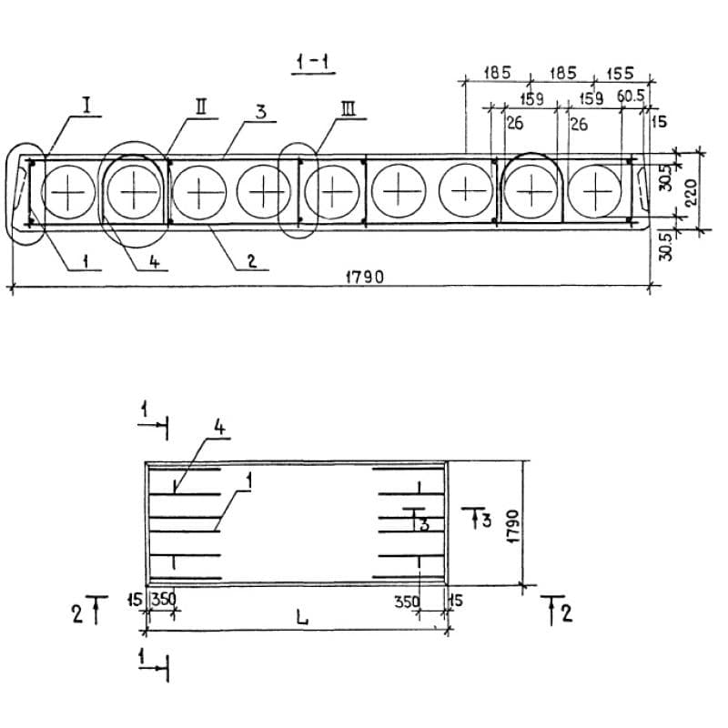
1790x220x4180ПК 42-18-3 т
Цена по запросу