Каталог по сериям
Выбрана серия: Серия 1.141-1
Серия 1.141-1

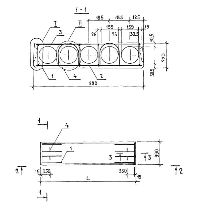
990x220x4180ПК 42-10-8 та
Цена по запросу

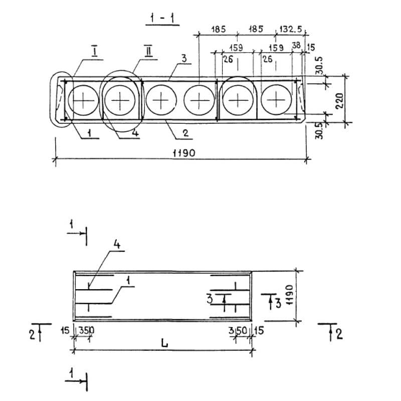
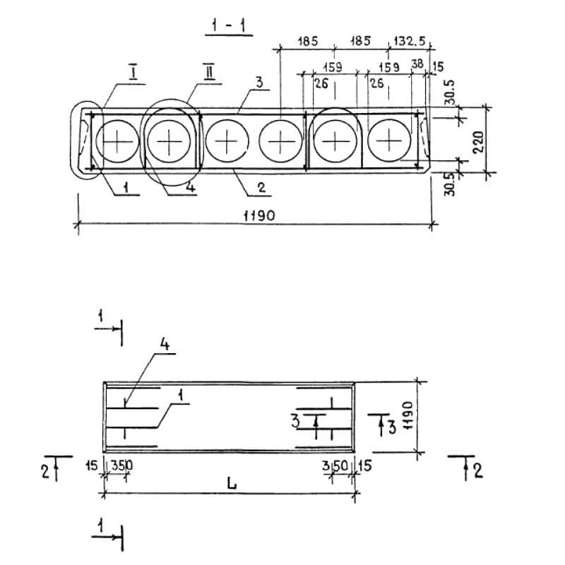
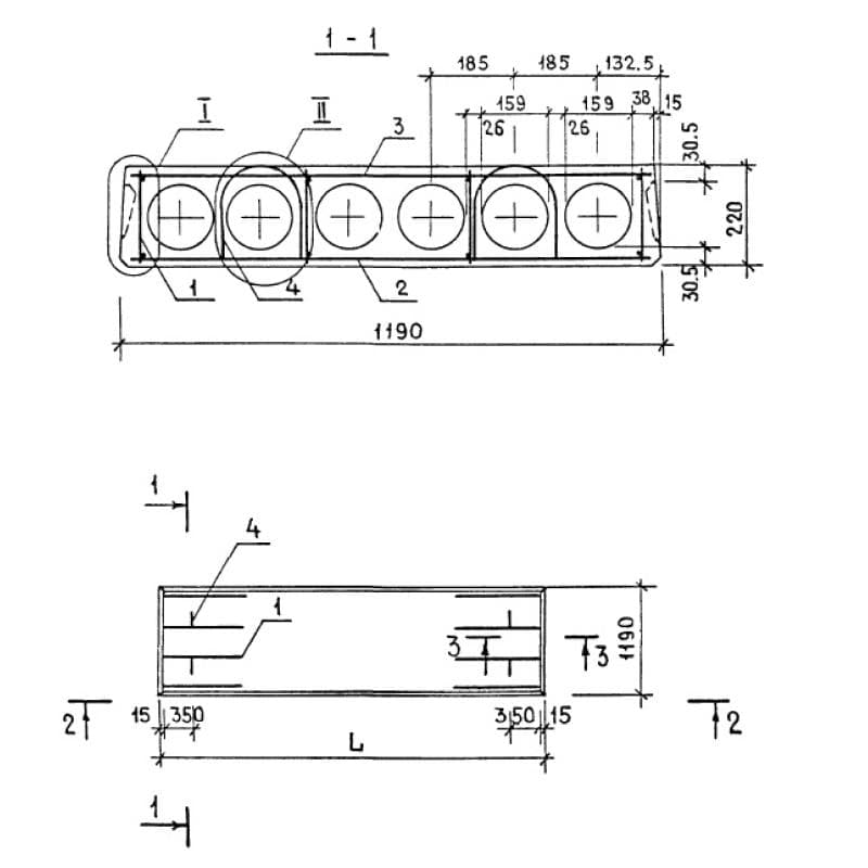
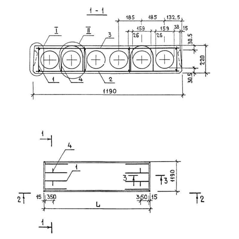
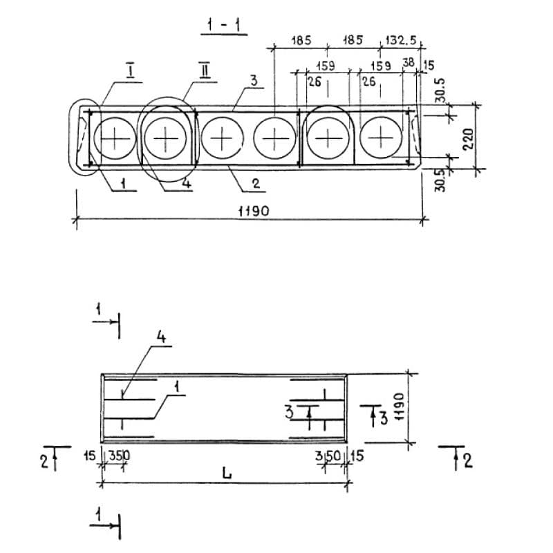
1190x220x4180ПК 42-12-3 т
Цена по запросу

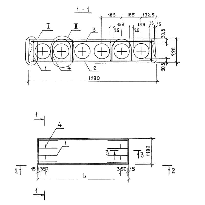
1190x220x4180ПК 42-12-3 та
Цена по запросу

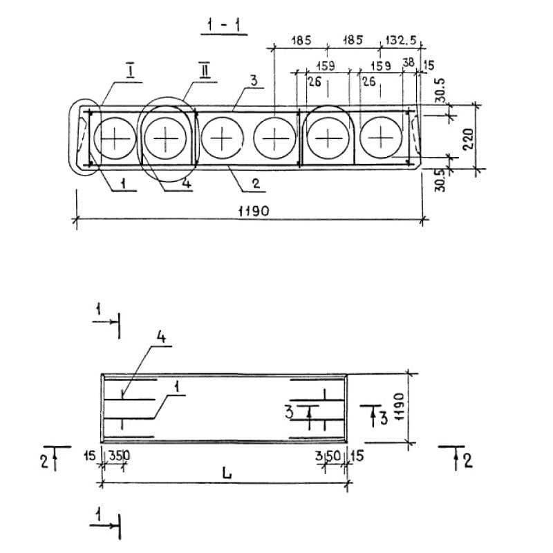
1190x220x4180ПК 42-12-4 т
Цена по запросу

1190x220x4180ПК 42-12-4 та
Цена по запросу

1190x220x4180ПК 42-12-6 т
Цена по запросу

1190x220x4180ПК 42-12-6 та
Цена по запросу

1190x220x4180ПК 42-12-8
Цена по запросу

1190x220x4180ПК 42-12-8 АтVт
Цена по запросу

1190x220x4180ПК 42-12-8 АтVта
Цена по запросу

1190x220x4180ПК 42-12-8 т
Цена по запросу

1190x220x4180ПК 42-12-8 та
Цена по запросу