Каталог по сериям
Выбрана серия: Серия 1.141-1
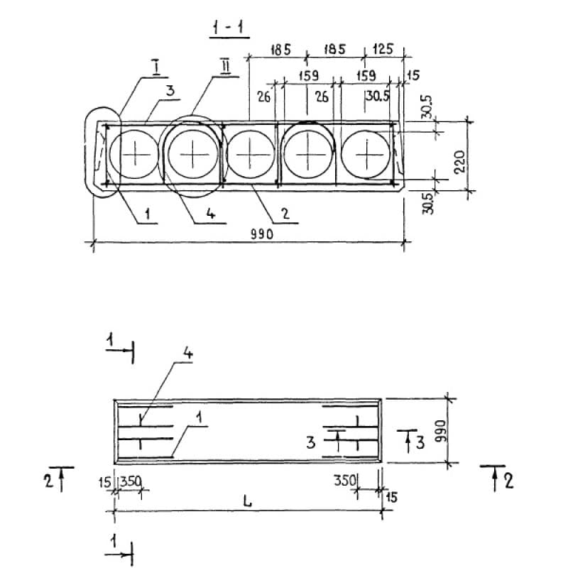
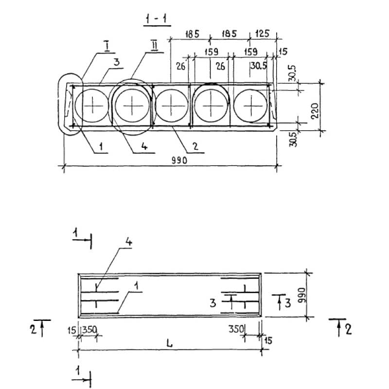
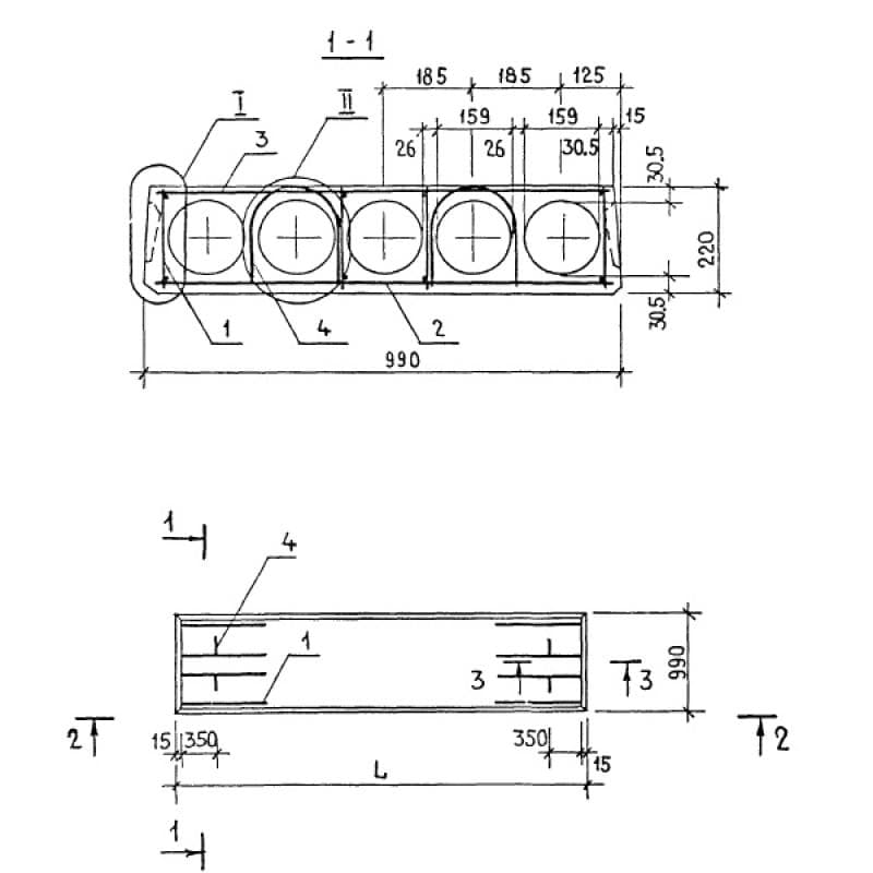
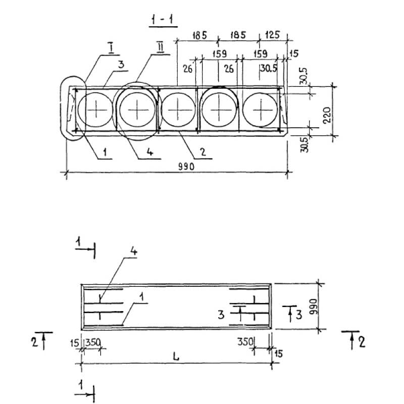
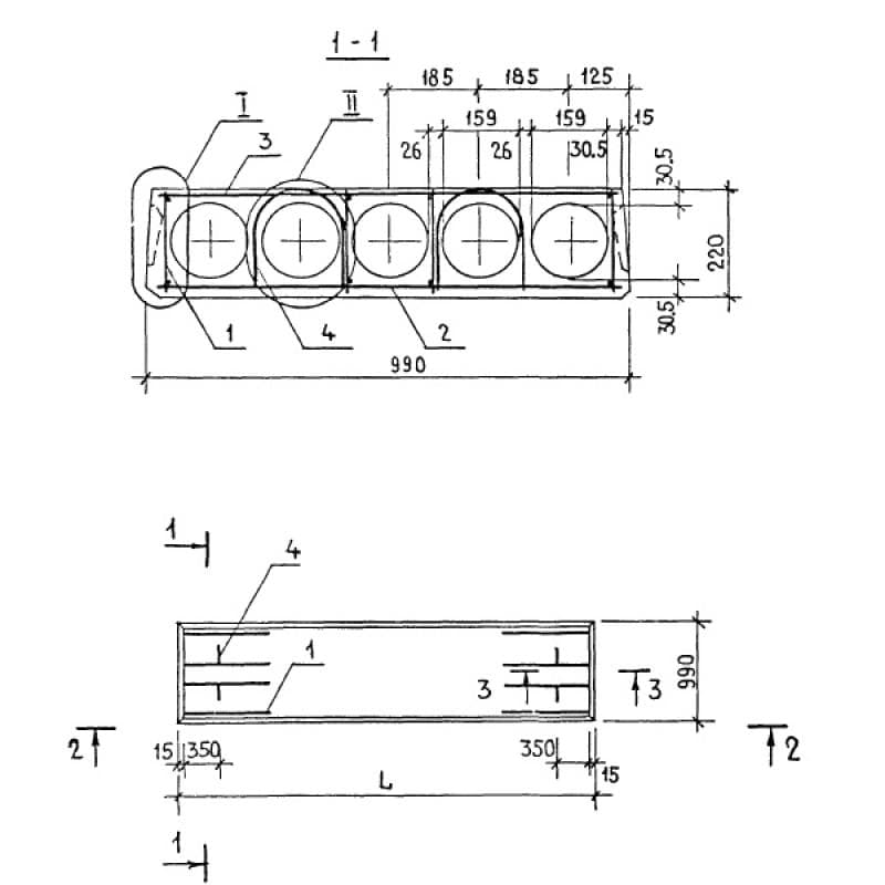
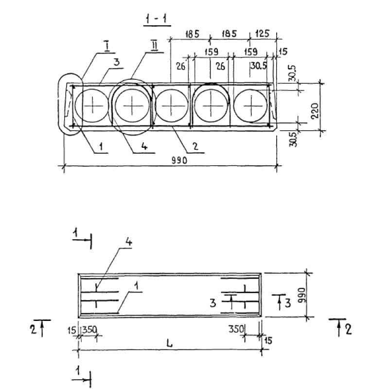
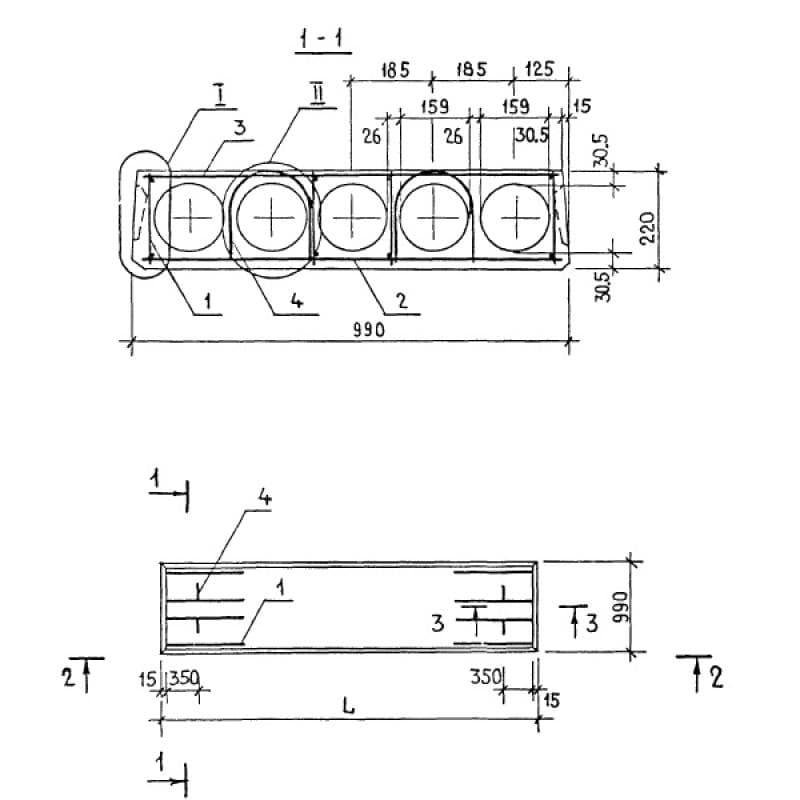
Серия 1.141-1

990x220x4080ПК 41-10-8
Цена по запросу

1190x220x4080ПК 41-12-8
Цена по запросу

1490x220x4080ПК 41-15-8
Цена по запросу

1790x220x4080ПК 41-18-8
Цена по запросу

990x220x4180ПК 42-10-3 т
Цена по запросу

990x220x4180ПК 42-10-3 та
Цена по запросу

990x220x4180ПК 42-10-4 т
Цена по запросу

990x220x4180ПК 42-10-4 та
Цена по запросу

990x220x4180ПК 42-10-6 т
Цена по запросу

990x220x4180ПК 42-10-6 та
Цена по запросу

990x220x4180ПК 42-10-8
Цена по запросу

990x220x4180ПК 42-10-8 т
Цена по запросу