Каталог по сериям
Выбрана серия: ГОСТ 23444-79
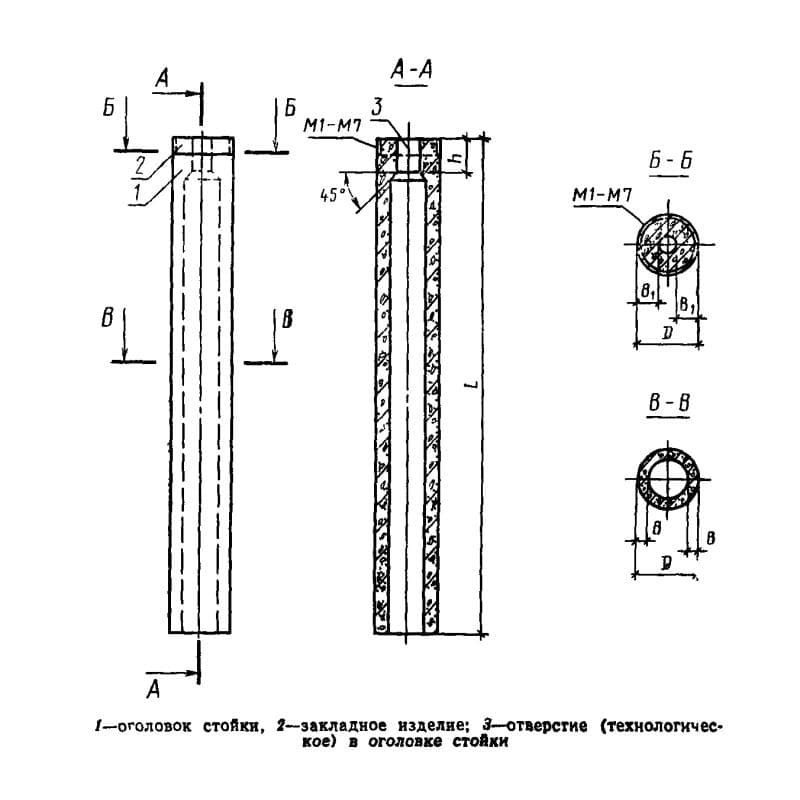
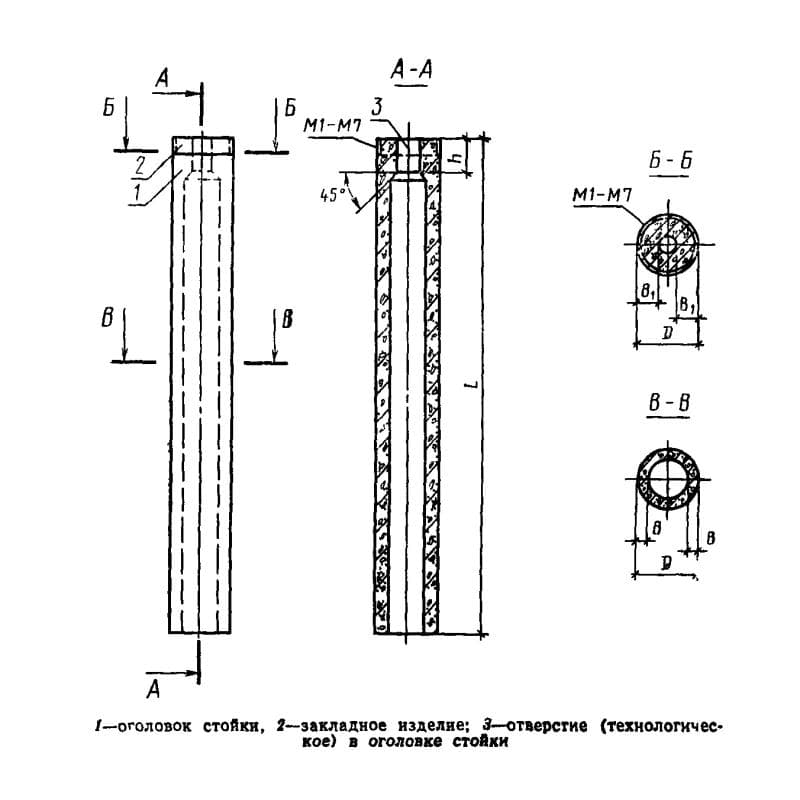
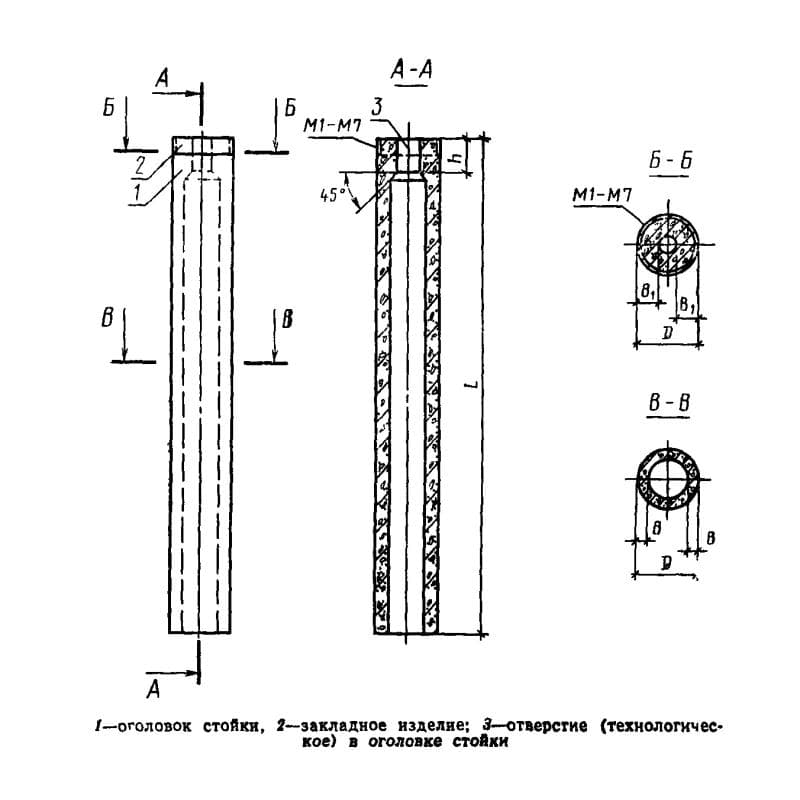
ГОСТ 23444-79

800x800x12000С 8-120-8 К7
Цена по запросу

800x800x12600С 8-126-10 К1
Цена по запросу

800x800x12600С 8-126-10 К2
Цена по запросу

800x800x12600С 8-126-10 К3
Цена по запросу

800x800x12600С 8-126-10 К4
Цена по запросу

800x800x12600С 8-126-10 К5
Цена по запросу

800x800x12600С 8-126-10 К6
Цена по запросу

800x800x12600С 8-126-10 К7
Цена по запросу

800x800x12600С 8-126-10 К8
Цена по запросу

800x800x12600С 8-126-12 К6
Цена по запросу

800x800x12600С 8-126-12 К7
Цена по запросу

800x800x12600С 8-126-12 К8
Цена по запросу