Каталог по сериям
Выбрана серия: Серия 1.141-1
Серия 1.141-1

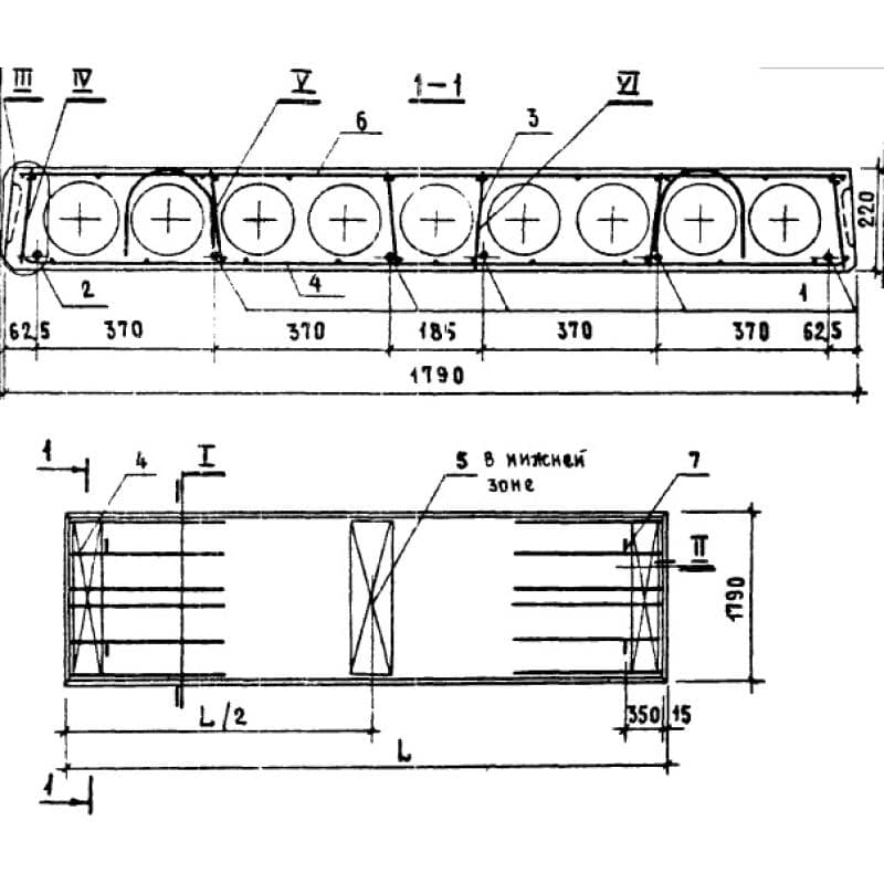
1790x220x4480ПК 4-45-18 АIII
Цена по запросу

1790x220x4480ПК 4-45-18 АIII а
Цена по запросу

1790x220x4780ПК 4-48-18
Цена по запросу

1790x220x4780ПК 4-48-18 а
Цена по запросу

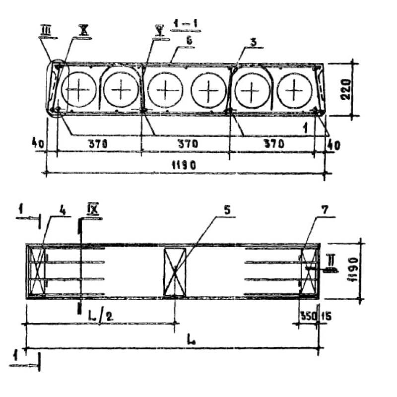
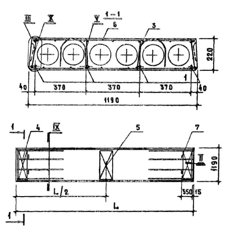
1190x220x5080ПК 4-51-12
Цена по запросу

1190x220x5080ПК 4-51-12 а
Цена по запросу

1190x220x5080ПК 4-51-12 ВрII
Цена по запросу

1190x220x5080ПК 4-51-12 ВрII а
Цена по запросу

1490x220x5080ПК 4-51-15
Цена по запросу

1490x220x5080ПК 4-51-15 а
Цена по запросу

1490x220x5080ПК 4-51-15 ВрII
Цена по запросу

1490x220x5080ПК 4-51-15 ВрII а
Цена по запросу