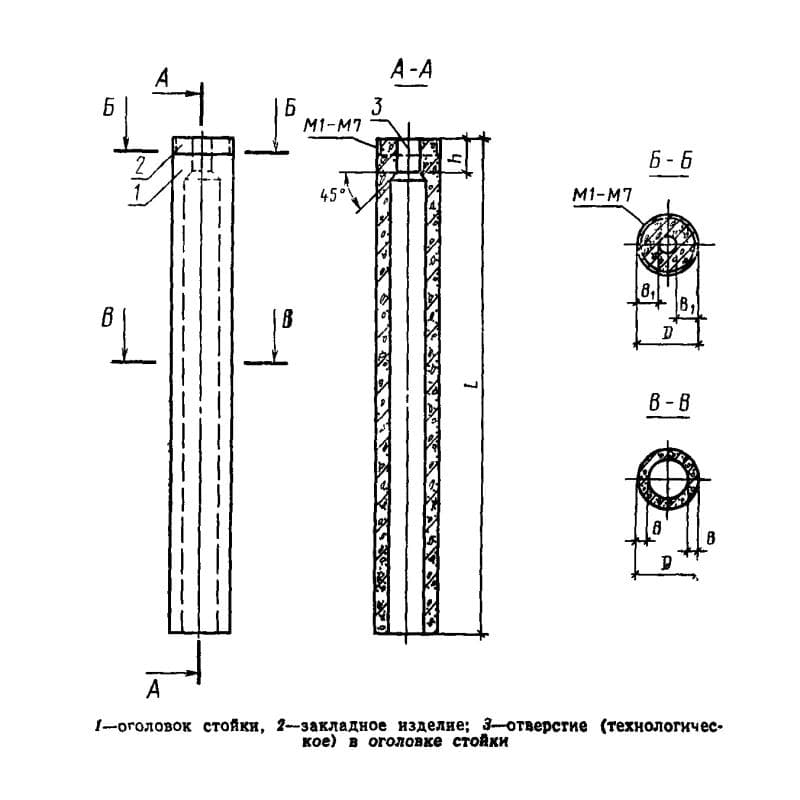
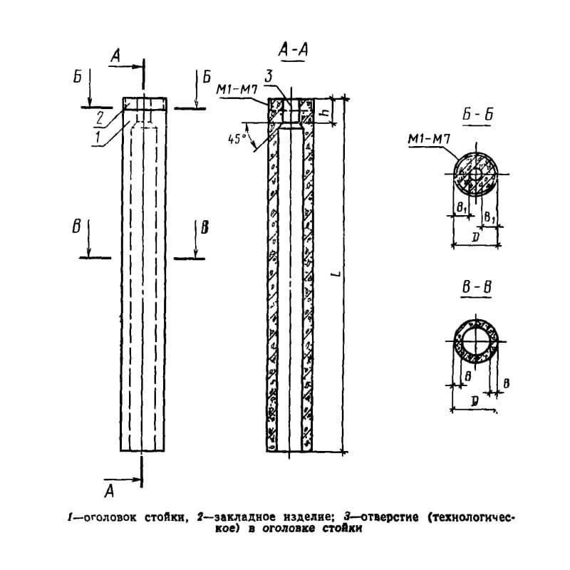
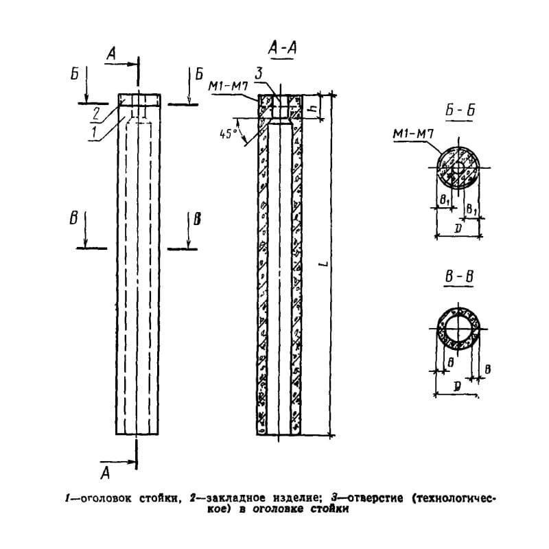
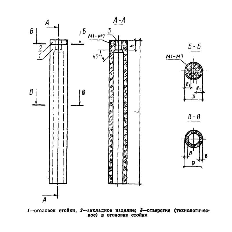
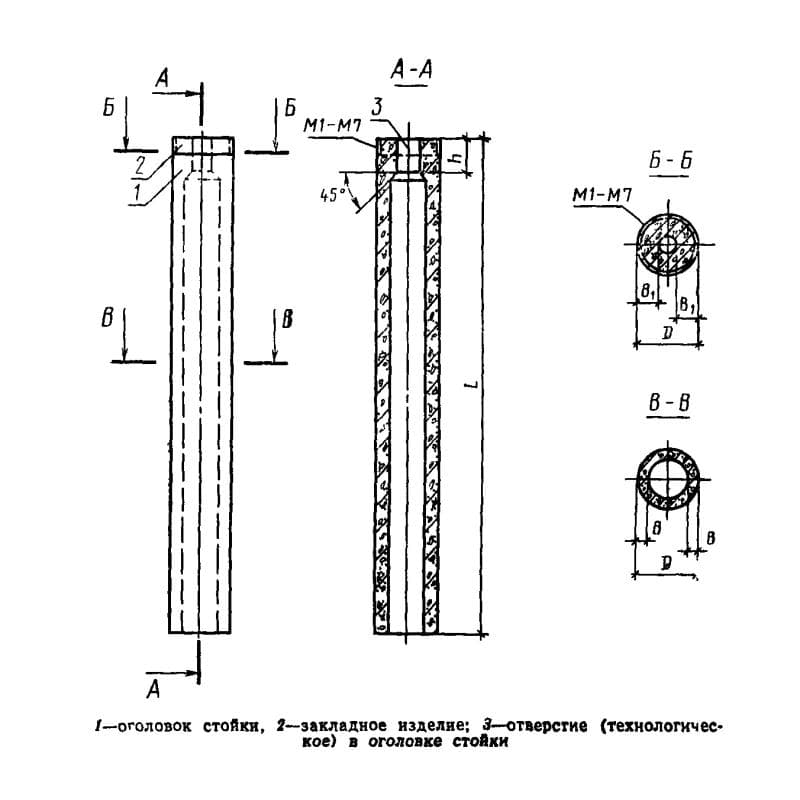
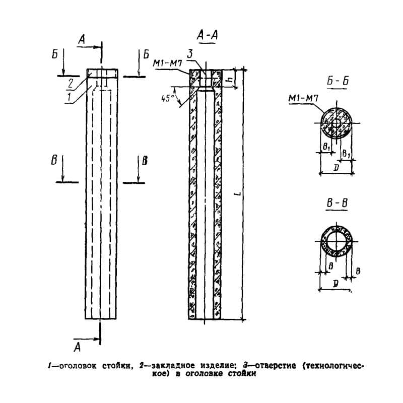
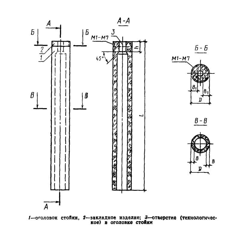
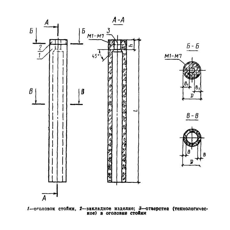
Каталог по сериям
Выбрана серия: ГОСТ 23444-79
ГОСТ 23444-79

800x800x11400С 8-114-7 К4
Цена по запросу

800x800x11400С 8-114-7 К5
Цена по запросу

800x800x11400С 8-114-8 К1
Цена по запросу

800x800x11400С 8-114-8 К2
Цена по запросу

800x800x11400С 8-114-8 К3
Цена по запросу

800x800x11400С 8-114-8 К4
Цена по запросу

800x800x11400С 8-114-8 К5
Цена по запросу

800x800x11400С 8-114-8 К6
Цена по запросу

800x800x11400С 8-114-8 К7
Цена по запросу

800x800x12000С 8-120-10 К1
Цена по запросу

800x800x12000С 8-120-10 К2
Цена по запросу

800x800x12000С 8-120-10 К3
Цена по запросу