Каталог по сериям
Выбрана серия: Серия 1.090.1-6сп
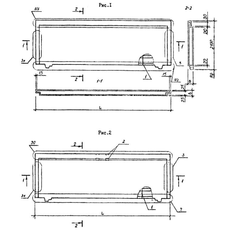
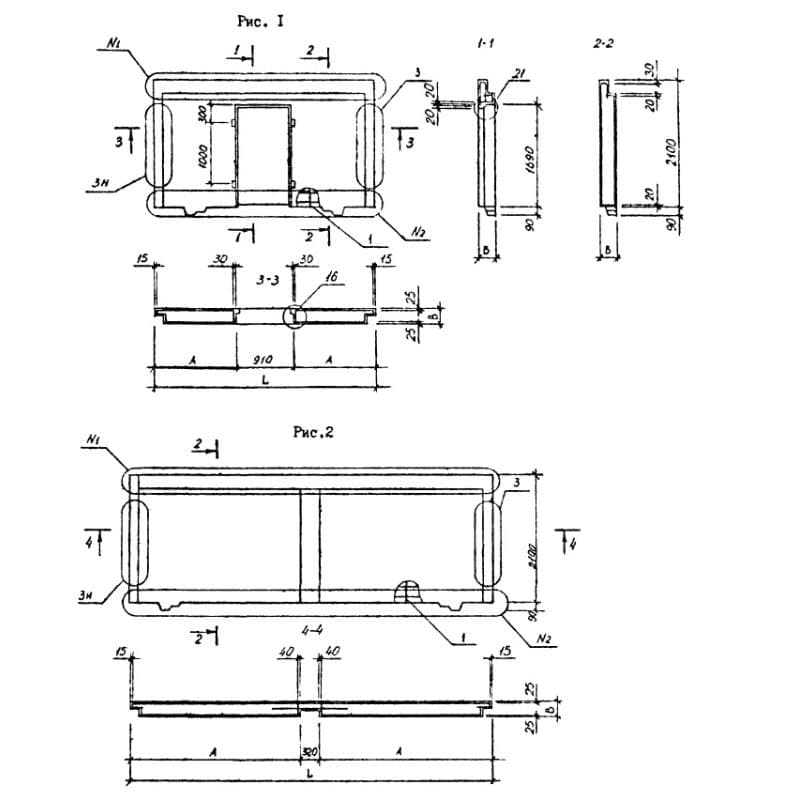
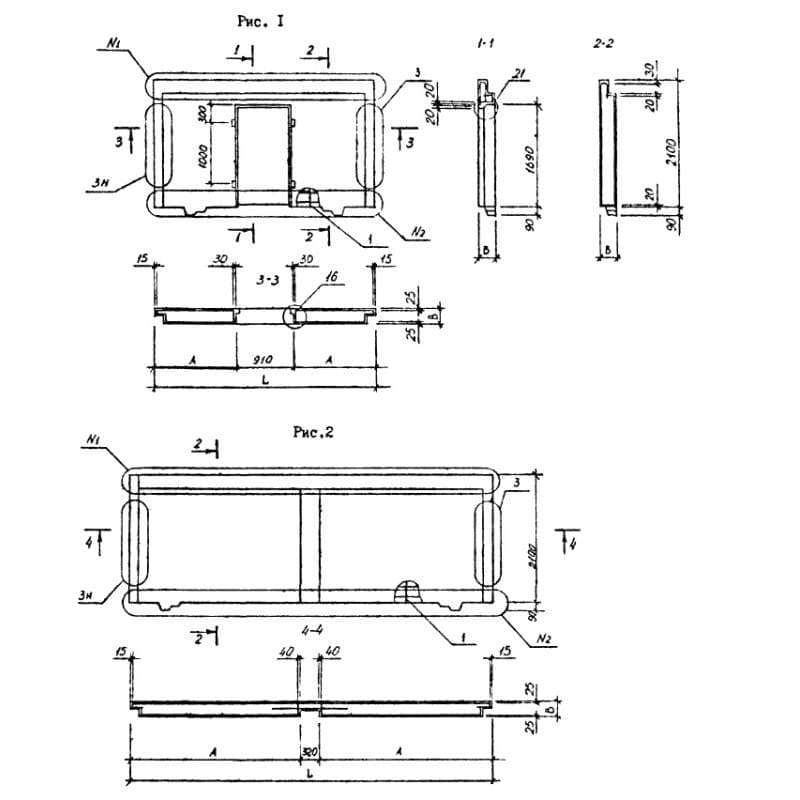
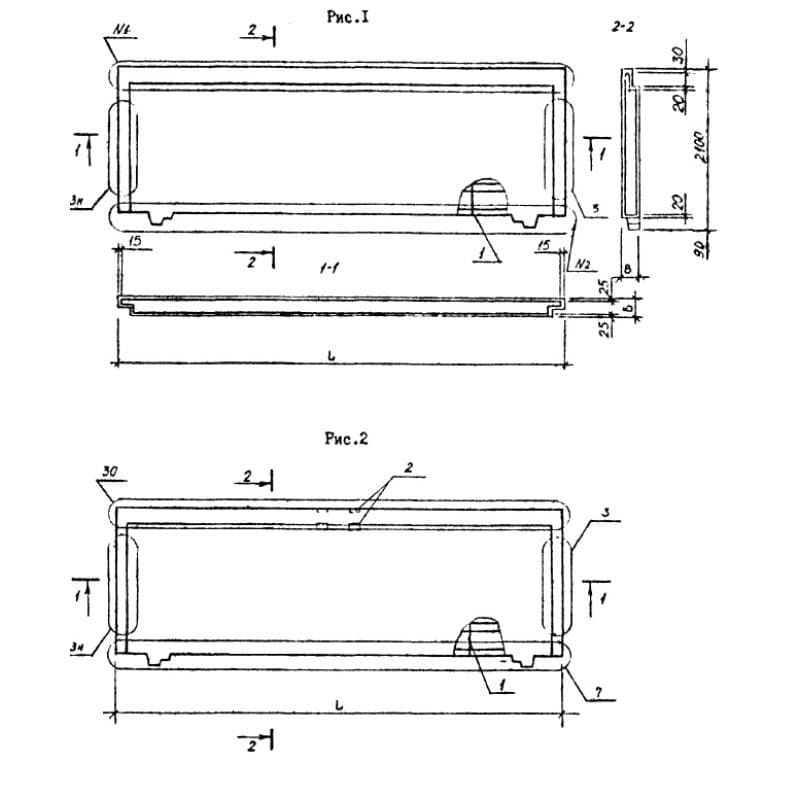
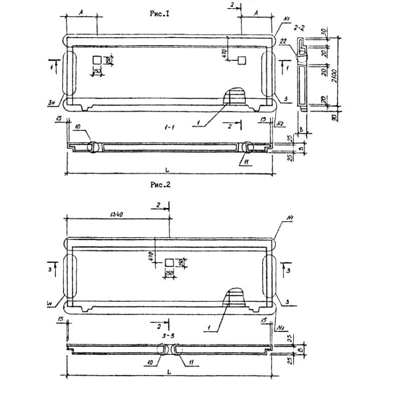
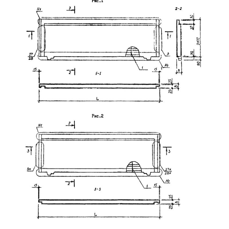
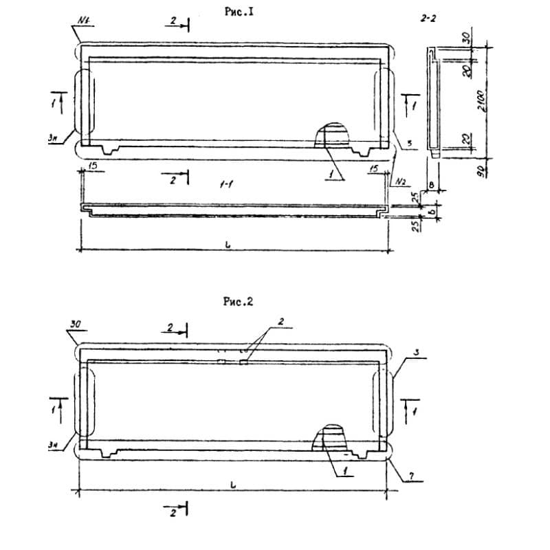
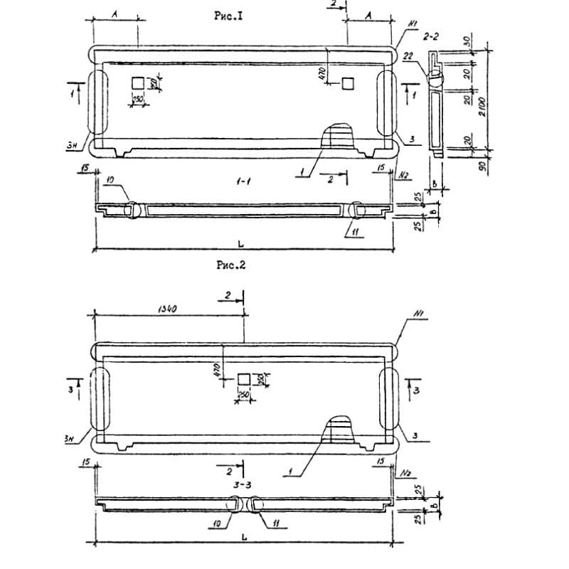
Серия 1.090.1-6сп

250x2100x71901ПСЦ 72-21-2,5 псп
Цена по запросу

250x2100x71901ПСЦ 72-21-2,5 псп-1
Цена по запросу

300x2100x71901ПСЦ 72-21-3,0 псп
Цена по запросу

300x2100x71901ПСЦ 72-21-3,0 псп-1
Цена по запросу

250x2100x29902ПСЦ 30-21-2,5 псп
Цена по запросу

250x2100x29902ПСЦ 30-21-2,5 псп-1
Цена по запросу

300x2100x29902ПСЦ 30-21-3,0 псп
Цена по запросу

300x2100x29902ПСЦ 30-21-3,0 псп-1
Цена по запросу

250x2100x31652ПСЦ 32-21-2,5 псп
Цена по запросу

250x2100x31652ПСЦ 32-21-2,5 псп-1
Цена по запросу

300x2100x32152ПСЦ 32-21-3,0 псп
Цена по запросу

300x2100x32152ПСЦ 32-21-3,0 псп-1
Цена по запросу