Каталог по сериям
Выбрана серия: Шифр 1481
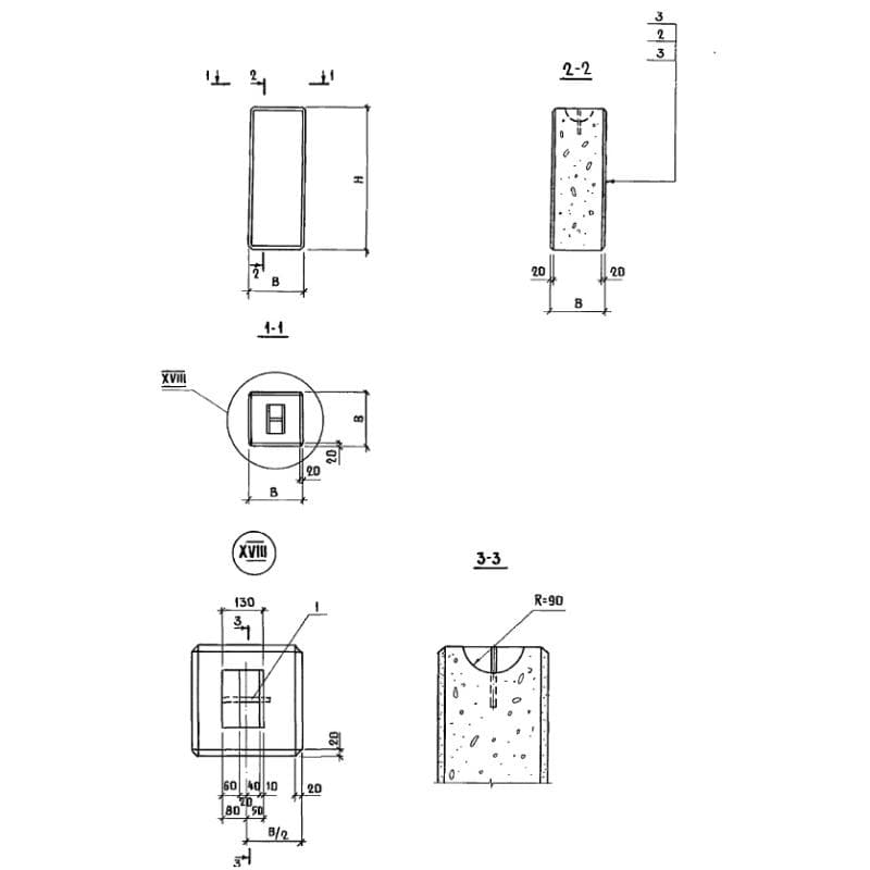
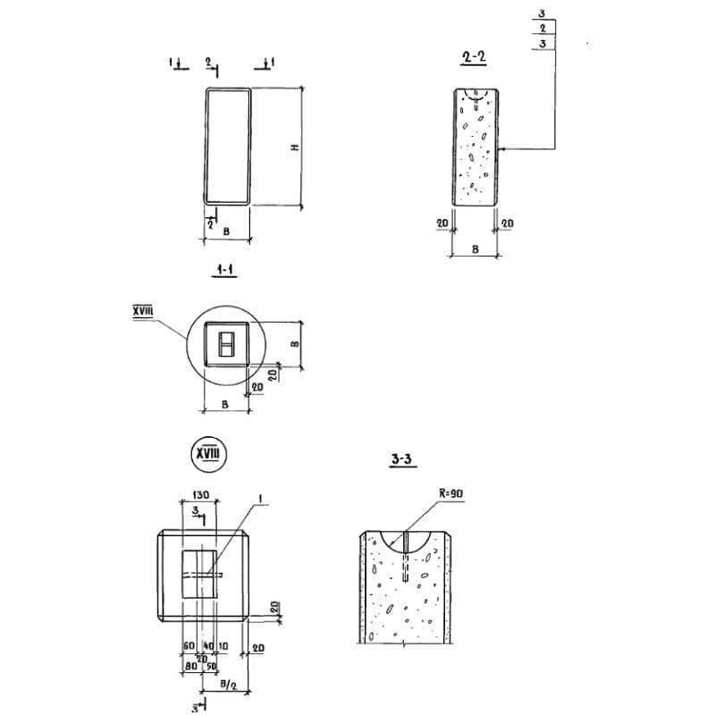
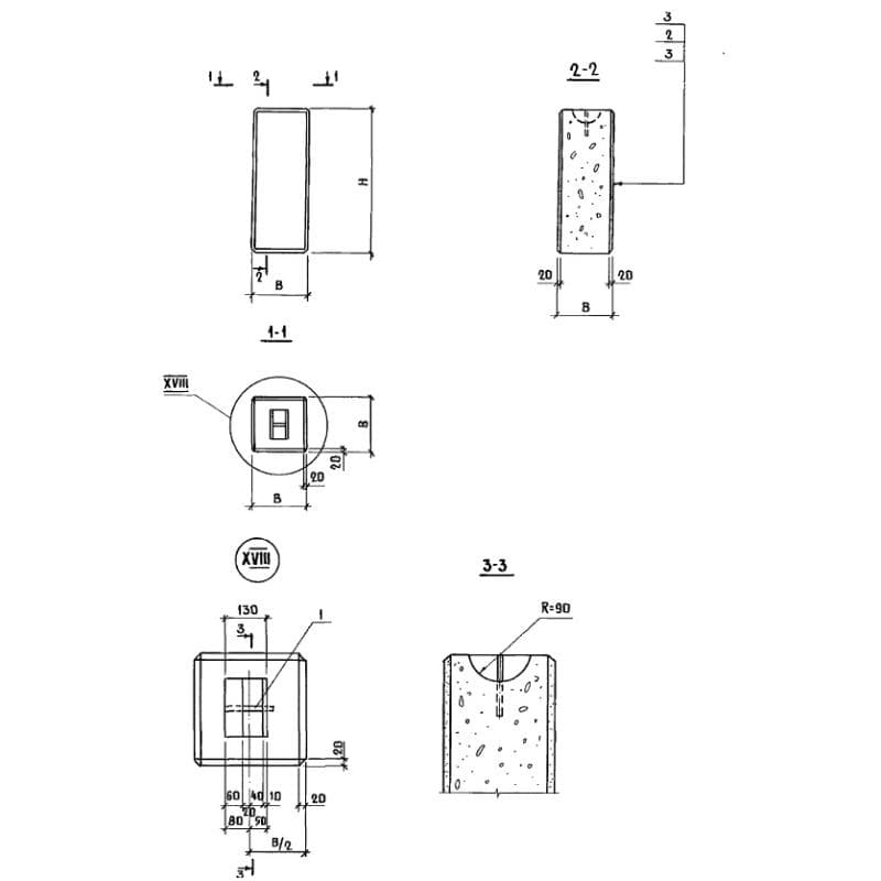
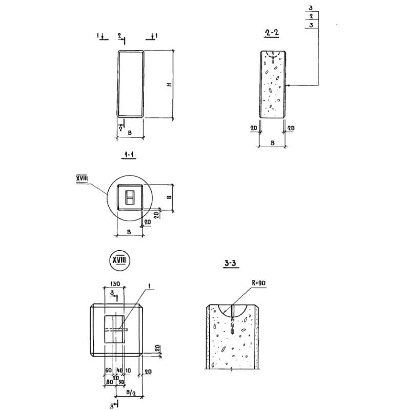
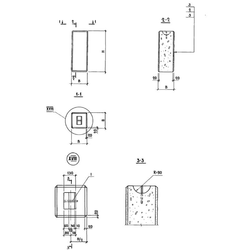
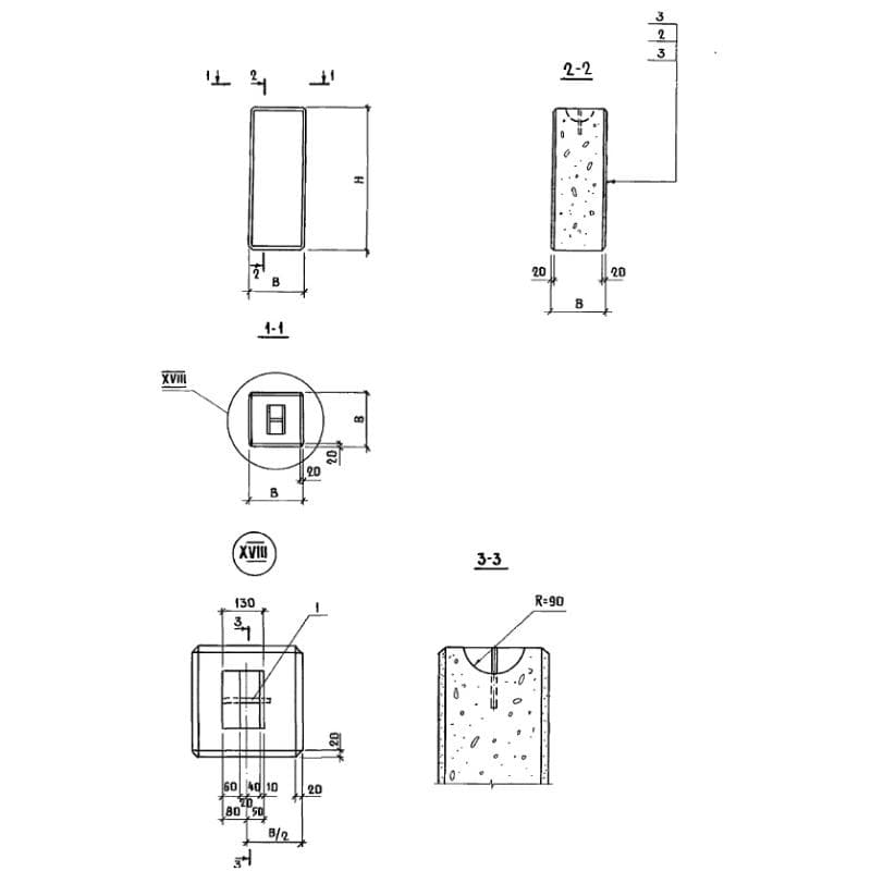
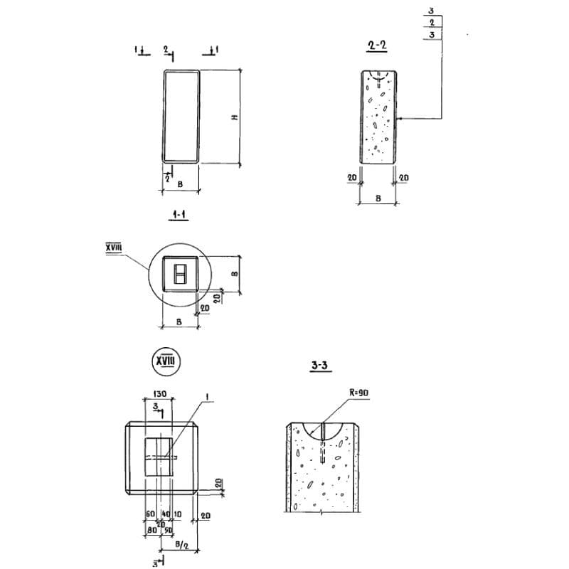
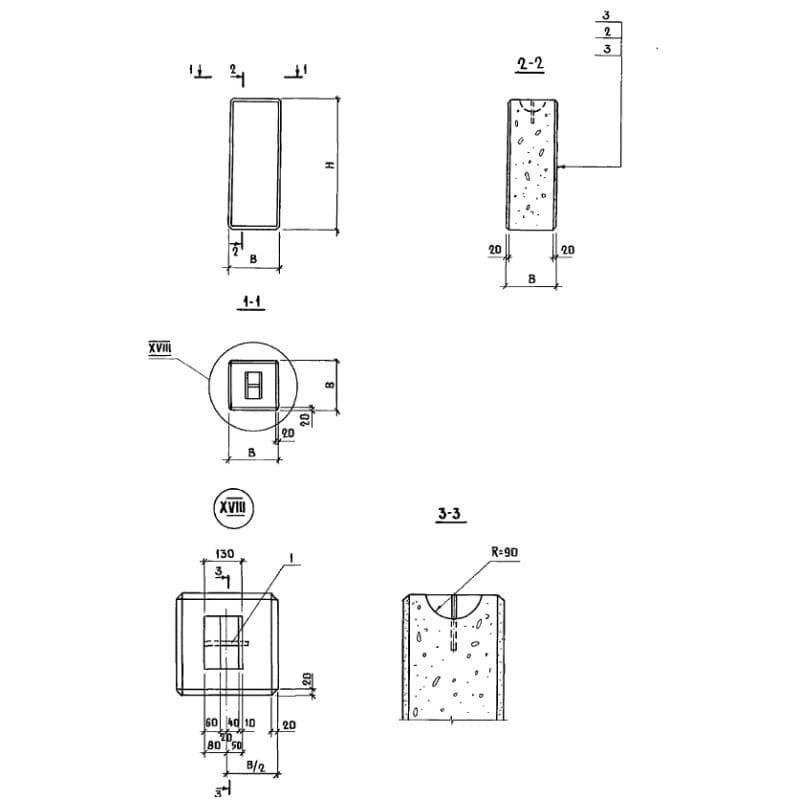
Шифр 1481

340x1780x340УБ 18-34 (Шифр 1481)
Цена по запросу

390x1780x390УБ 18-39 (Шифр 1481)
Цена по запросу

440x1780x440УБ 18-44 (Шифр 1481)
Цена по запросу

240x580x240УБ 6-24 (Шифр 1481)
Цена по запросу

580x290x580УБ 6-29 (Шифр 1481)
Цена по запросу

340x580x340УБ 6-34 (Шифр 1481)
Цена по запросу

390x580x390УБ 6-39 (Шифр 1481)
Цена по запросу

440x580x440УБ 6-44 (Шифр 1481)
Цена по запросу

490x580x490УБ 6-49 (Шифр 1481)
Цена по запросу

540x580x540УБ 6-54 (Шифр 1481)
Цена по запросу

590x580x590УБ 6-59 (Шифр 1481)
Цена по запросу

240x240x880УБ 9-24 (Шифр 1481)
Цена по запросу