Каталог по сериям
Выбрана серия: Серия 1.141-1
Серия 1.141-1

1490x220x2780ПК 28-15-8
Цена по запросу

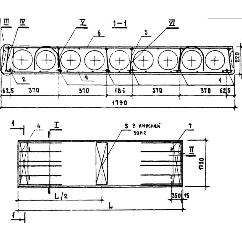
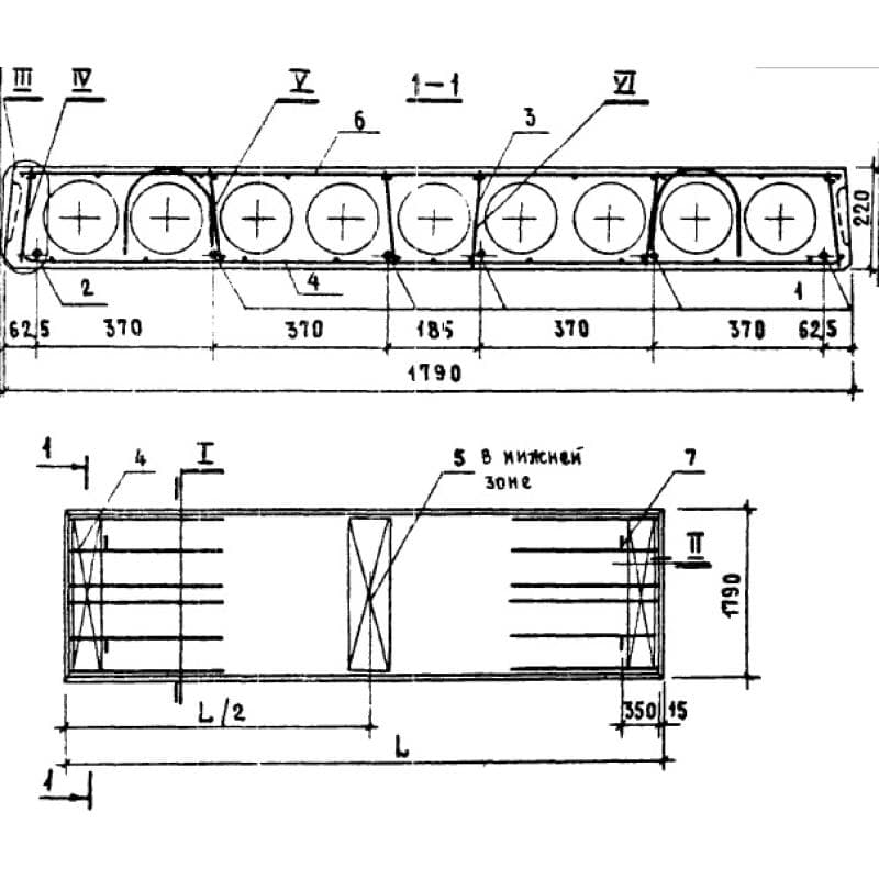
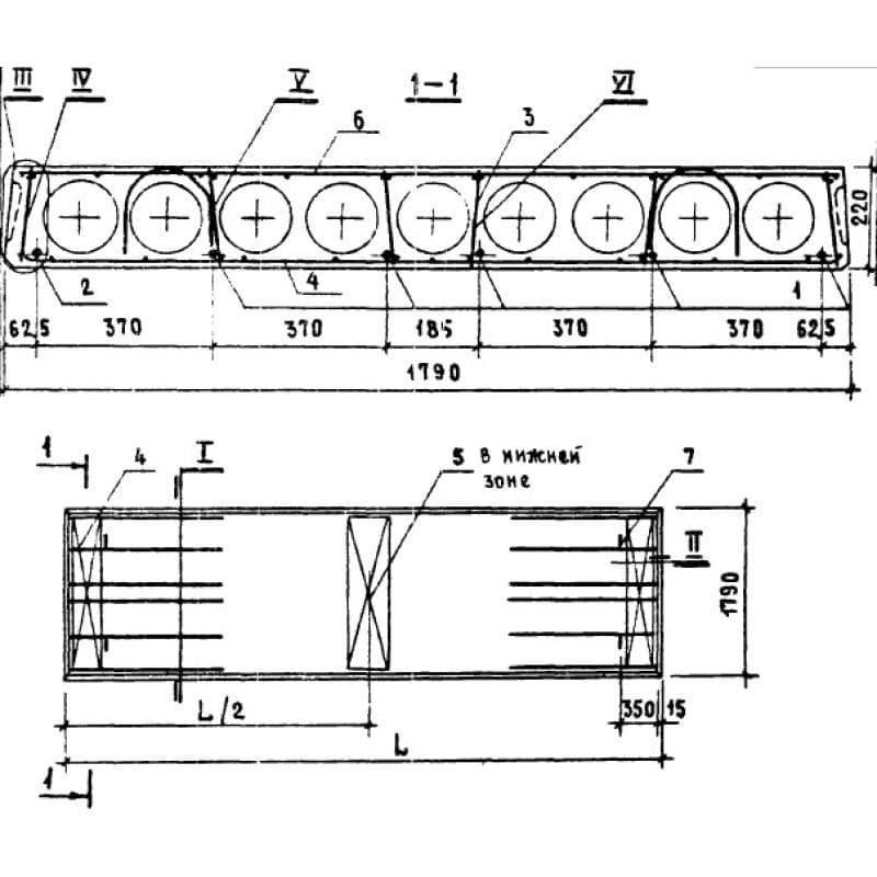
1790x220x2780ПК 28-18-8
Цена по запросу

990x220x2880ПК 29-10-8
Цена по запросу

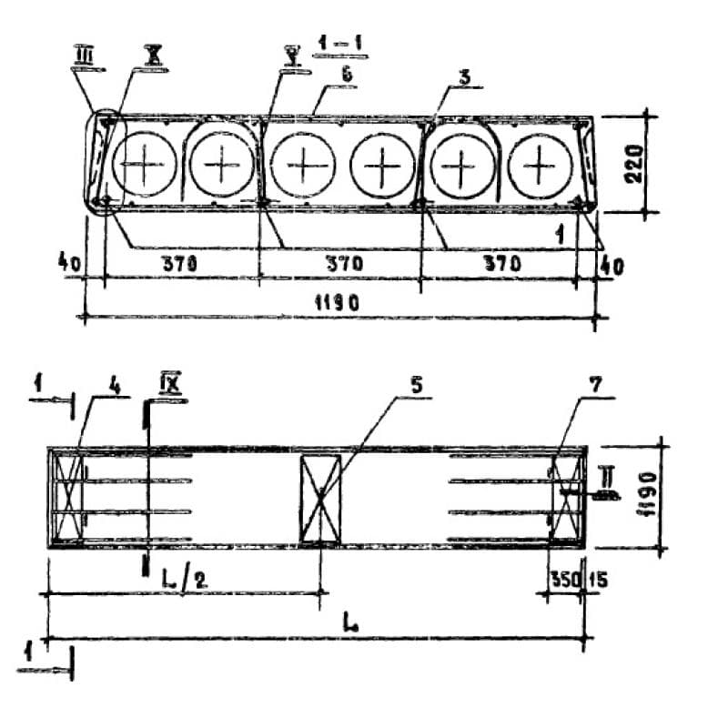
1190x220x2880ПК 29-12-8
Цена по запросу

1490x220x2880ПК 29-15-8
Цена по запросу

1790x220x2880ПК 29-18-8
Цена по запросу

1790x220x5080ПК 3-51-18
Цена по запросу

1790x220x5080ПК 3-51-18 а
Цена по запросу

1190x220x5380ПК 3-54-12
Цена по запросу

1190x220x5380ПК 3-54-12 а
Цена по запросу

1790x220x5380ПК 3-54-18
Цена по запросу

1790x220x5380ПК 3-54-18 а
Цена по запросу