Каталог по сериям
Выбрана серия: Серия 1.030.1-1/88
Серия 1.030.1-1/88

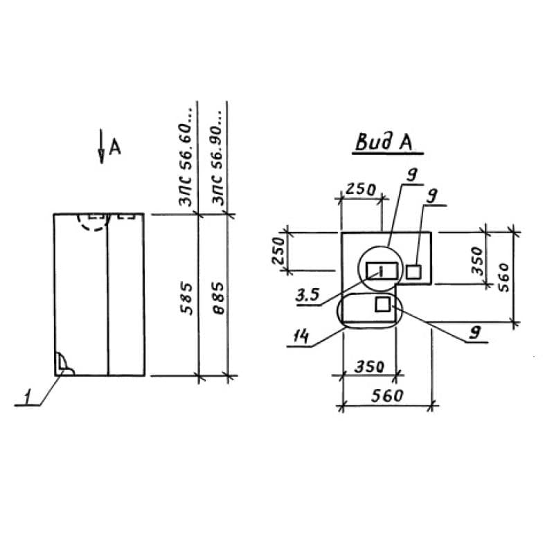
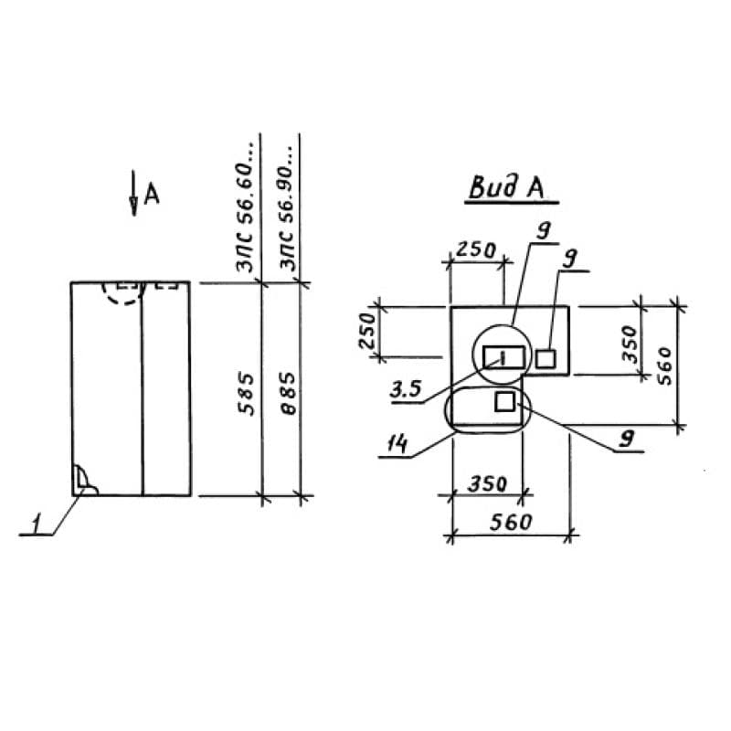
560x885x5603ПС 56-90-35 л
Цена по запросу

560x885x5603ПС 56-90-40 л
Цена по запросу

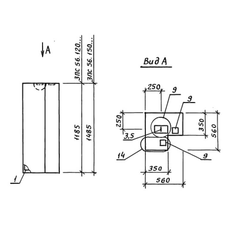
560x1185x5603ПС 6-12-3,5 л
Цена по запросу

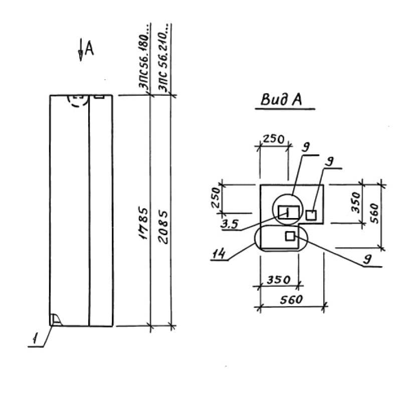
560x1785x5603ПС 6-18-3,5 л
Цена по запросу

560x885x5603ПС 6-9-3,5 л
Цена по запросу

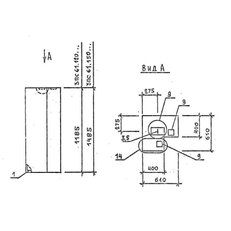
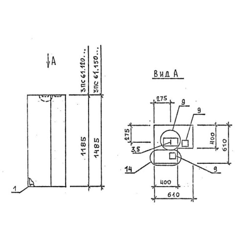
610x1185x6103ПС 61-120-40 л
Цена по запросу

610x1485x6103ПС 61-150-40 л
Цена по запросу

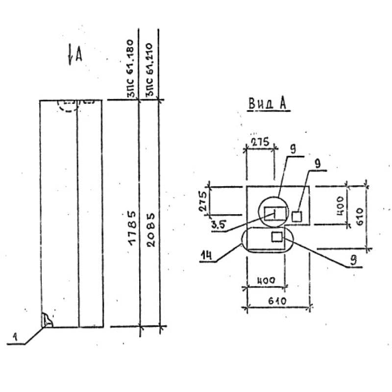
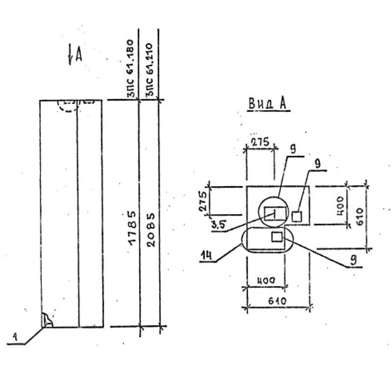
610x1785x6103ПС 61-180-40 л
Цена по запросу

610x2085x6103ПС 61-210-40 л
Цена по запросу

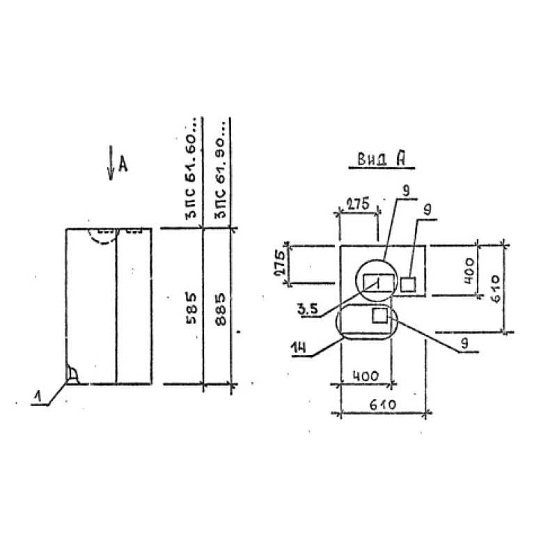
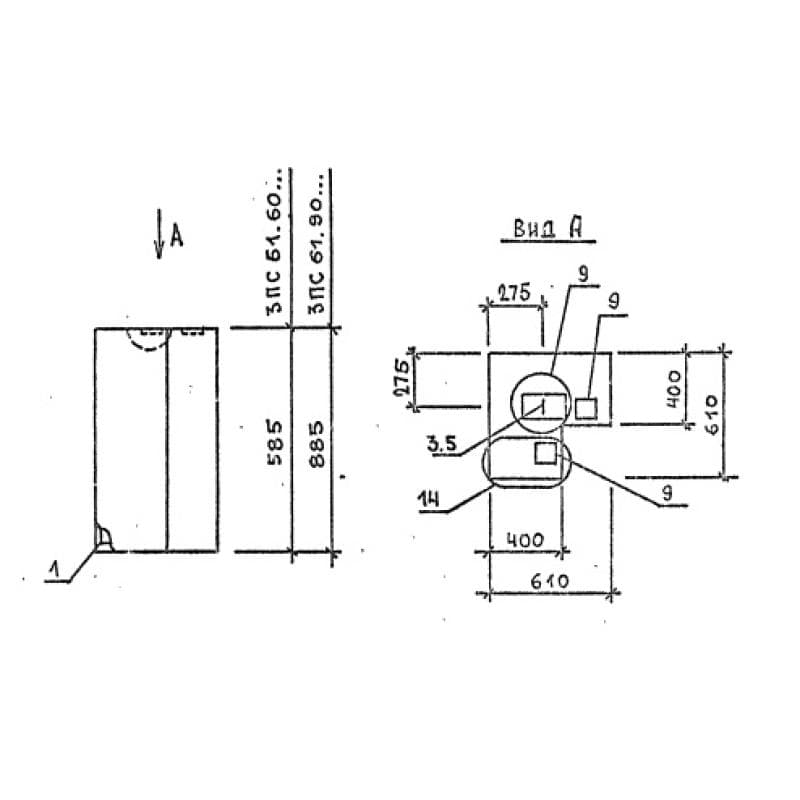
610x585x6103ПС 61-60-40 л
Цена по запросу

610x885x6103ПС 61-90-40 л
Цена по запросу

1020x215x30304ПК 31-10 т
Цена по запросу