Каталог по сериям
Выбрана серия: Серия 1.141-1
Серия 1.141-1

990x220x5980ПК 8-60-10 ВрII
Цена по запросу

990x220x5980ПК 8-60-10 ВрII а
Цена по запросу

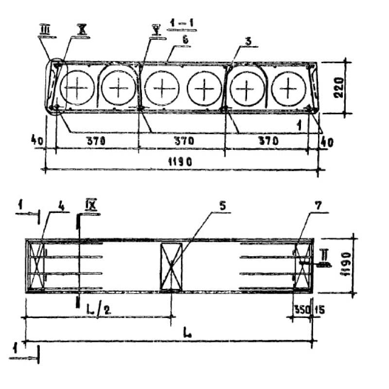
1190x220x5980ПК 8-60-12
Цена по запросу

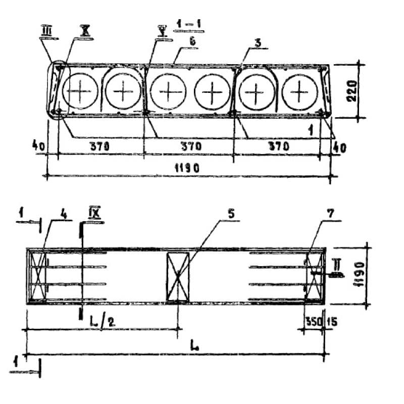
1190x220x5980ПК 8-60-12 а
Цена по запросу

1190x220x5980ПК 8-60-12 ВрII
Цена по запросу

1190x220x5980ПК 8-60-12 ВрII а
Цена по запросу

1490x220x5980ПК 8-60-15
Цена по запросу

1490x220x5980ПК 8-60-15 а
Цена по запросу

1490x220x5980ПК 8-60-15 ВрII
Цена по запросу

1490x220x5980ПК 8-60-15 ВрII а
Цена по запросу

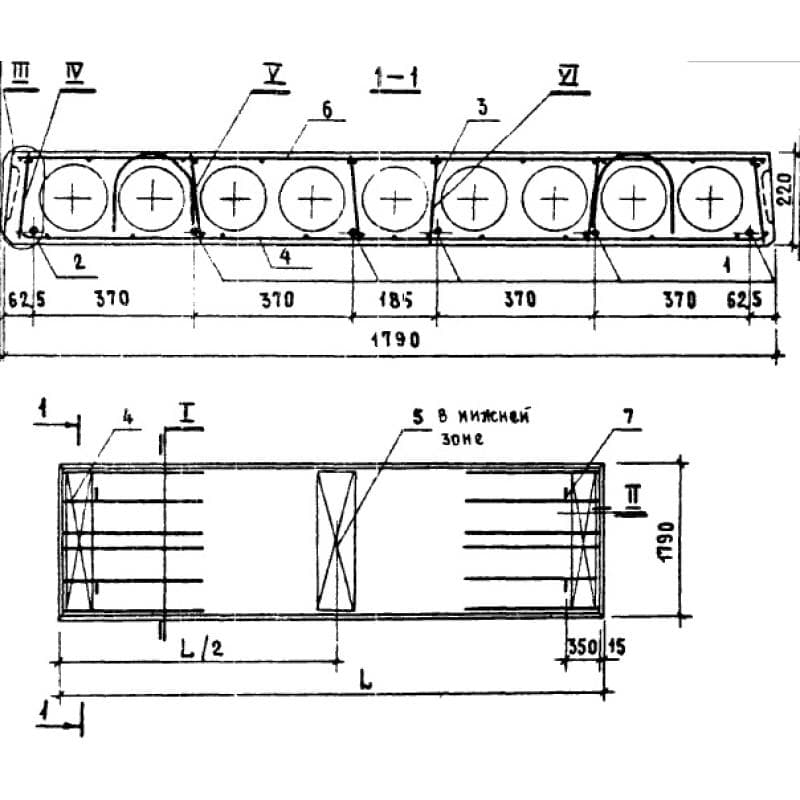
1790x220x5980ПК 8-60-18
Цена по запросу

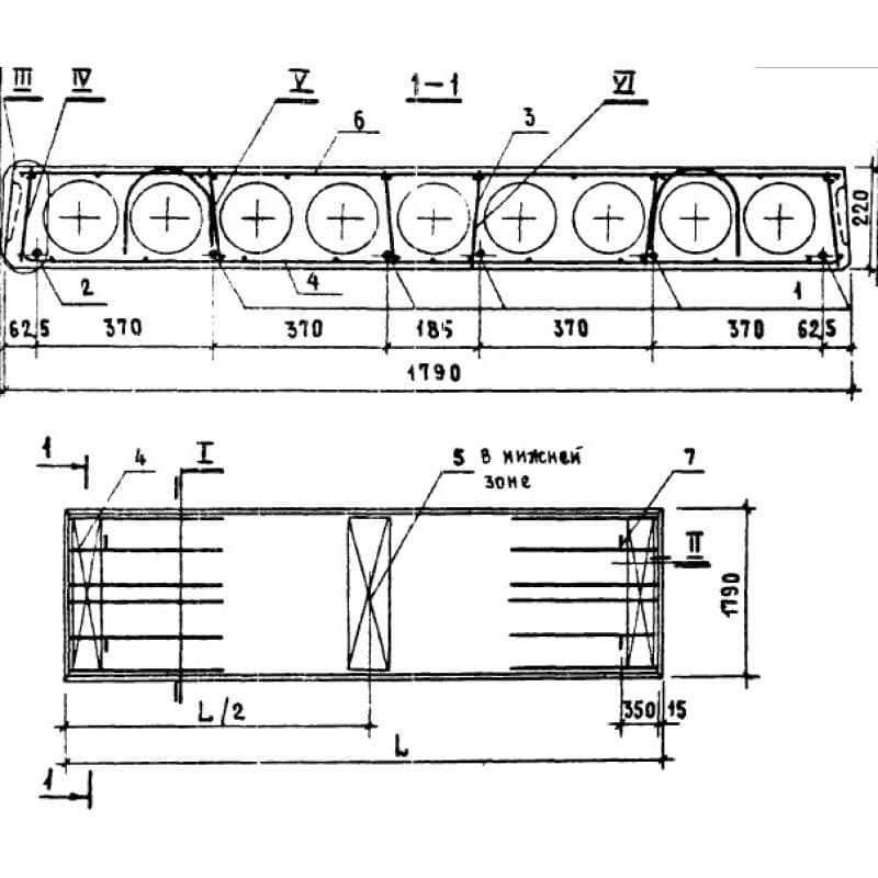
1790x220x5980ПК 8-60-18 а
Цена по запросу