Каталог по сериям
Выбрана серия: Серия 1.141-1
Серия 1.141-1

1490x220x5380ПК 8-54-15 ВрII
Цена по запросу

1490x220x5380ПК 8-54-15 ВрII а
Цена по запросу

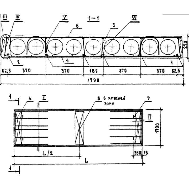
1790x220x5380ПК 8-54-18
Цена по запросу

1790x220x5380ПК 8-54-18 а
Цена по запросу

1790x220x5380ПК 8-54-18 АтV
Цена по запросу

1790x220x5380ПК 8-54-18 АтV а
Цена по запросу

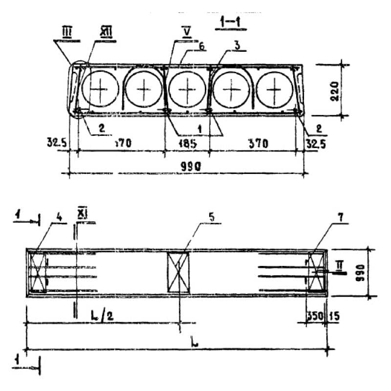
990x220x5680ПК 8-57-10
Цена по запросу

990x220x5680ПК 8-57-10 а
Цена по запросу

990x220x5680ПК 8-57-10 ВрII
Цена по запросу

990x220x5680ПК 8-57-10 ВрII а
Цена по запросу

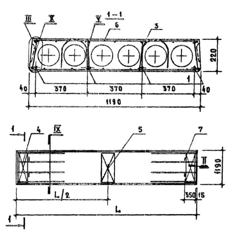
1190x220x5680ПК 8-57-12
Цена по запросу

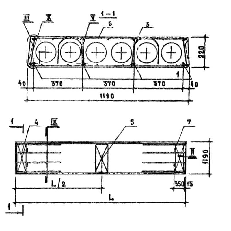
1190x220x5680ПК 8-57-12 а
Цена по запросу