Каталог по сериям
Выбрана серия: Серия 1.141-1
Серия 1.141-1

1190x220x4780ПК 8-48-12 ВрII
Цена по запросу

1190x220x4780ПК 8-48-12 ВрII а
Цена по запросу

1490x220x4780ПК 8-48-15
Цена по запросу

1490x220x4780ПК 8-48-15 а
Цена по запросу

1490x220x4780ПК 8-48-15 ВрII
Цена по запросу

1490x220x4780ПК 8-48-15 ВрII а
Цена по запросу

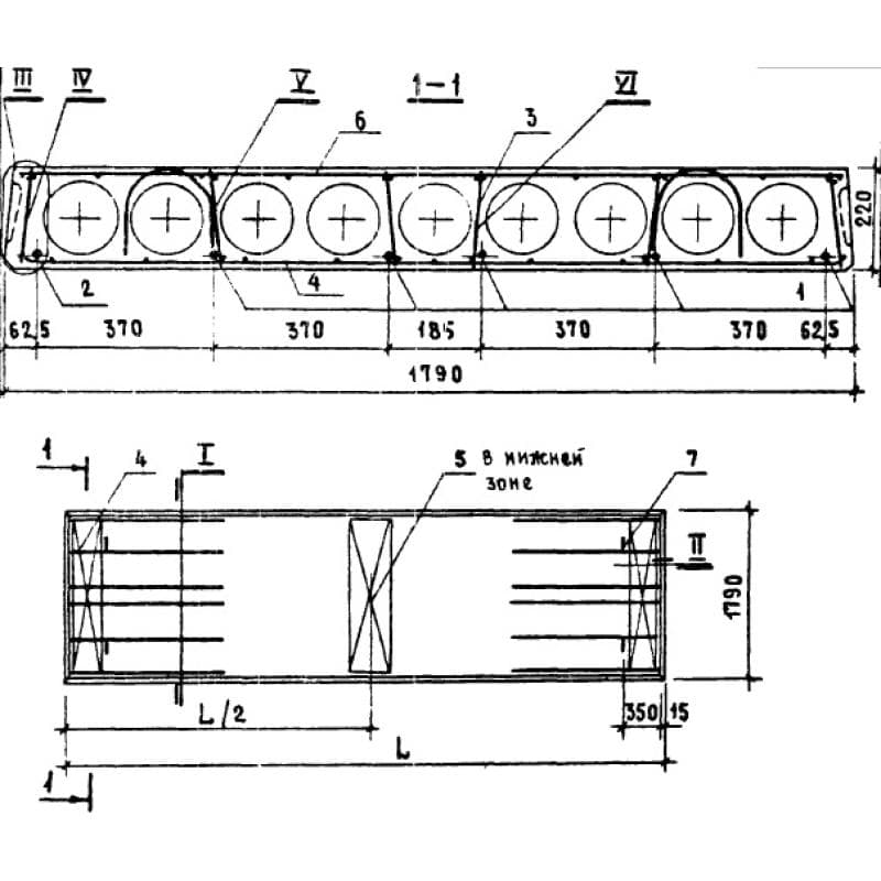
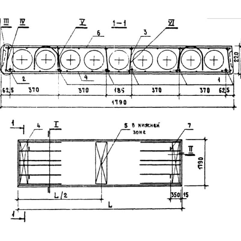
1790x220x4780ПК 8-48-18
Цена по запросу

1790x220x4780ПК 8-48-18 а
Цена по запросу

1790x220x4780ПК 8-48-18 АтV
Цена по запросу

1790x220x4780ПК 8-48-18 АтV а
Цена по запросу

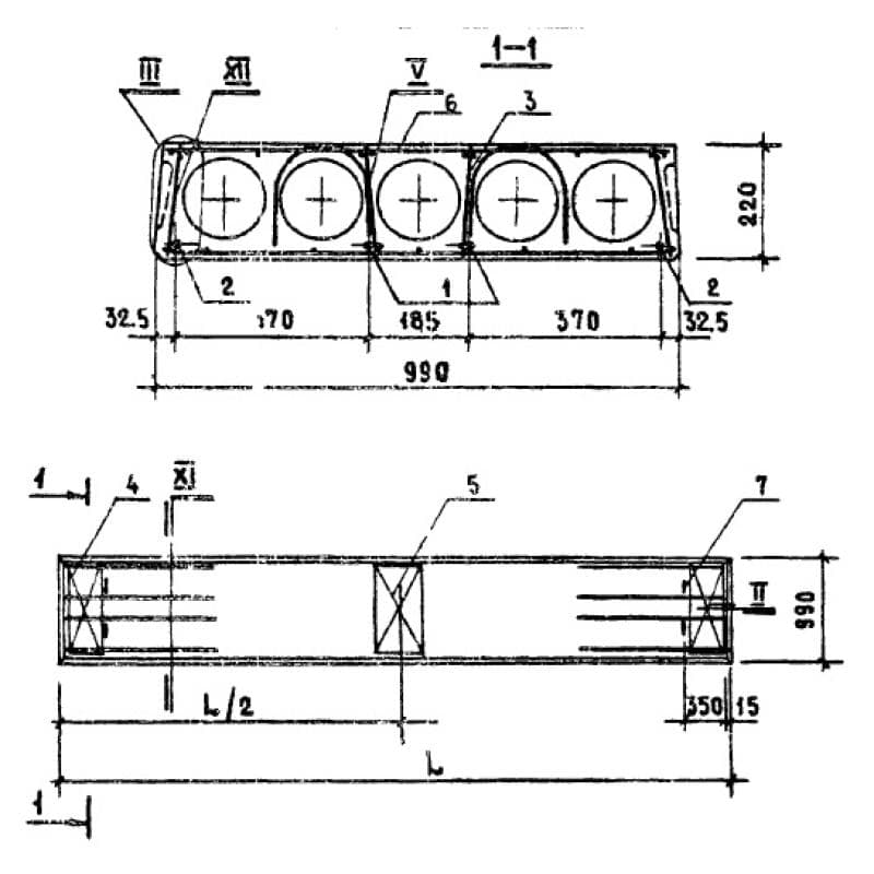
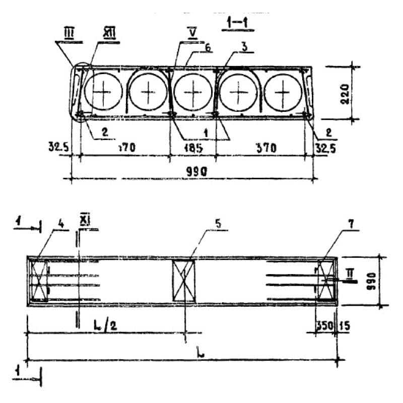
990x220x5080ПК 8-51-10
Цена по запросу

990x220x5080ПК 8-51-10 а
Цена по запросу