Каталог по сериям
Выбрана серия: ГОСТ 6785-80
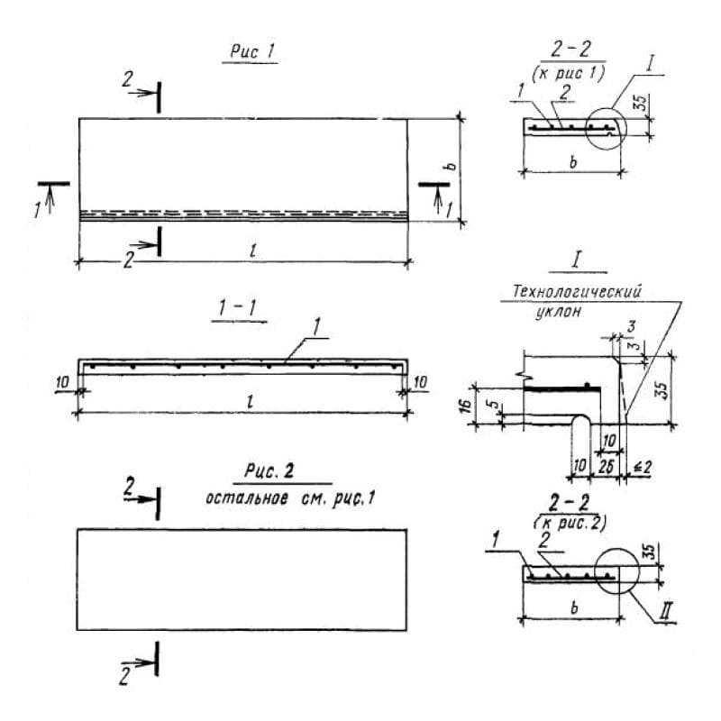
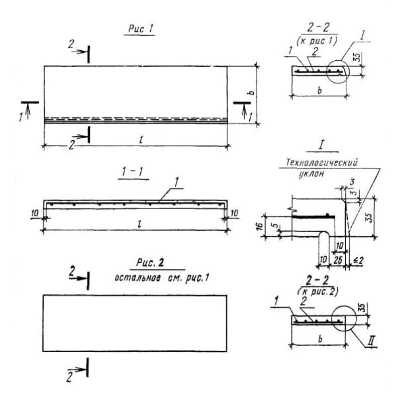
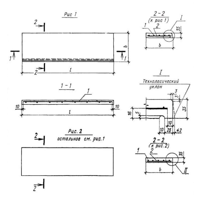
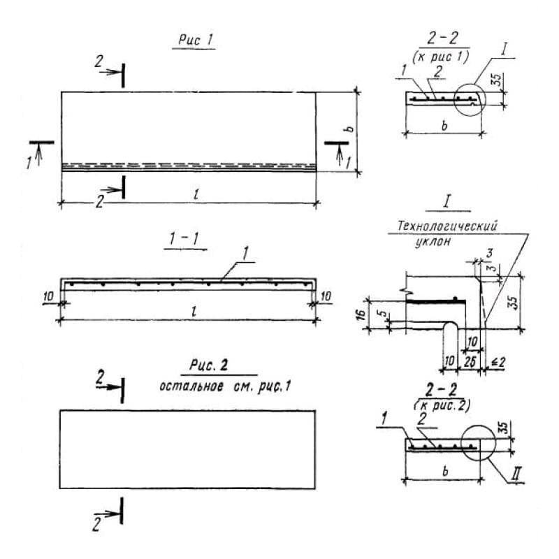
ГОСТ 6785-80

200x35x300ПОО 3-20-35
Цена по запросу

100x35x500ПОО 5-10-35
Цена по запросу

150x35x500ПОО 5-15-35
Цена по запросу

200x35x500ПОО 5-20-35
Цена по запросу

150x45x700ПОО 7-15-45 (ГОСТ 6785-80)
Цена по запросу

200x45x700ПОО 7-20-45
Цена по запросу

250x45x700ПОО 7-25-45
Цена по запросу

350x45x700ПОО 7-35-45
Цена по запросу

450x45x700ПОО 7-45-45
Цена по запросу

150x45x850ПОО 8-15-45 (ГОСТ 6785-80)
Цена по запросу

200x35x820ПОО 8-20-35
Цена по запросу

200x45x850ПОО 8-20-45
Цена по запросу