Каталог по сериям
Выбрана серия: Серия 1.138.1-17
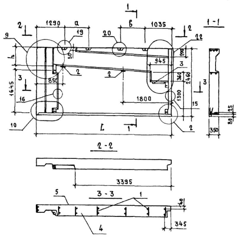
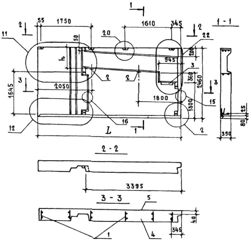
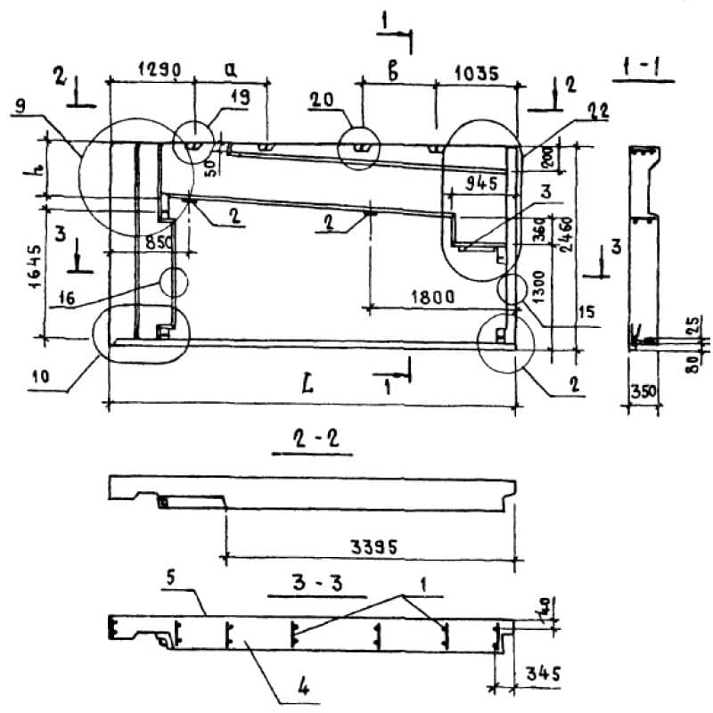
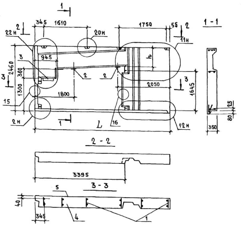
Серия 1.138.1-17

350x2380x59901НЧ 60-24-35-50 л-1,1 (1.138.1-17)
Цена по запросу

400x2380x59901НЧ 60-24-40-50 л-1,1 (1.138.1-17)
Цена по запросу

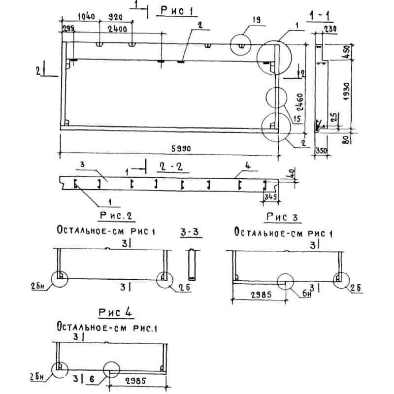
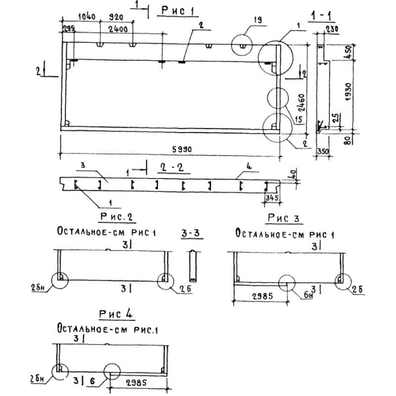
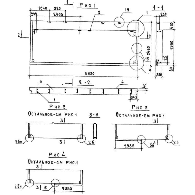
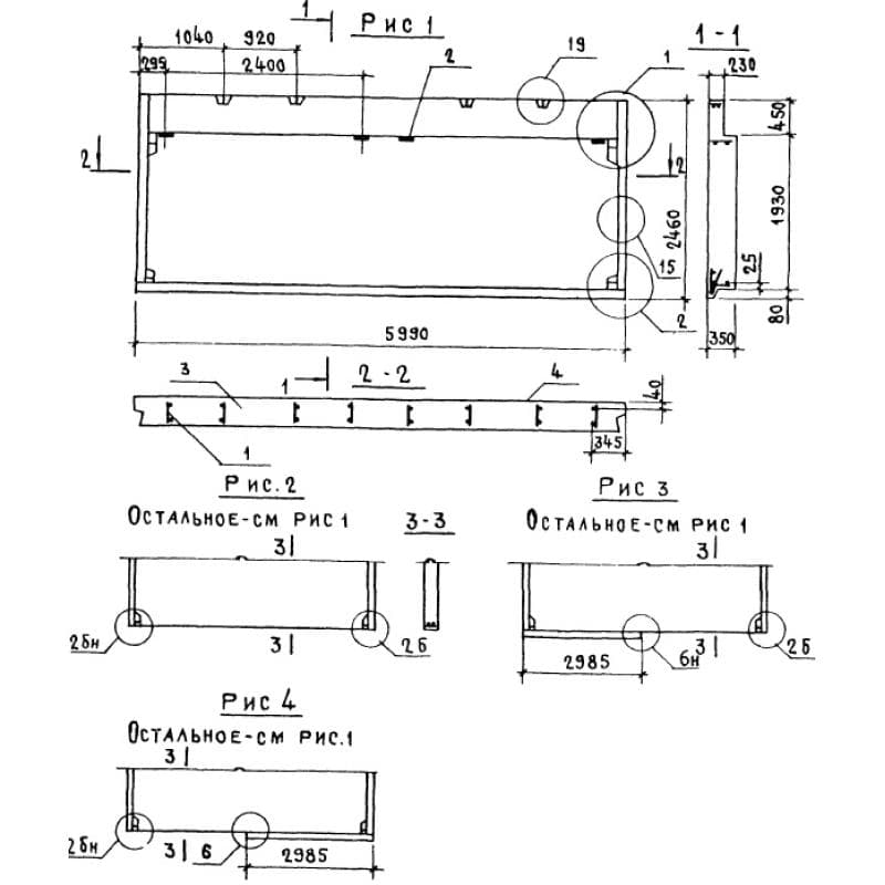
350x2460x59901НЧ 60-25-35-50 л-1,1 (1.138.1-17)
Цена по запросу

350x2460x59901НЧ 60-25-35-50 л-1,1,1 (1.138.1-17)
Цена по запросу

350x2460x59901НЧ 60-25-35-50 л-1,1,1 л (1.138.1-17)
Цена по запросу

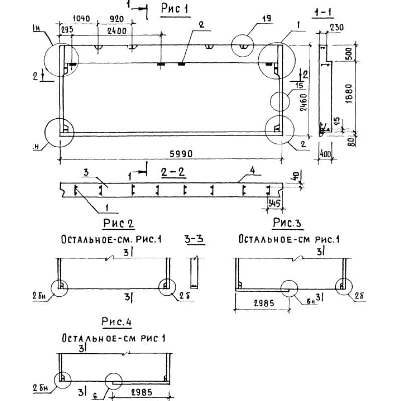
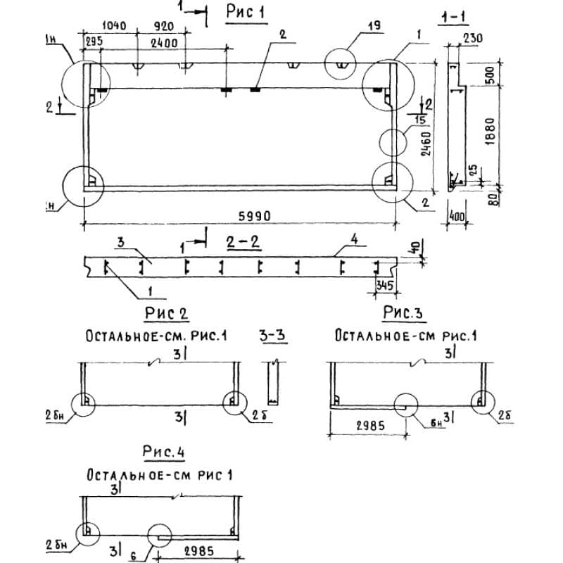
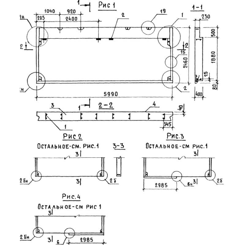
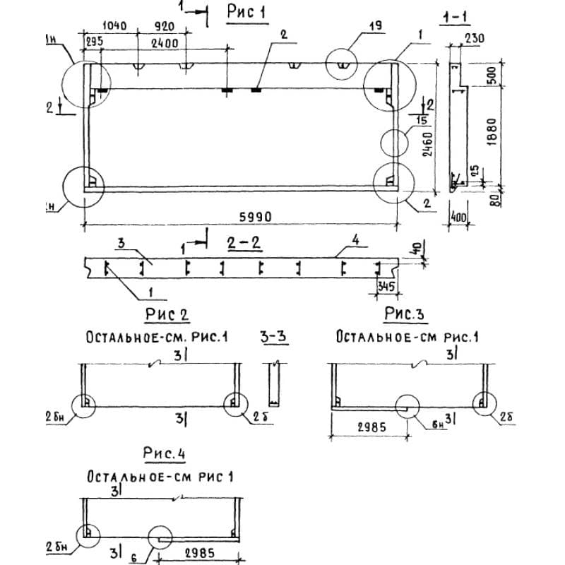
400x2460x59901НЧ 60-25-40-50 л-1,1 (1.138.1-17)
Цена по запросу

400x2460x59901НЧ 60-25-40-50 л-1,1,1 (1.138.1-17)
Цена по запросу

400x2460x59901НЧ 60-25-40-50 л-1,1,1 л (1.138.1-17)
Цена по запросу

350x2460x62451НЧ 62-25-35-50 л-4,8 (1.138.1-17)
Цена по запросу

350x2460x62451НЧ 62-25-35-50 л-6,8 (1.138.1-17)
Цена по запросу

350x2460x62451НЧ 62-25-35-50 л-8,4 (1.138.1-17)
Цена по запросу

350x2460x62451НЧ 62-25-35-50 л-8,6 (1.138.1-17)
Цена по запросу