Каталог по сериям
Выбрана серия: Серия 1.238-1
Серия 1.238-1

2790x140x1840КВ 18-28 т
Цена по запросу

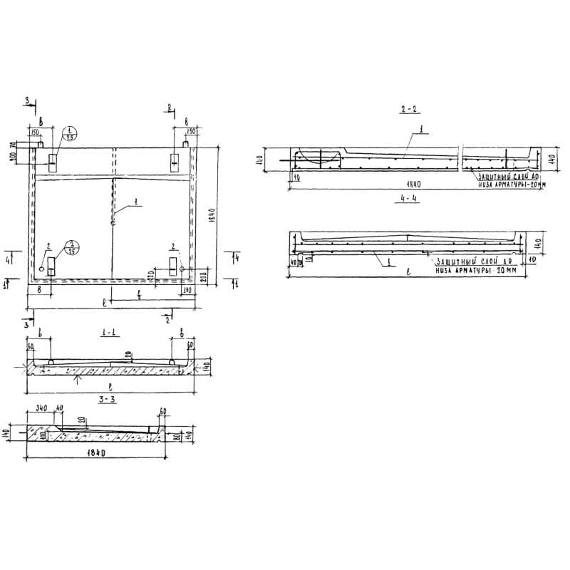
1840x140x2200КВ 22
Цена по запросу

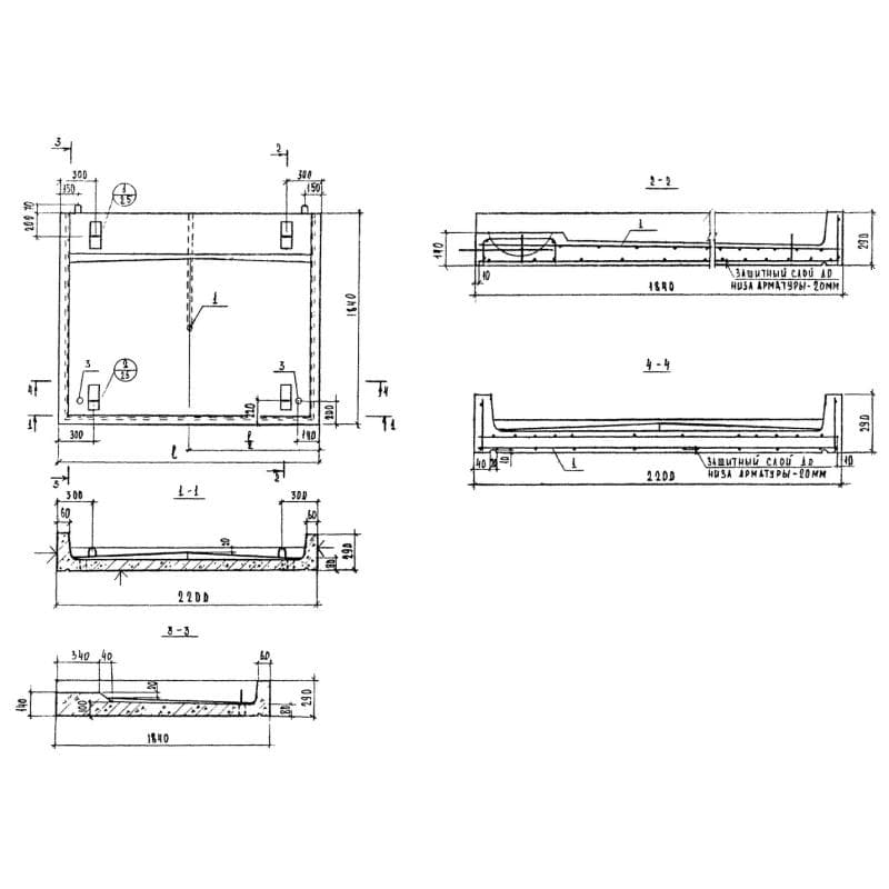
1840x140x2200КВ 22-1
Цена по запросу

1840x140x2200КВ 22-2
Цена по запросу

1880x80x2390КВ 24-19-13
Цена по запросу

1880x150x2390КВ 24-19-13-1
Цена по запросу

1880x80x2390КВ 24-19-6
Цена по запросу

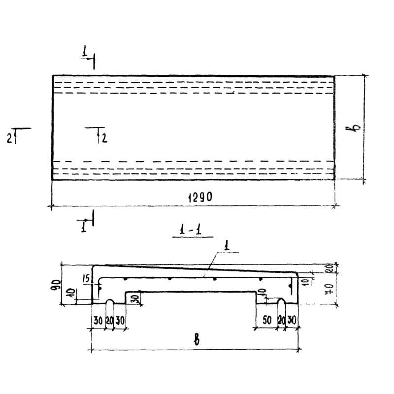
470x90x1290АП 13-5
Цена по запросу

600x90x1290АП 13-6
Цена по запросу

470x90x470АП 5-5-1
Цена по запросу

470x90x470АП 5-5-2
Цена по запросу

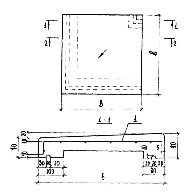
600x90x600АП 6-6-1
Цена по запросу