Каталог по сериям
Выбрана серия: ГОСТ 6785-80
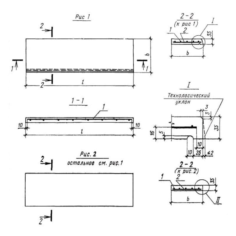
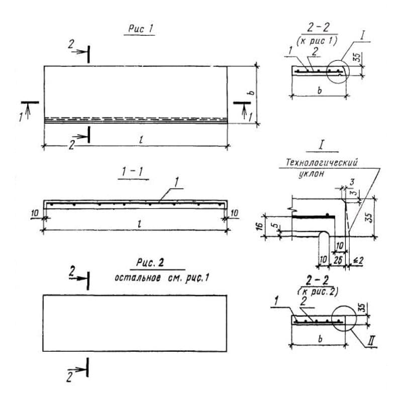
ГОСТ 6785-80

250x45x1900ПОО 19-25-45
Цена по запросу

350x45x1900ПОО 19-35-45
Цена по запросу

450x45x1900ПОО 19-45-45
Цена по запросу

150x35x2020ПОО 20-15-35
Цена по запросу

200x35x2020ПОО 20-20-35 (ГОСТ 6785-80)
Цена по запросу

250x35x2020ПОО 20-25-35 (ГОСТ 6785-80)
Цена по запросу

300x35x2020ПОО 20-30-35 (ГОСТ 6785-80)
Цена по запросу

150x45x2200ПОО 22-15-45
Цена по запросу

200x45x2200ПОО 22-20-45
Цена по запросу

250x45x2200ПОО 22-25-45
Цена по запросу

350x45x2200ПОО 22-35-45
Цена по запросу

450x45x2200ПОО 22-45-45
Цена по запросу