Каталог по сериям
Выбрана серия: ГОСТ 8484-82
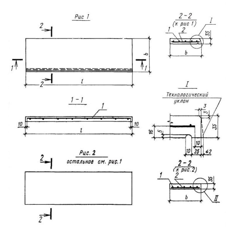
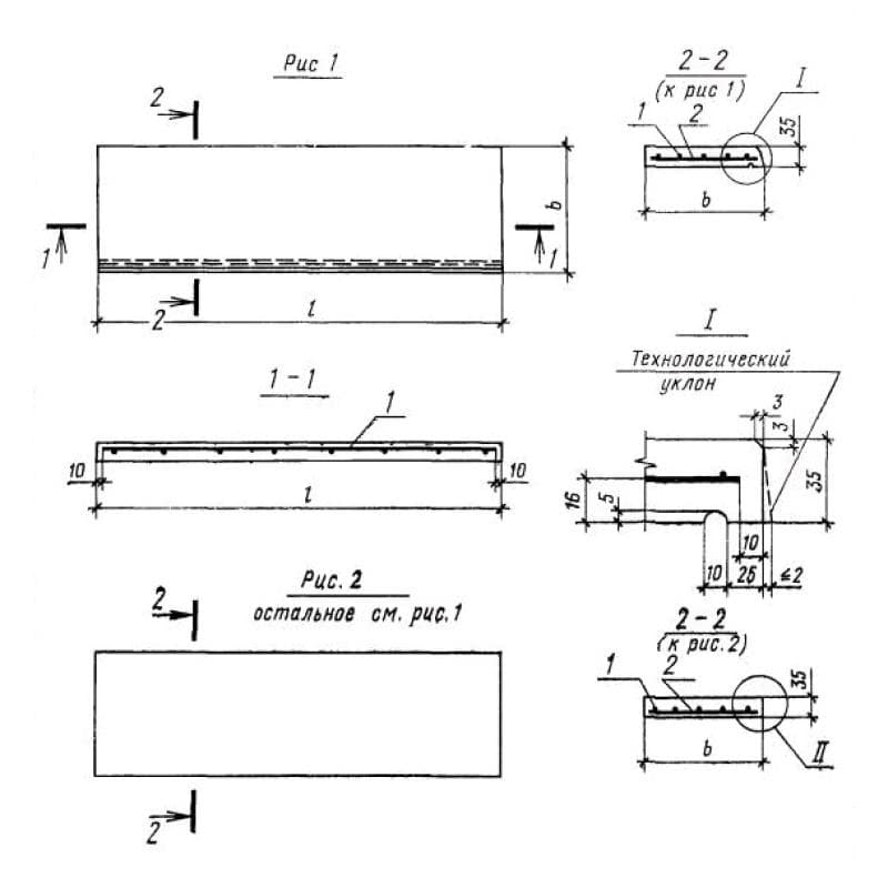
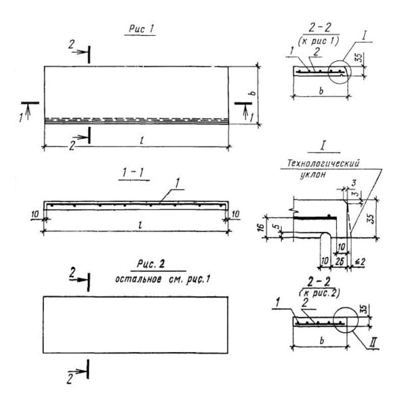
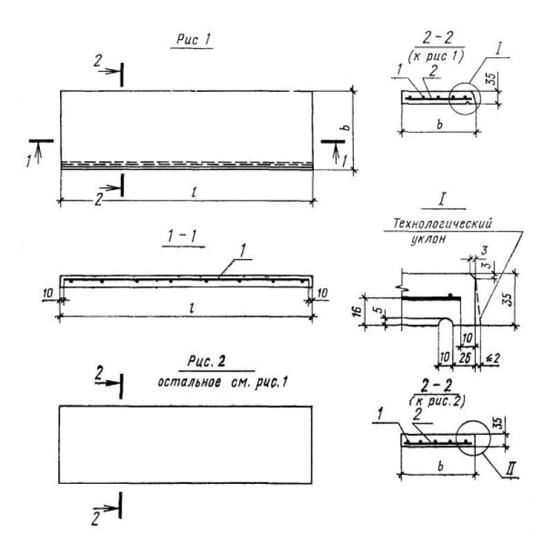
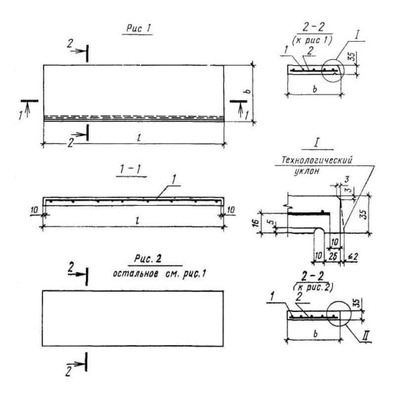
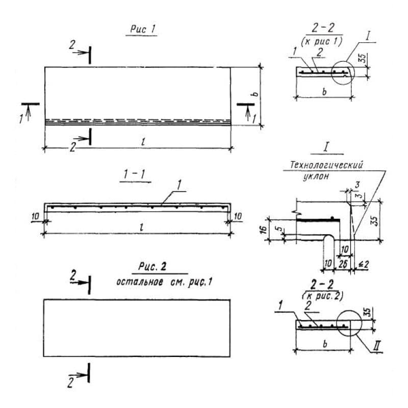
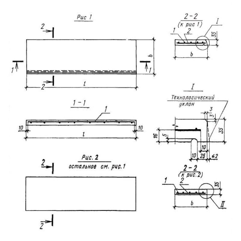
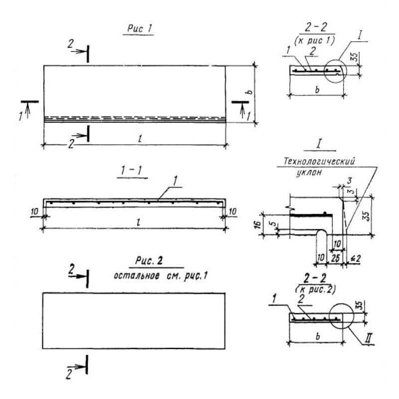
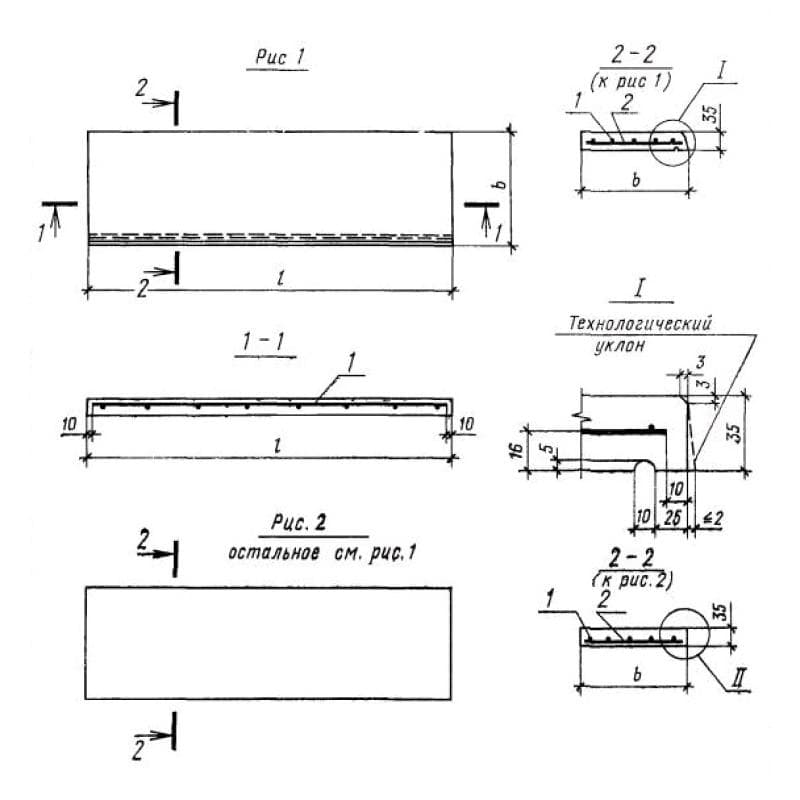
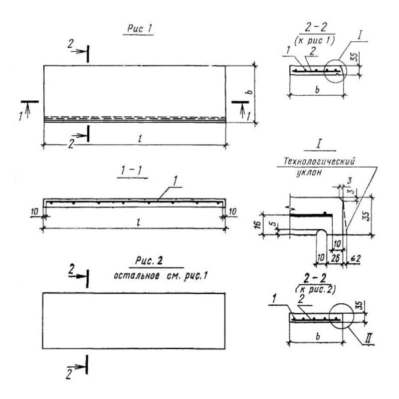
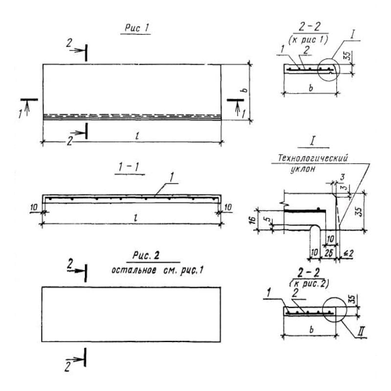
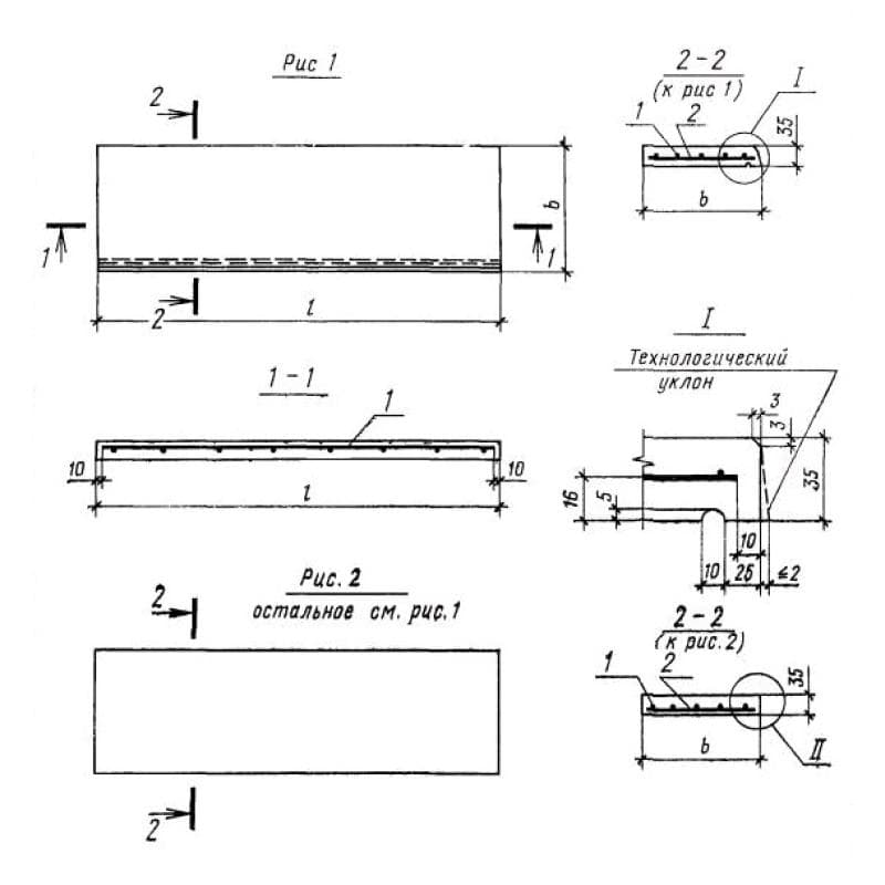
ГОСТ 8484-82

150x35x1210ПО 12-15-35
Цена по запросу

150x35x1210ПО 12-15-35 с
Цена по запросу

150x35x1210ПО 12-15-35 т
Цена по запросу

200x35x1210ПО 12-20-35
Цена по запросу

200x35x1210ПО 12-20-35 с
Цена по запросу

200x35x1210ПО 12-20-35 т
Цена по запросу

250x35x1210ПО 12-25-35
Цена по запросу

250x35x1210ПО 12-25-35 с
Цена по запросу

250x35x1210ПО 12-25-35 т
Цена по запросу

300x35x1210ПО 12-30-35
Цена по запросу

300x35x1210ПО 12-30-35 с
Цена по запросу

300x35x1210ПО 12-30-35 т
Цена по запросу