Каталог по сериям
Выбрана серия: Серия 1.134.1-11
Серия 1.134.1-11

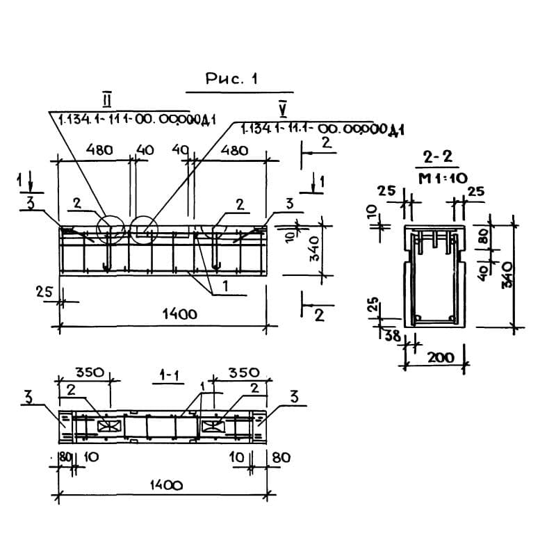
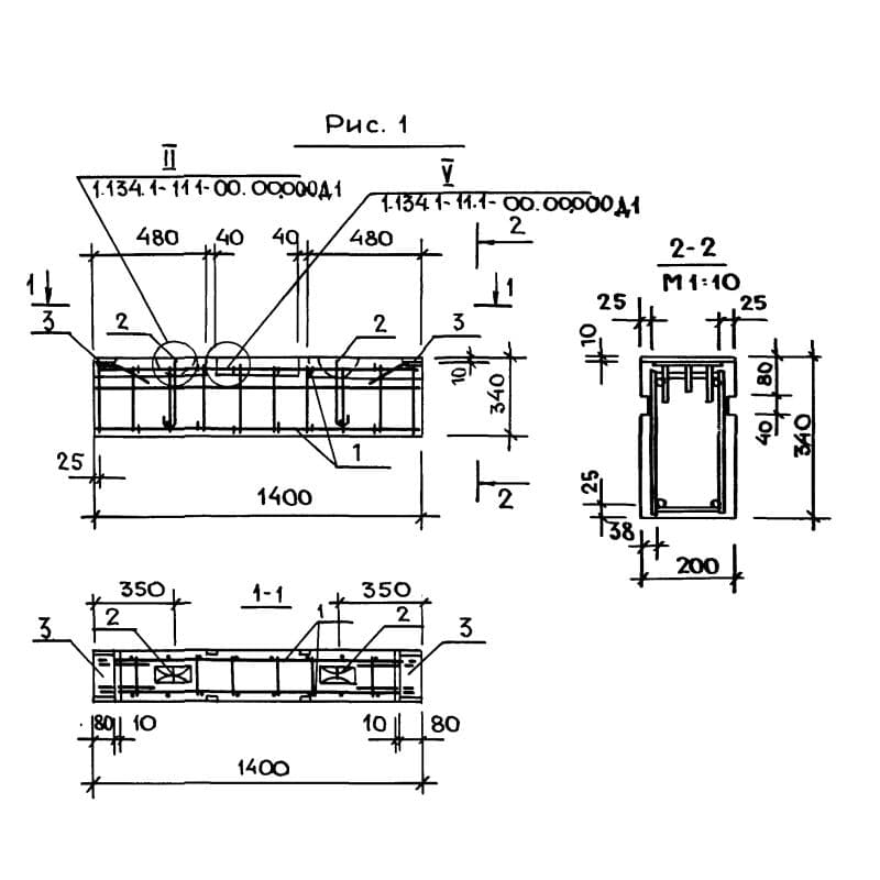
200x340x1400ВПР 14-3-2 т-5
Цена по запросу

200x340x1400ВПР 14-3-2 т-55
Цена по запросу

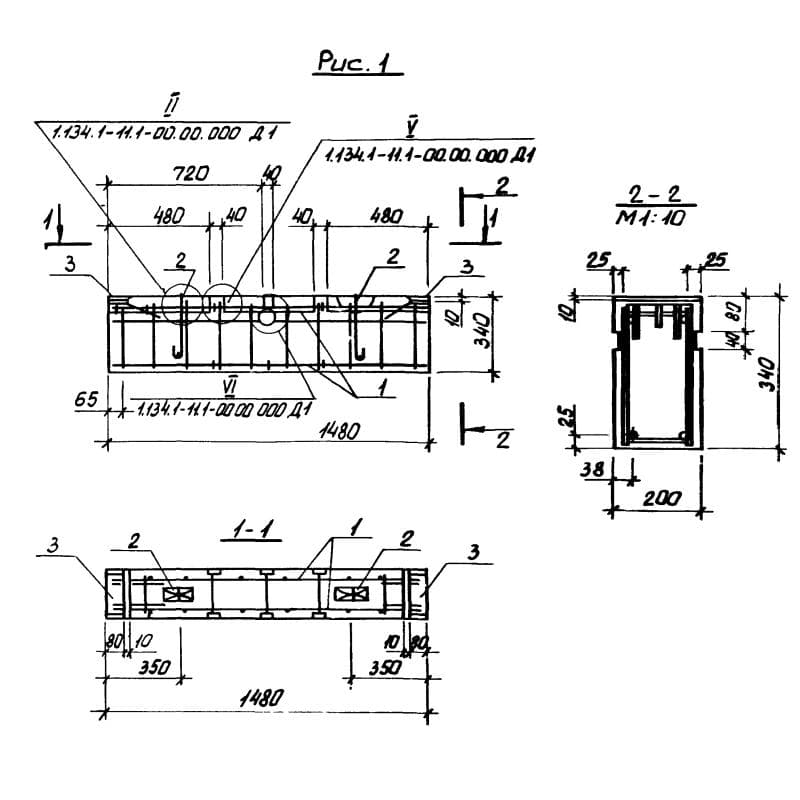
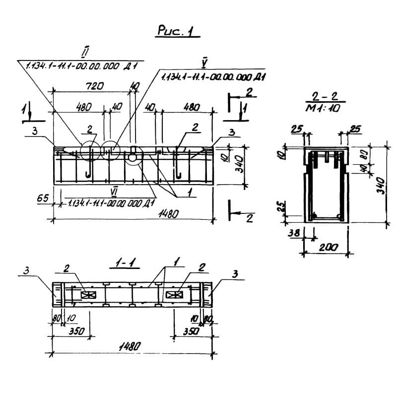
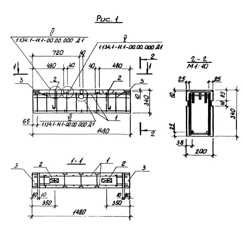
200x340x1480ВПР 15-3-2 т-5
Цена по запросу

200x340x1480ВПР 15-3-2 т-55
Цена по запросу

200x580x1480ВПР 15-6-2 т-5
Цена по запросу

200x580x1480ВПР 15-6-2 т-55
Цена по запросу

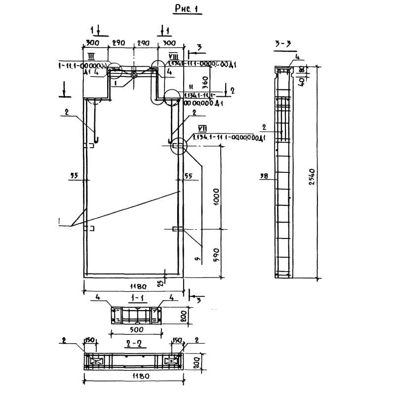
200x1180x2540СБВ 12-26-2 т-1001
Цена по запросу

200x1180x2540СБВ 12-26-2 т-10015
Цена по запросу

200x1180x2540СБВ 12-26-2 т-1002
Цена по запросу

200x1180x2540СБВ 12-26-2 т-10025
Цена по запросу

200x1180x2780СБВ 12-28-2 т-3
Цена по запросу

200x1180x2780СБВ 12-28-2 т-305
Цена по запросу