Каталог по сериям
Выбрана серия: ГОСТ 21924.0-84
ГОСТ 21924.0-84

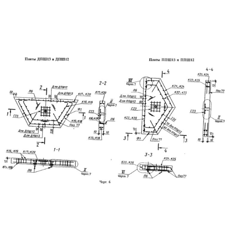
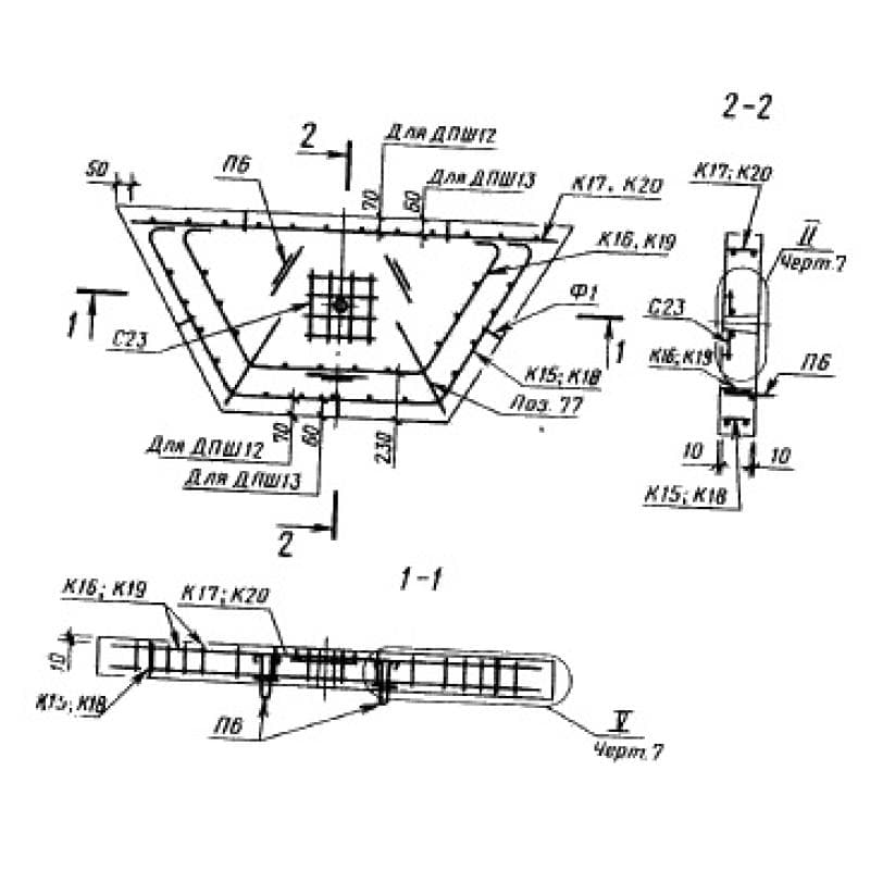
1000x180x23201ДПШ 12
Цена по запросу

1000x180x23201ДПШ 12-30
Цена по запросу

1070x180x24801ДПШ 13
Цена по запросу

1070x180x24801ДПШ 13-30
Цена по запросу

1500x160x17501П 18-15
Цена по запросу

1500x160x17501П 18-15-10
Цена по запросу

1500x160x17501П 18-15-30
Цена по запросу

1750x160x17501П 18-18
Цена по запросу

1750x160x17501П 18-18-10
Цена по запросу

1750x160x17501П 18-18-30
Цена по запросу

1750x170x30001П 30-18
Цена по запросу

1750x170x30001П 30-18-10
Цена по запросу