Каталог по сериям
Выбрана серия: Серия
Серия

1980x584x22809ЭР 42-3 (1.266.1-2)
Цена по запросу

2100x1800x1800ФБТ 3-2 (1.412-3/79)
Цена по запросу

2400x800x2400Ф 1-3-21
Цена по запросу

505x800x10980Б 30-4 пр
Цена по запросу

390x600x5560РЛТ 6-56-100 AтV
Цена по запросу

400x400x94701КБ 42-95-7
Цена по запросу

300x300x6000СЦ 60-30 к7-2
Цена по запросу

400x400x127505КН 36-128-1 н
Цена по запросу

990x220x3580ПТ 36-10 АIII
Цена по запросу

550x800x11200Р 1-15 к7-2
Цена по запросу

250x1185x44801ПС 45-12-2,5 п (1.020-1)
Цена по запросу

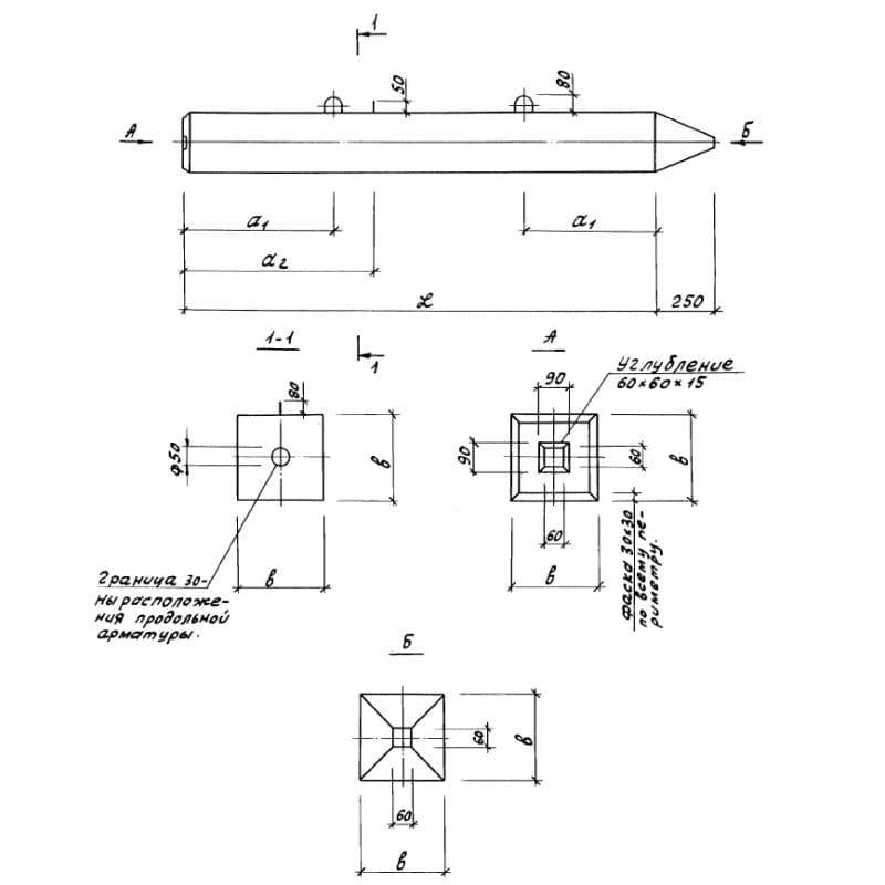
400x400x11370К 62а-5
Цена по запросу