Каталог по сериям
Выбрана серия: Серия
Серия

1780x2980x1930ШЛС 30-40,1 (1.189.1-11)
Цена по запросу

375x450x55601РОР 4-56-30 АтV (1.020-1)
Цена по запросу

200x2980x59803ПСД 6-30-20 пп (1.832.1-10)
Цена по запросу

500x400x129002КА 5-48(72)-1-1
Цена по запросу

140x3580x2160ПШЛ 63б-36-7
Цена по запросу

1790x220x4780ПК 48-18-8 АIVт
Цена по запросу

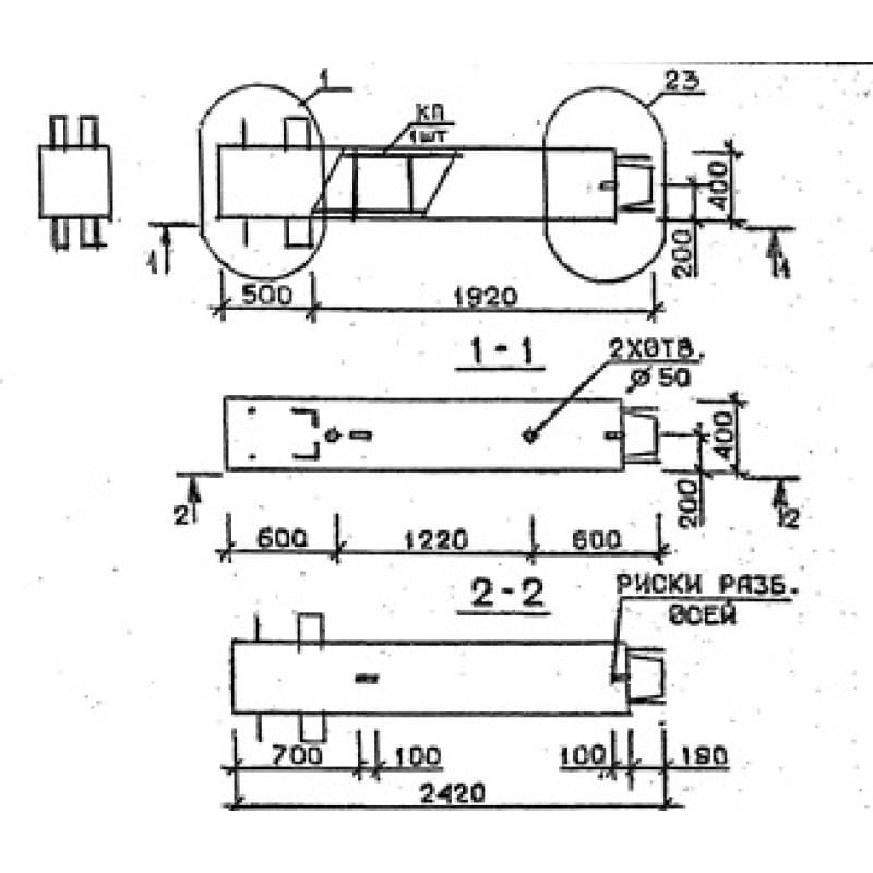
400x400x7000С 70-40-9
Цена по запросу

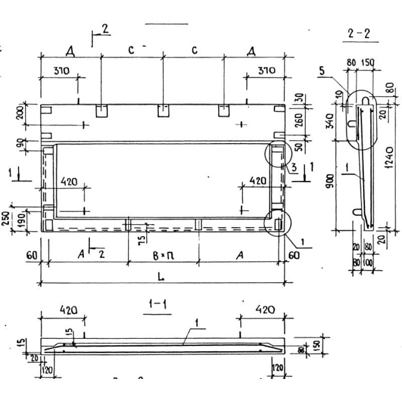
1240x150x3290ПБ 33-5
Цена по запросу

550x800x8200Р 5-11 АIV-2 с
Цена по запросу

140x2850x2560Д 26-29 пв
Цена по запросу

1490x220x3280П 4,5-33-15-22
Цена по запросу

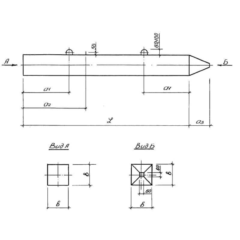
400x400x24201КВ 33-24-5 с
Цена по запросу