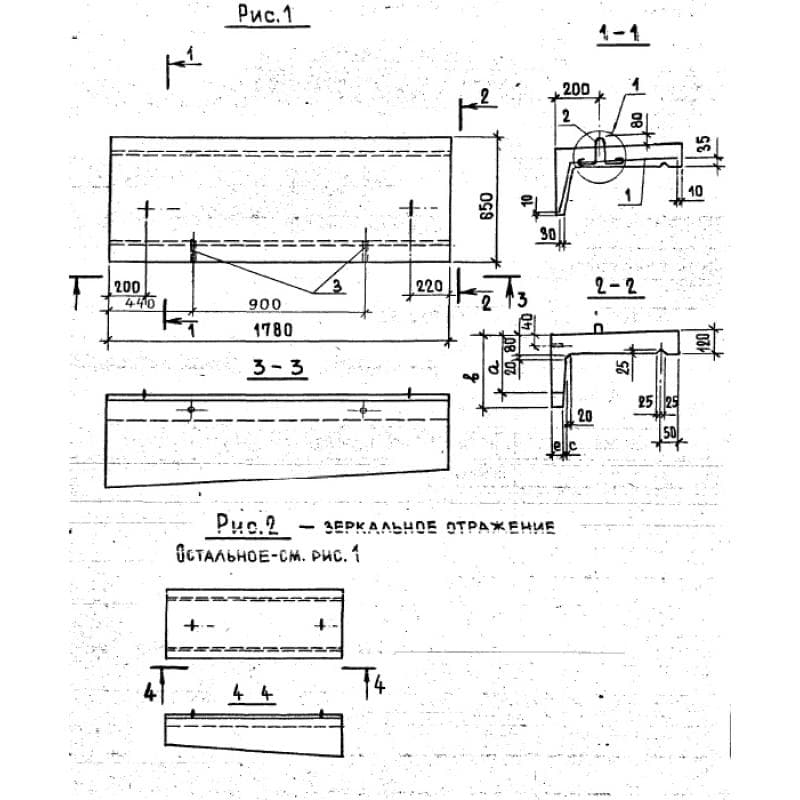
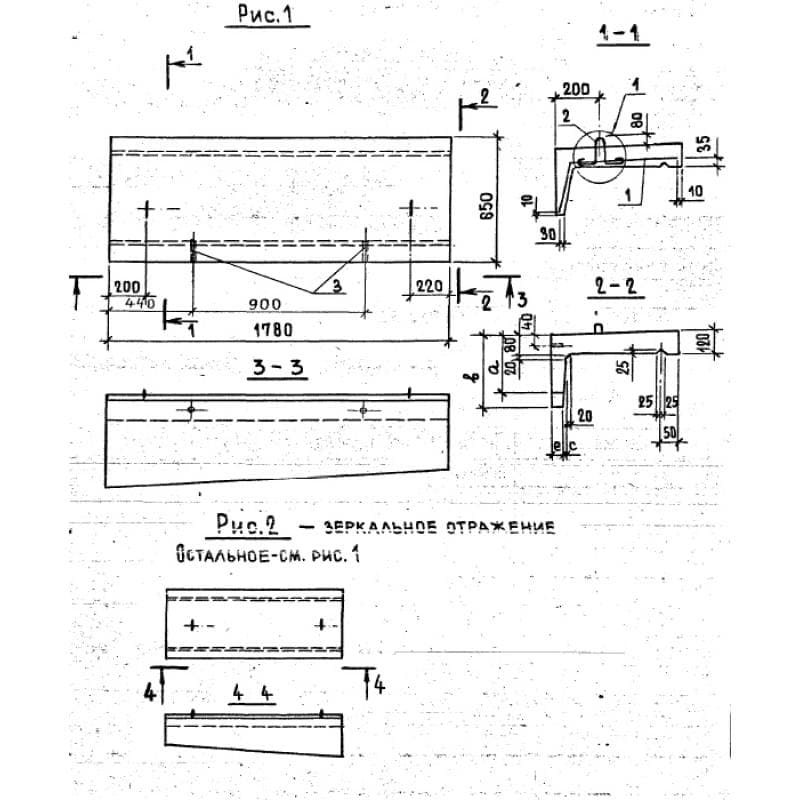
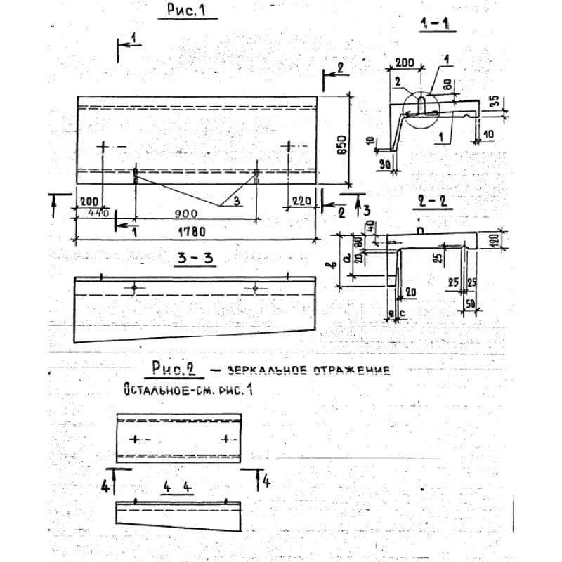
Каталог по сериям

Выбрана серия: Серия 1.169.1-1