Каталог по сериям
Выбрана серия: Серия
Серия

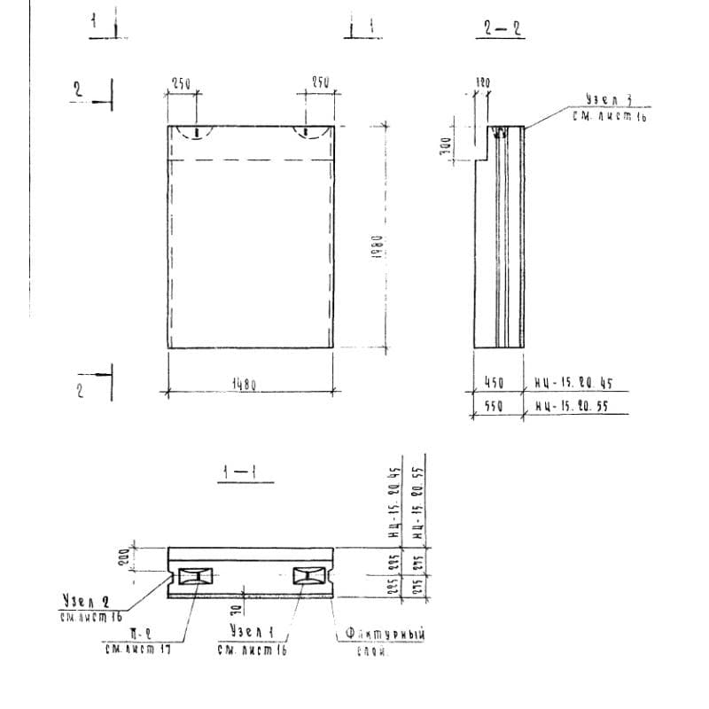
550x1980x1480НЦ 15-20-55
Цена по запросу

1190x160x4780ПНО 4-48-12 АтIVс
Цена по запросу

1500x1500x2400Р 7-3 (1.411.1-7)
Цена по запросу

990x220x2860ПК 29-10-3 ВрIт с8а (1.141.1-29с)
Цена по запросу

400x400x42001КСО 42-00-3-32-00
Цена по запросу

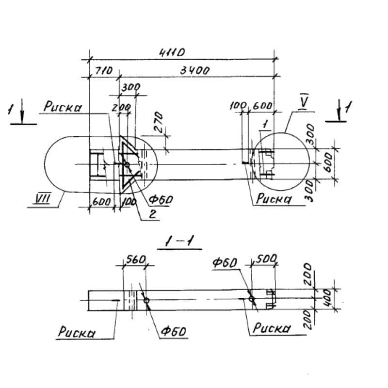
600x400x4110К 22-4 с
Цена по запросу

500x400x123002КБ 5-60(60)-9-1
Цена по запросу

1490x300x59702ПВ 6-3 АтVскт-4 п
Цена по запросу

650x800x7980ИБ 4-2
Цена по запросу

550x800x5200Р 7-4-2 с
Цена по запросу

280x890x119601БО 12-1
Цена по запросу

160x2610x5860ПСВ 59-26-16-12,5 т-1,3-1
Цена по запросу