Каталог по сериям
Выбрана серия: Серия
Серия

200x885x5980ПСЯ 20-0,9-6-421 (1.432-5)
Цена по запросу

300x2700x60002ПСД 6-27-30 пткс (1.832.1-10)
Цена по запросу

3090x700x95002ВЭО 95-7 АIIIв
Цена по запросу

280x890x119602БСП 12-4 АIV п
Цена по запросу

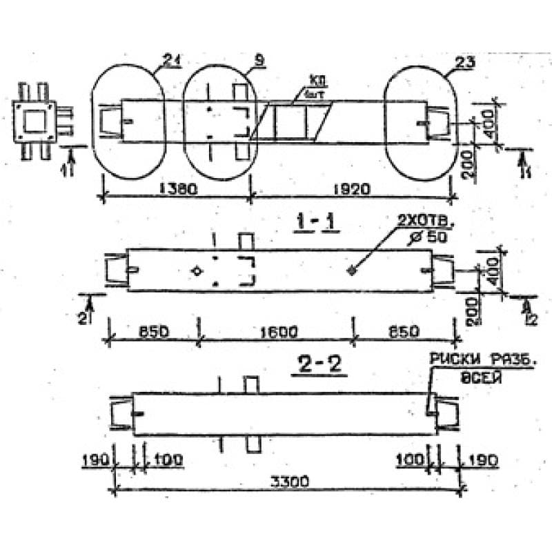
400x400x33003КС 33-33-14 с
Цена по запросу

400x400x103501КН 42-104-1 с
Цена по запросу

400x400x103205КБ 48-103-11 с
Цена по запросу

310x2670x14801НЧ 15-27-31-50 л
Цена по запросу

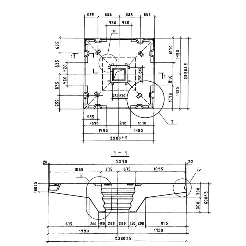
2980x600x2980КТ 1-11 с (1.420.1-24с)
Цена по запросу

400x400x5000БО 50-4-1 пв
Цена по запросу

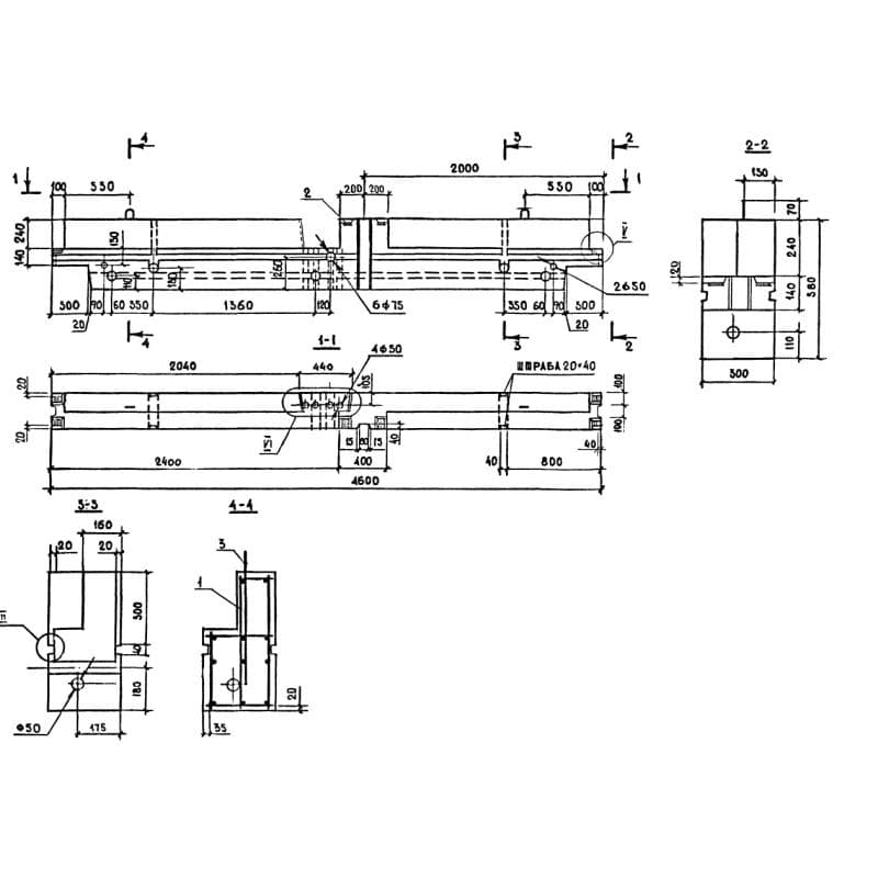
300x580x4600БВП 46-6-30-12,5-1
Цена по запросу

1790x220x62801ПК 63-18-7,5 АтVа
Цена по запросу