Каталог по сериям
Выбрана серия: Серия
Серия

300x2975x31952ПСО 32-30-3-1 пс (1.090.1-2с)
Цена по запросу

545x2980x58201ПСВл 1
Цена по запросу

400x400x9575К 20а-6-2
Цена по запросу

300x600x67601Р 68-3,6-5 АтVт-3
Цена по запросу

510x585x5103ПС 51-60-30 я
Цена по запросу

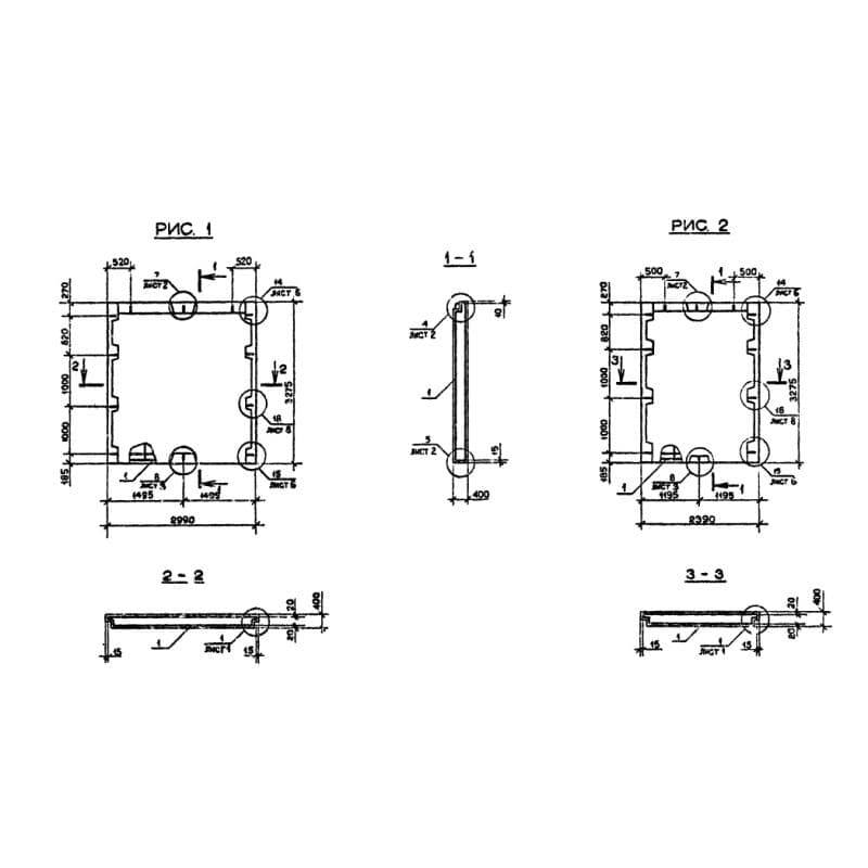
400x400x146002КНО 4-60-72-4,6
Цена по запросу

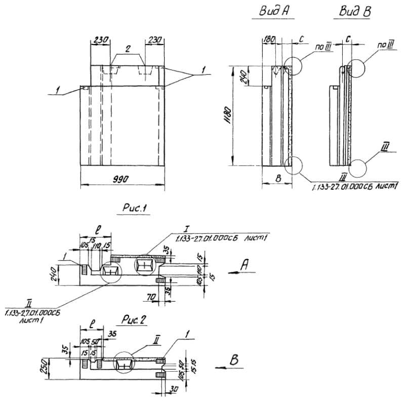
550x1180x990НЦЛ 10-12-5 па (1.133-2)
Цена по запросу

890x400x5370ПВ 54-9-40-2 я
Цена по запросу

400x3275x2990ПС 30-33-4 пс (1.090.1-2с)
Цена по запросу

500x300x8100КН 12
Цена по запросу

1790x220x52601ПК 53-18-4,5 АтIVс с8а (1.141.1-31с)
Цена по запросу

2100x1500x2400Р 6-25 (1.411.1-7)
Цена по запросу