Каталог по сериям
Выбрана серия: Серия
Серия

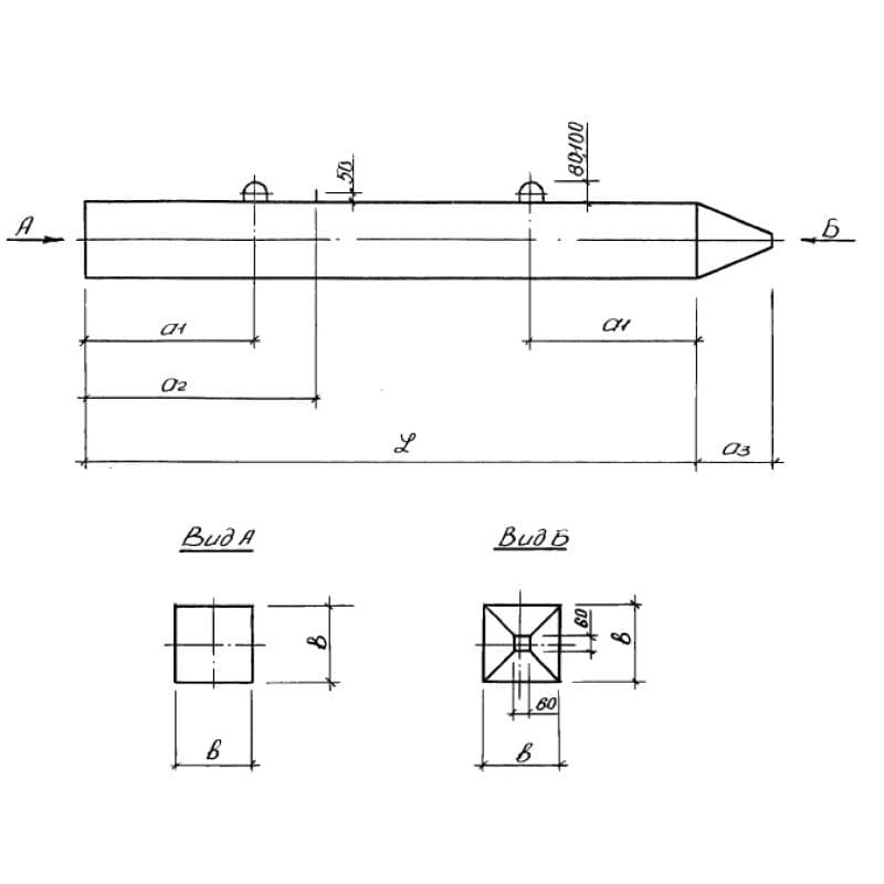
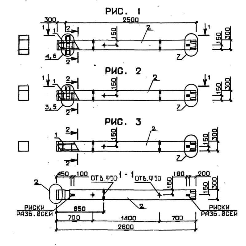
400x400x8000С 80-40-8,1 у
Цена по запросу

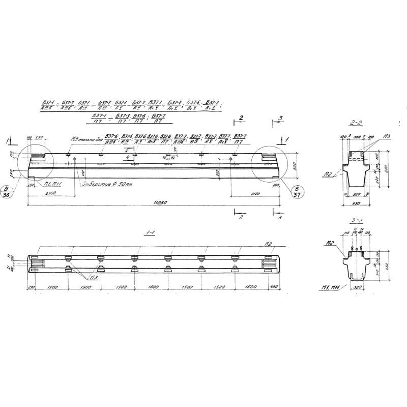
550x800x11280Б 37-3 АV
Цена по запросу

400x400x136005КН 36-136-7 н
Цена по запросу

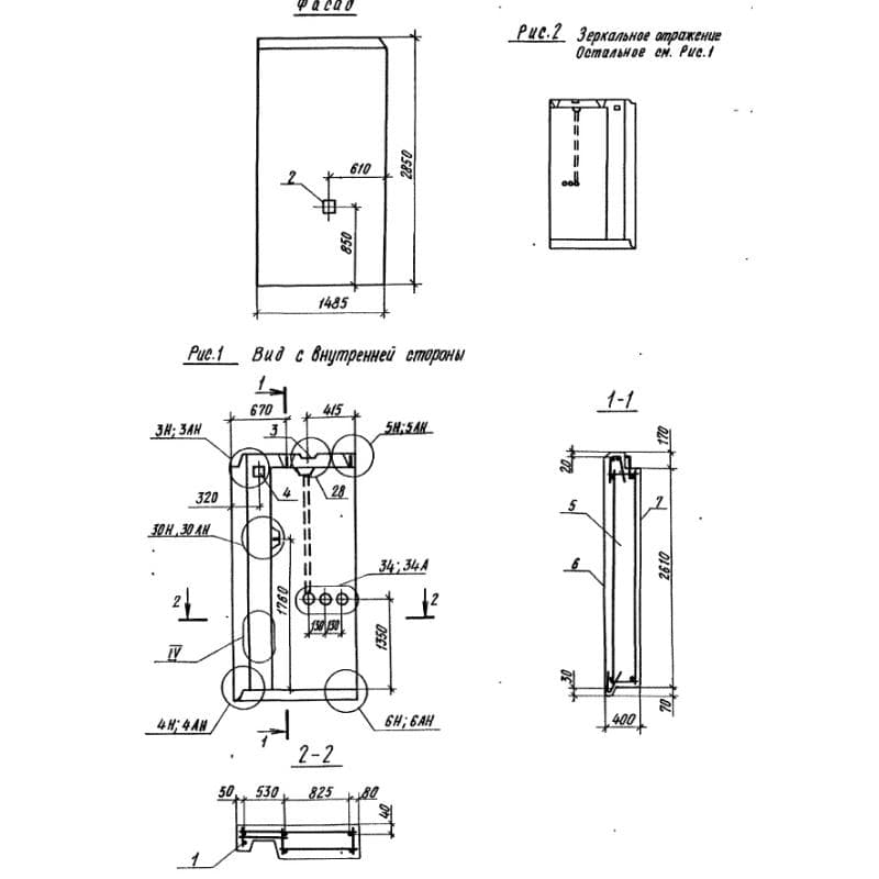
400x2850x14851НС 15-29-40-150 л
Цена по запросу

1000x400x110002СД 110-48-40-4 (1.411.1-10.93)
Цена по запросу

400x400x109705КБ 33-110-7 с
Цена по запросу

650x800x81802РЖ 8-82-120 АIIIв т
Цена по запросу

990x220x59801ПК 60-10-8 Н 0-АIV
Цена по запросу

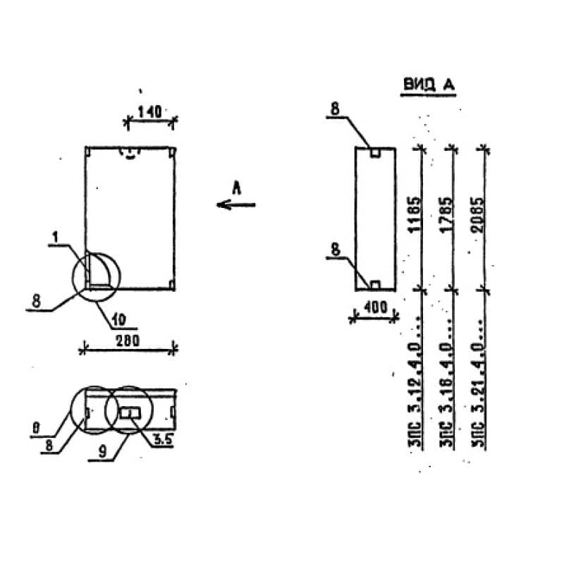
400x1185x2802ПС 3-12-4,0 л
Цена по запросу

5400x1500x4800ФТ 15-4-9-15 (1.412.1-6)
Цена по запросу

600x400x11440К 2-27
Цена по запросу

300x300x28001КВО 3-28-2,1
Цена по запросу