Каталог по сериям
Выбрана серия: Серия
Серия

200x1180x6480ПС 65-12-2,0-3 я
Цена по запросу

400x400x122002КНО 4-48-(60)-4,7
Цена по запросу

600x400x15040К 34-28 с
Цена по запросу

400x400x118701КБ 36-119-5 с
Цена по запросу

2980x1000x179601КЖС 18г-4 АIVк
Цена по запросу

300x300x54702КБ2 3-28(20)-21 (Б1.020.1-7)
Цена по запросу

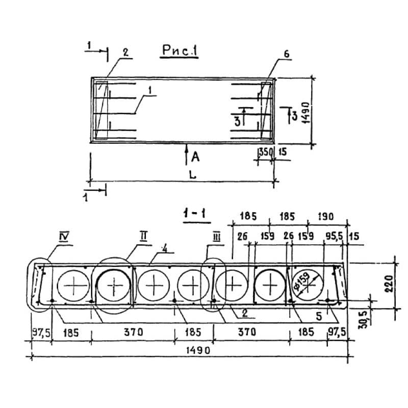
1490x220x5980ПК 60-15-3 АтVта
Цена по запросу

400x600x119506БФ 120-1 АIIIв
Цена по запросу

1160x530x5970Л 6-15 (3.006-2)
Цена по запросу

200x590x5960Б 6-7 АIV*
Цена по запросу

700x400x130505К 120-15 с
Цена по запросу

1500x1500x1800Р 5-5
Цена по запросу