Каталог по сериям
Выбрана серия: Серия
Серия

1480x300x59704ПВ 6-2 АIIIв-7
Цена по запросу

500x400x510012К 51-4 АIV
Цена по запросу

480x3280x55601Д 56-33-2 с
Цена по запросу

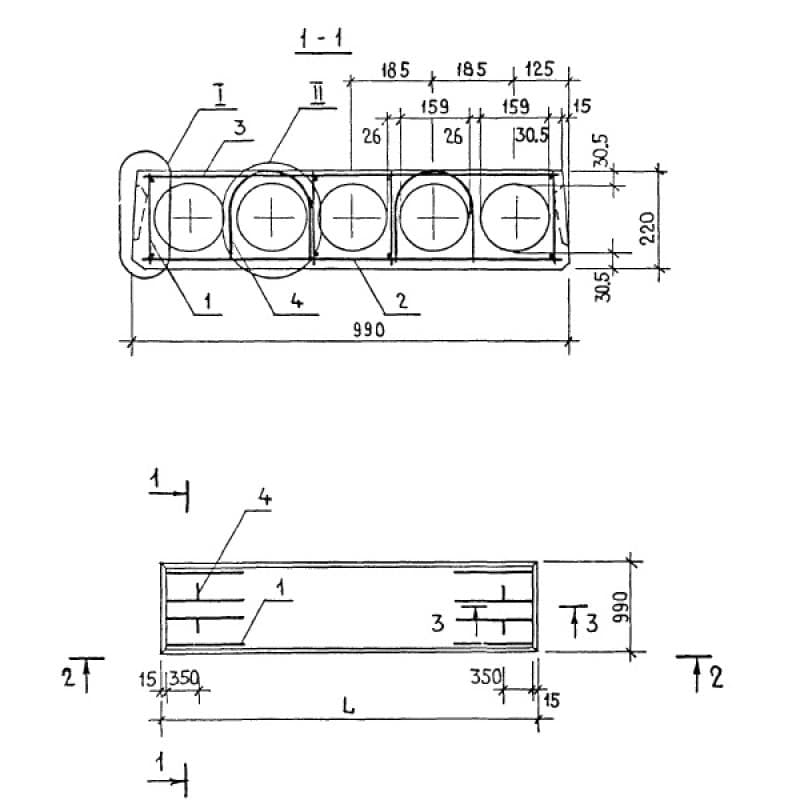
990x220x2980ПК 30-10-6 т
Цена по запросу

300x300x3000СЦ 30-30 ВрII
Цена по запросу

1485x400x5550ИП 1-4-1
Цена по запросу

500x500x69006К 60-7 м3 с
Цена по запросу

1490x220x5980ПК 60-15-8 к7т
Цена по запросу

400x300x44503БФ 45-4
Цена по запросу

350x2100x14452ПСЦ 14-21-3,5 пс (1.090.1-7с)
Цена по запросу

250x1785x57501ПС 57,5-18-2,5-2 я-2
Цена по запросу

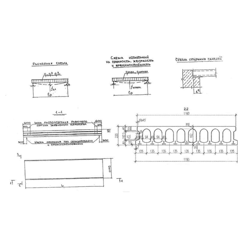
1195x220x4180ПБ 42-12-10 (ИЖ568-04/д)
Цена по запросу