Каталог по сериям
Выбрана серия: Серия
Серия

990x220x6280ПК 6-63-10 а
Цена по запросу

740x400x50501П 8-2 АIIIТ (1.442.1-1.87)
Цена по запросу

400x400x105402КН 42-2 РПС 2-3
Цена по запросу

1600x1000x62502БР 63-16-31-3
Цена по запросу

2980x600x2980КТ 1-16 с-1 (1.420.1-24с)
Цена по запросу

1490x250x5970СПН 1 АIIIв-7
Цена по запросу

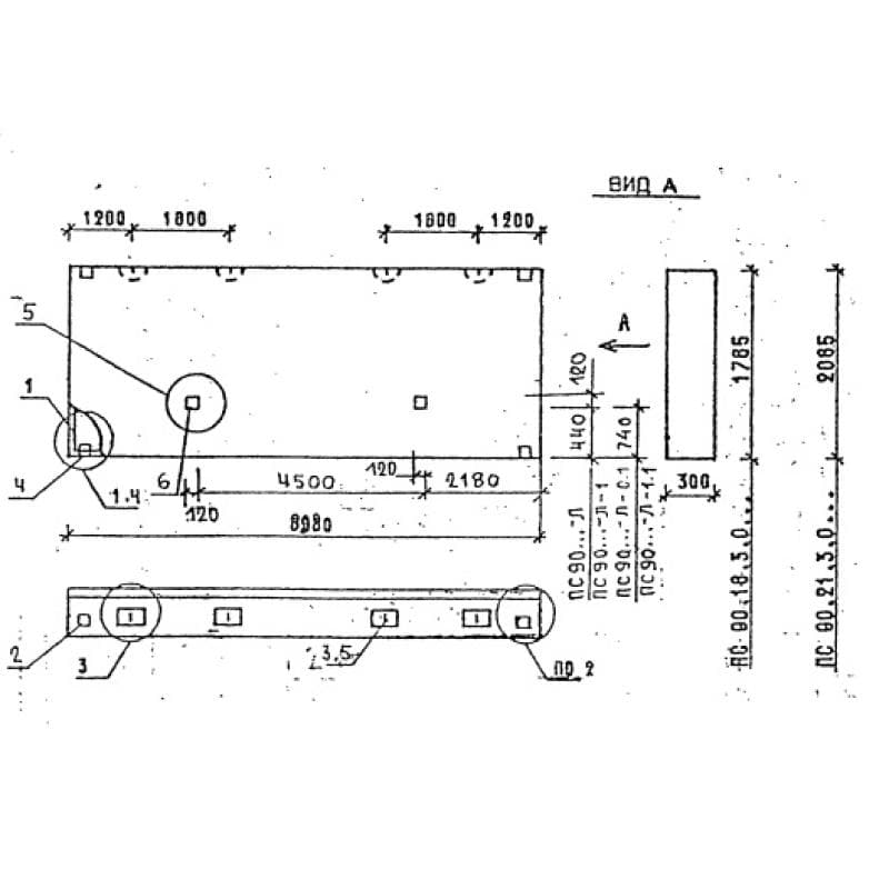
300x1785x8980ПС 90-18-3,0-4 л
Цена по запросу

1480x450x119603ПВ 12-1 к7 л-10
Цена по запросу

600x580x2980ФБП 30-1
Цена по запросу

250x190x272010ПБ 27-37 АтV
Цена по запросу

400x400x89202КВО 48-2-22
Цена по запросу

400x400x48005КС 48-48-3 с
Цена по запросу