Каталог по сериям
Выбрана серия: Серия
Серия

5400x900x3000Ф 5-20-34 б
Цена по запросу

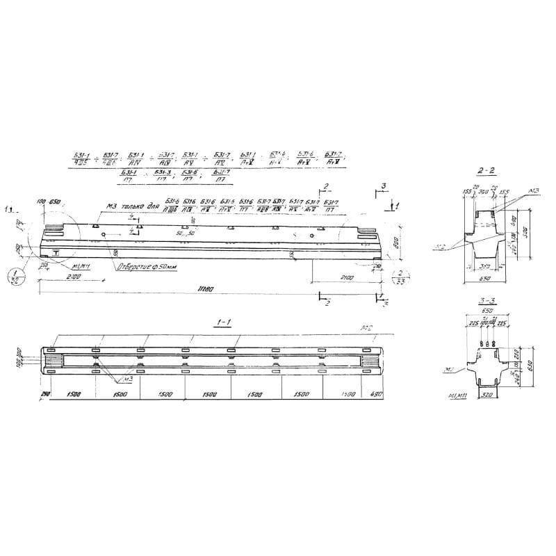
650x800x11280Б 31-5 АV
Цена по запросу

2980x300x5970ПЛ АIIIв-1 кп
Цена по запросу

380x300x4600Б 46-38-30-5,5 т
Цена по запросу

100x1785x5980ПС 60-18-1-2,35 м
Цена по запросу

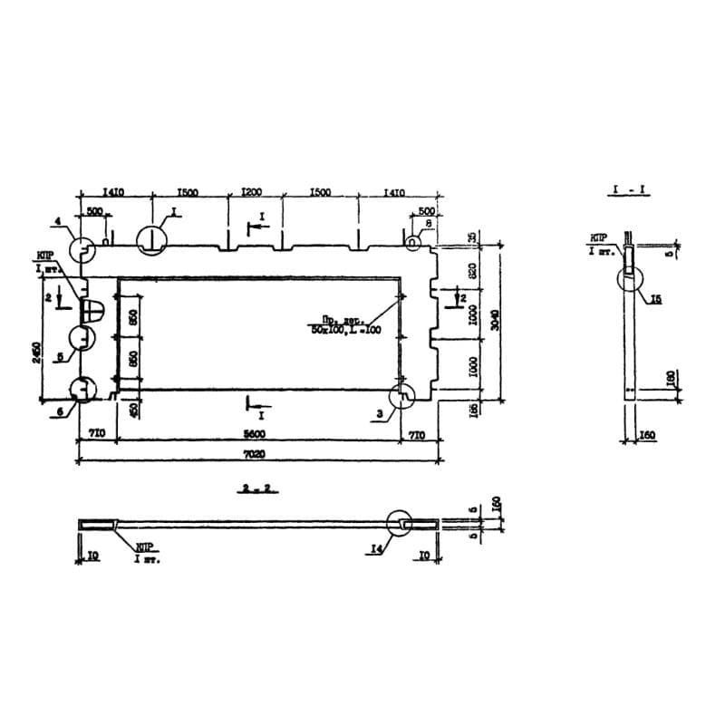
160x3040x7020ПВР 70-30-56-3 тс9 (1.090.1-7с)
Цена по запросу

400x400x108005КС 36-108-11 н
Цена по запросу

350x1785x2802ПСТ 3-18-3,5 л
Цена по запросу

450x1180x1840НЦУ 19-12-4 ла (1.133-2)
Цена по запросу

6000x4200x5400ФТ 17-4-14-42 (1.412.1-6)
Цена по запросу

3900x2100x3300Ф 10-3-7-21 (1.412.1-6)
Цена по запросу

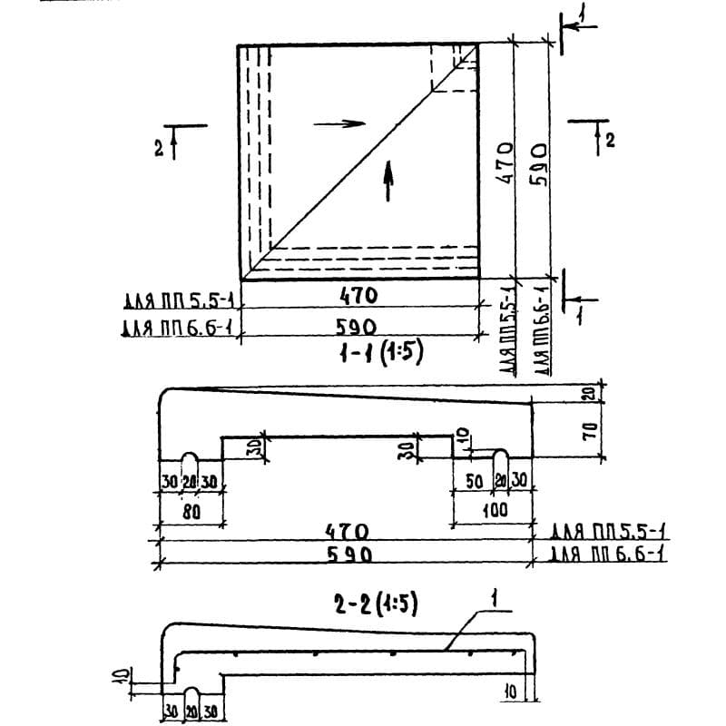
590x90x590ПП 6-6-1
Цена по запросу