Каталог по сериям
Выбрана серия: Серия 1.132.1-15
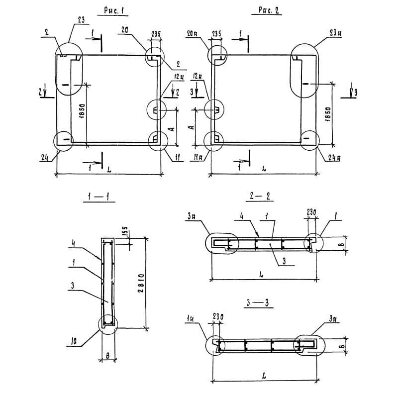
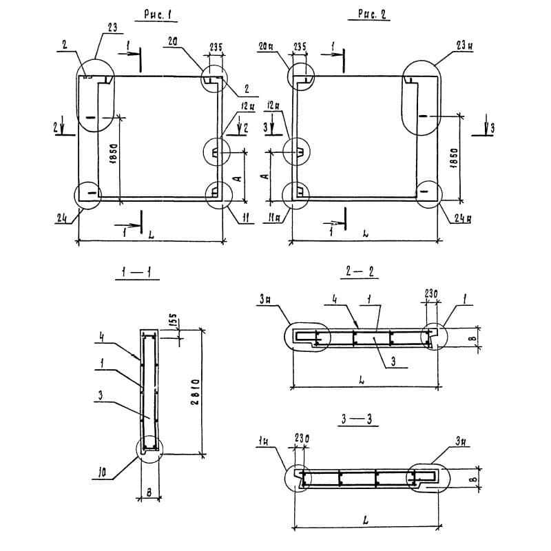
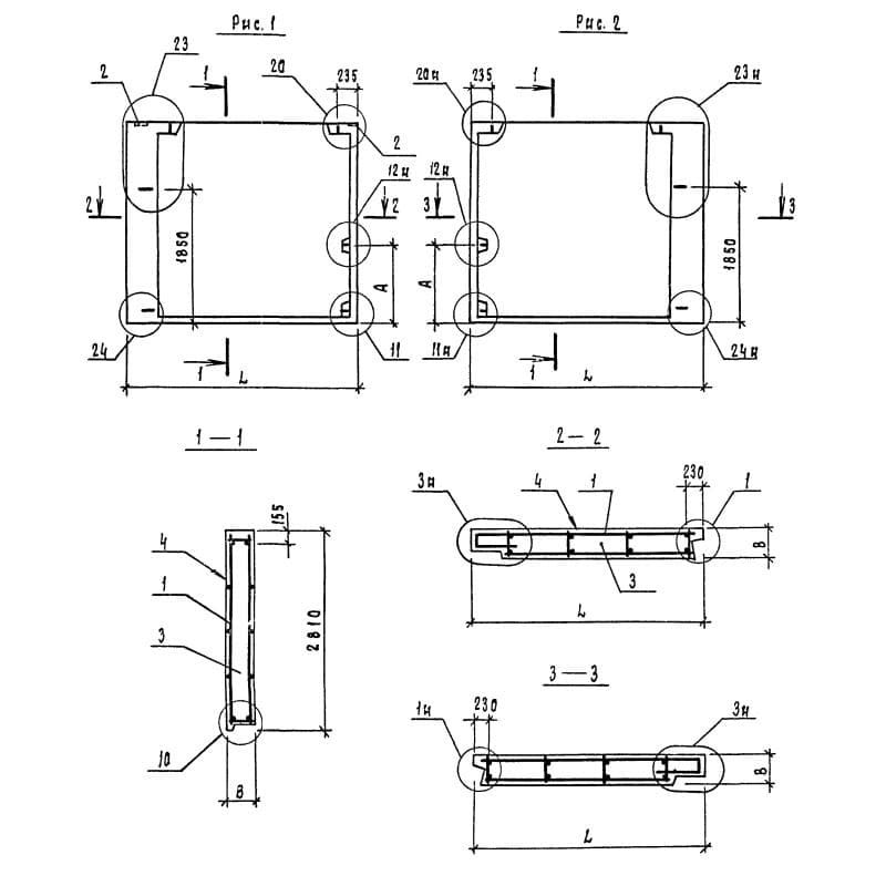
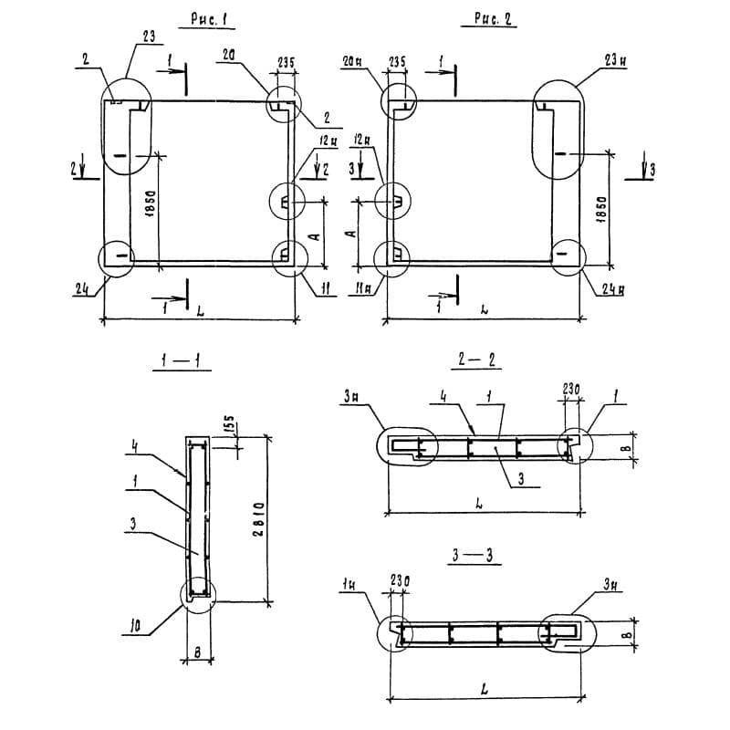
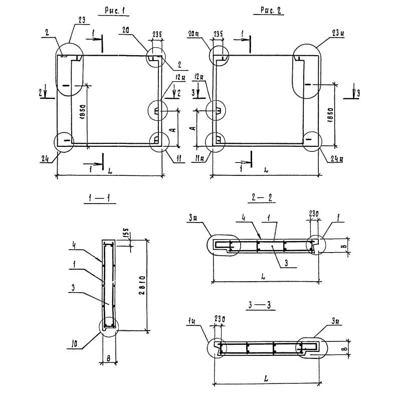
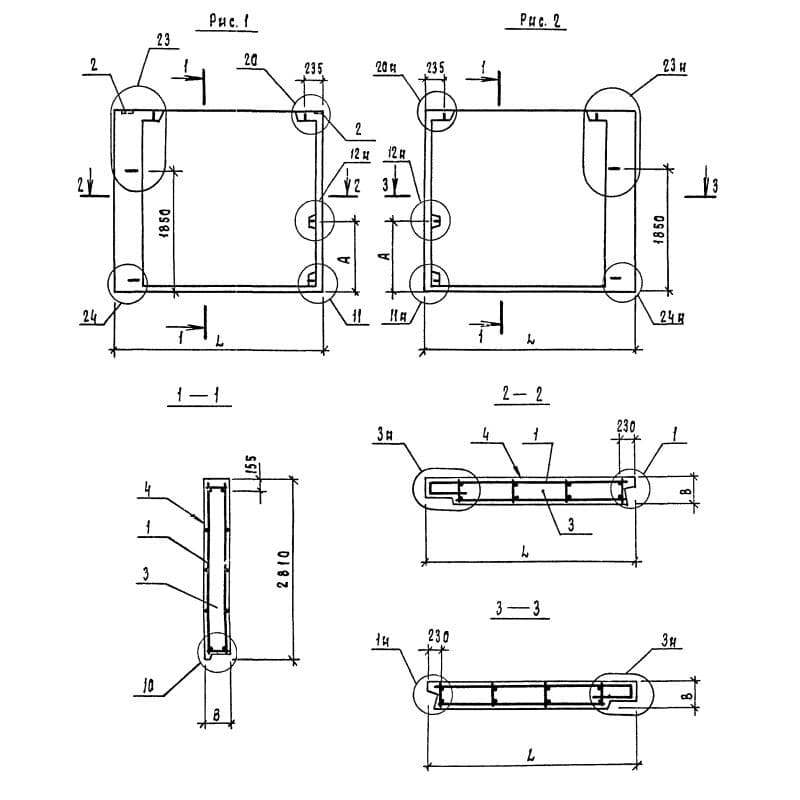
Серия 1.132.1-15

400x2810x11906ПСН 12-28-40-1 п-1
Цена по запросу

400x2730x11906ПСН 12-28-40-1 п-1
Цена по запросу

400x2810x11906ПСН 12-28-40-1 п-1 л
Цена по запросу

400x2730x11906ПСН 12-28-40-1 п-1 л
Цена по запросу

450x2810x11906ПСН 12-28-45-1 п-1
Цена по запросу

450x2730x11906ПСН 12-28-45-1 п-1
Цена по запросу

450x2810x11906ПСН 12-28-45-1 п-1 л
Цена по запросу

450x2730x11906ПСН 12-28-45-1 п-1 л
Цена по запросу

400x3060x11906ПСН 12-30-40-1 п-1
Цена по запросу

400x3060x11906ПСН 12-30-40-1 п-1 л
Цена по запросу

400x2980x11906ПСН 12-30-40-1 п-1,1
Цена по запросу

400x2980x11906ПСН 12-30-40-1 п-1,1 л
Цена по запросу