Каталог по сериям
Выбрана серия: Серия 1.020.1-2с/89
Серия 1.020.1-2с/89

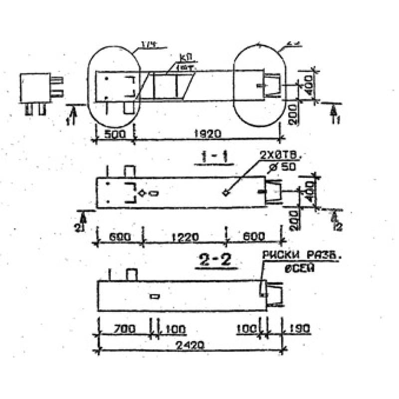
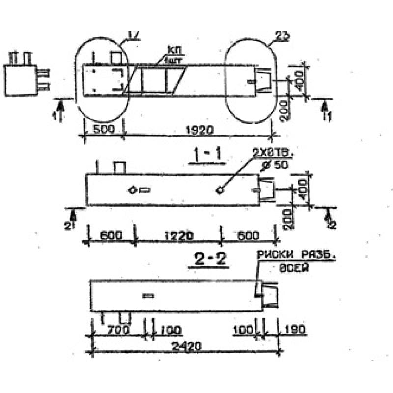
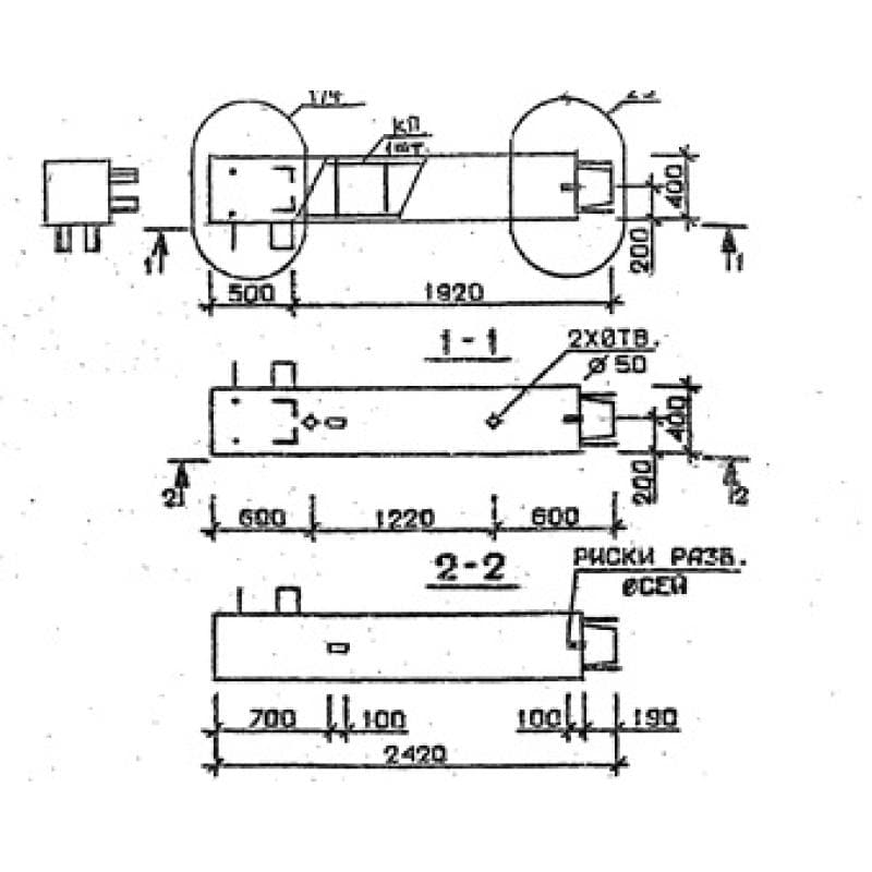
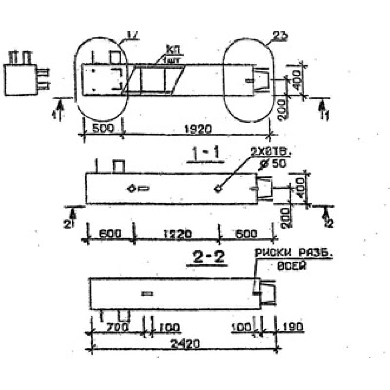
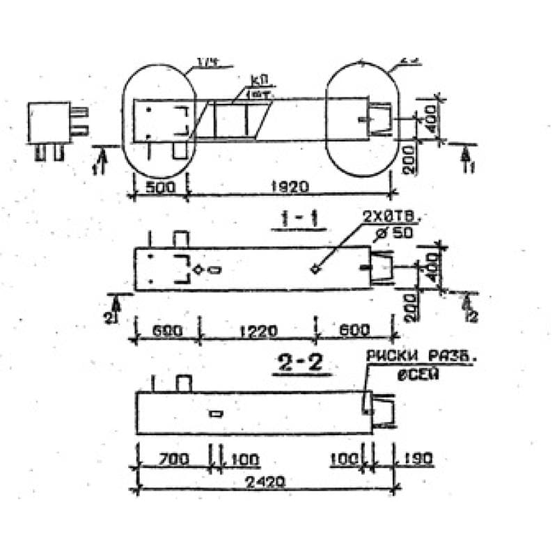
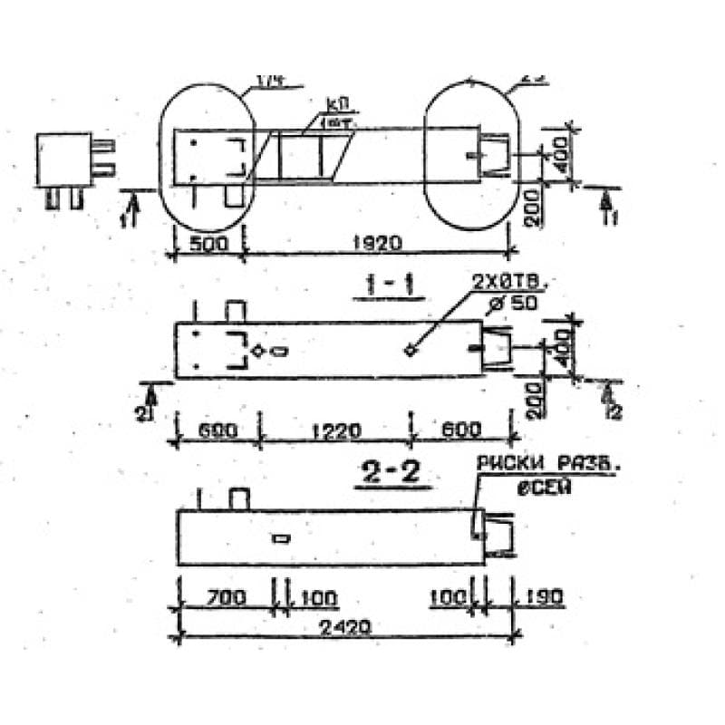
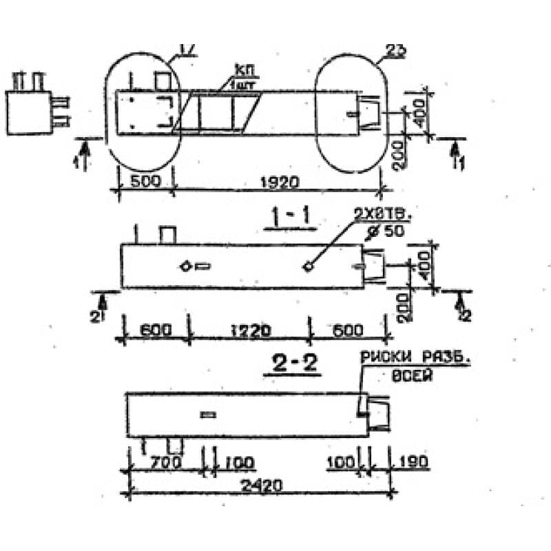
400x400x24205КВ 33-24-11 сн
Цена по запросу

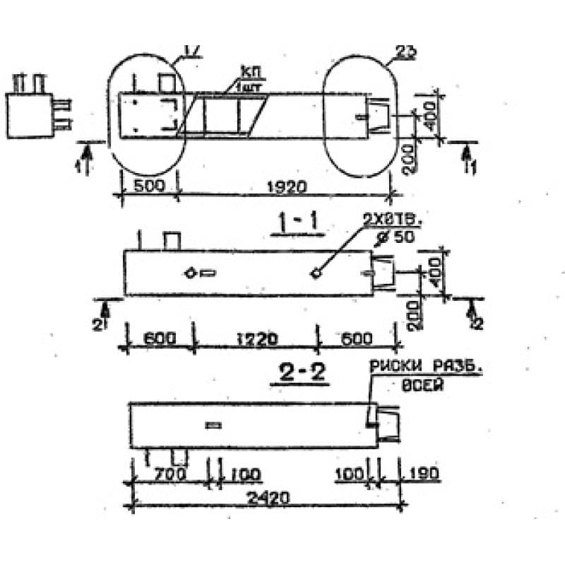
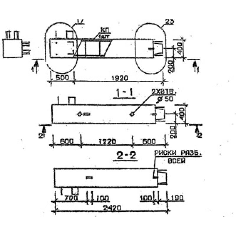
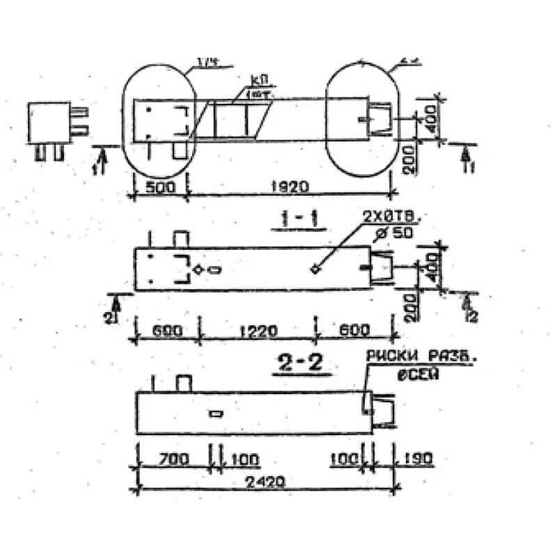
400x400x24205КВ 33-24-13
Цена по запросу

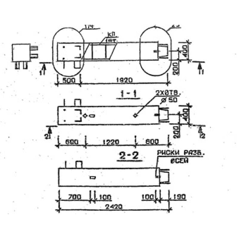
400x400x24205КВ 33-24-13 н
Цена по запросу

400x400x24205КВ 33-24-13 с
Цена по запросу

400x400x24205КВ 33-24-13 сн
Цена по запросу

400x400x24205КВ 33-24-2
Цена по запросу

400x400x24205КВ 33-24-2 н
Цена по запросу

400x400x24205КВ 33-24-2 с
Цена по запросу

400x400x24205КВ 33-24-2 сн
Цена по запросу

400x400x24205КВ 33-24-3
Цена по запросу

400x400x24205КВ 33-24-3 н
Цена по запросу

400x400x24205КВ 33-24-3 с
Цена по запросу