Каталог по сериям
Выбрана серия: Серия 1.232.1-8
Серия 1.232.1-8

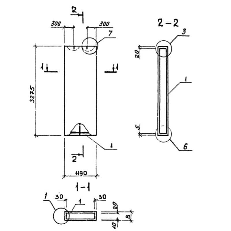
400x3275x1190ПСС 12-33-4,0 п (1.232.1-8)
Цена по запросу

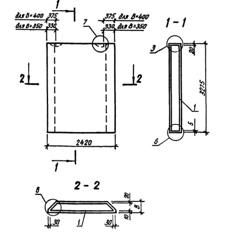
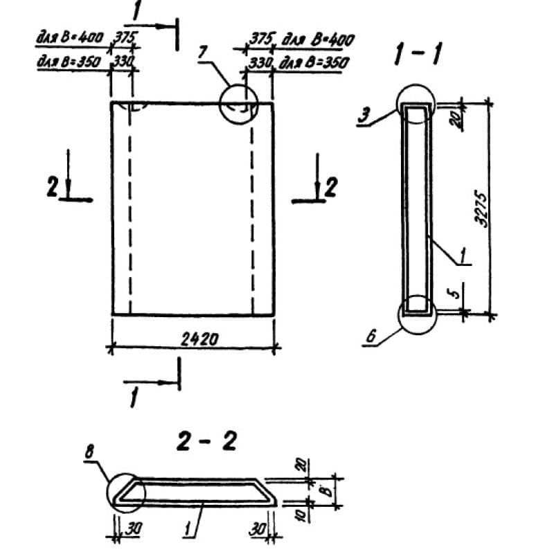
350x3275x2420ПСС 24-33-3,5 п (1.232.1-8)
Цена по запросу

400x3275x2420ПСС 24-33-4,0 п (1.232.1-8)
Цена по запросу

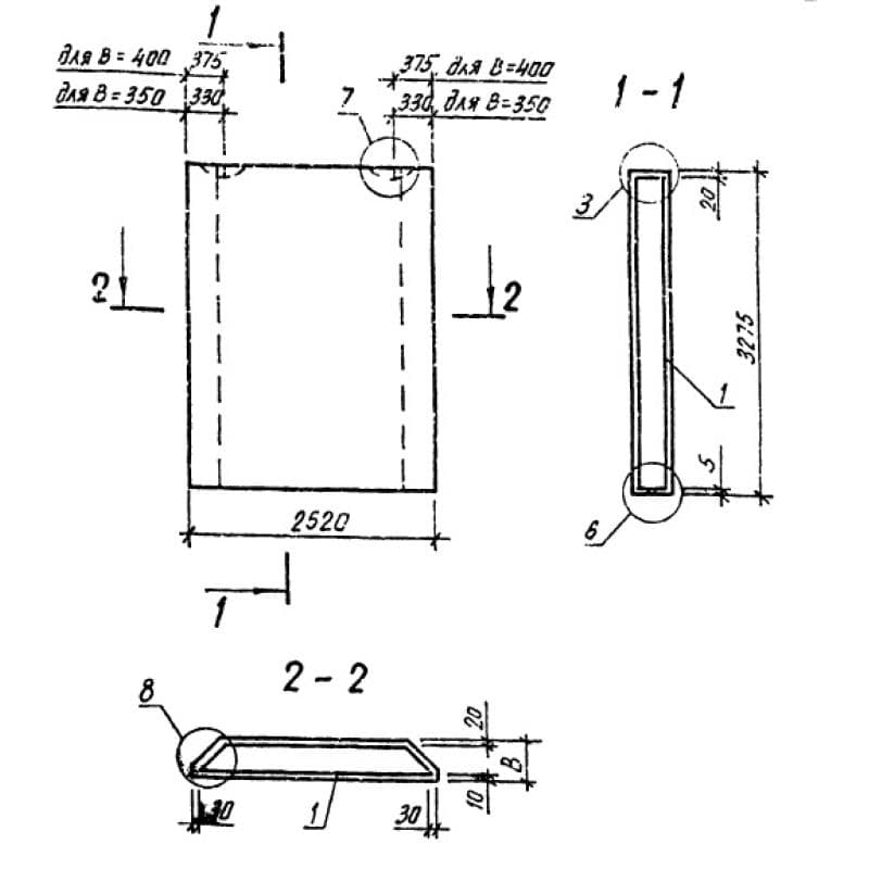
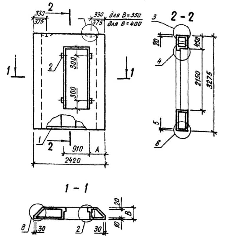
350x3275x2520ПСС 25-33-3,5 п (1.232.1-8)
Цена по запросу

400x3275x2520ПСС 25-33-4,0 п (1.232.1-8)
Цена по запросу

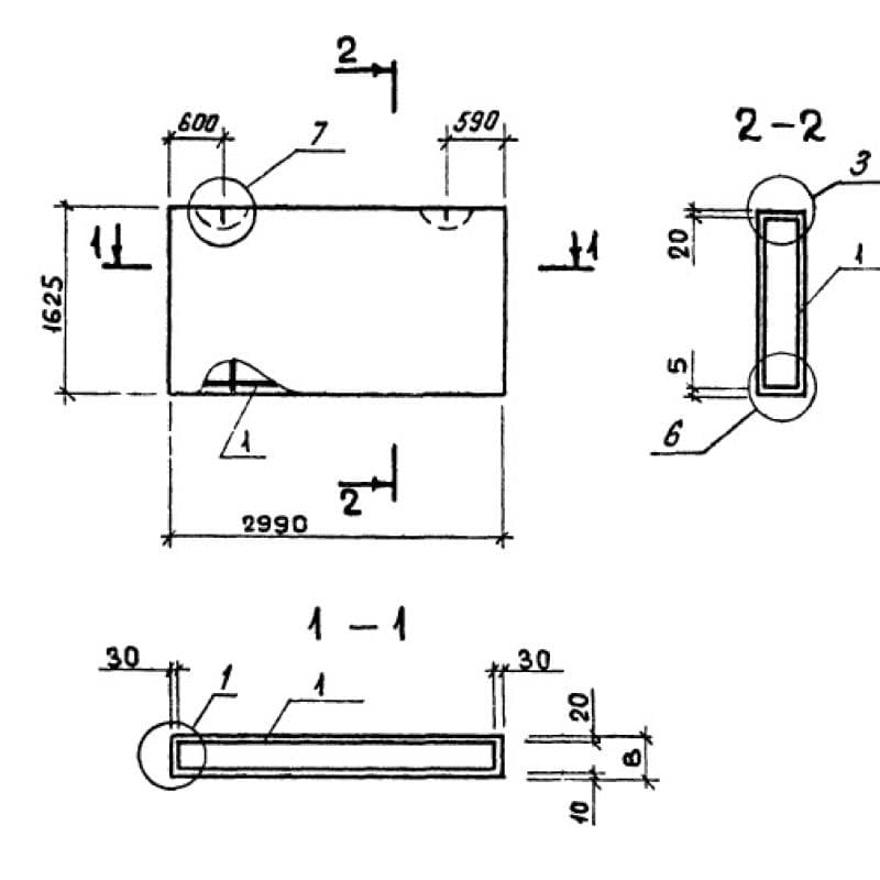
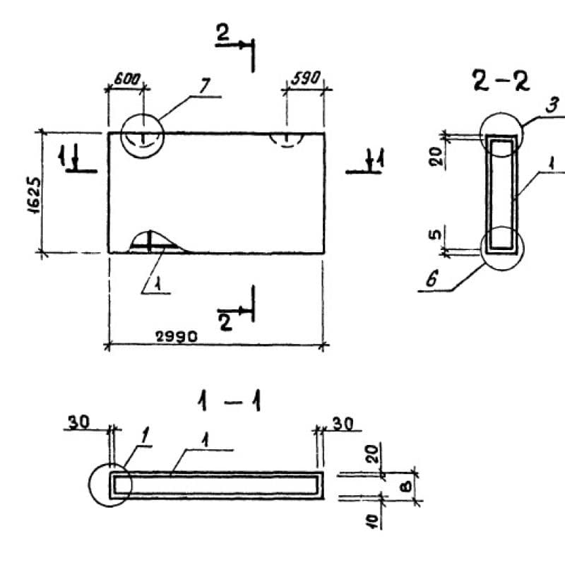
350x1625x2990ПСС 30-16-3,5 п (1.232.1-8)
Цена по запросу

400x1625x2990ПСС 30-16-4,0 п (1.232.1-8)
Цена по запросу

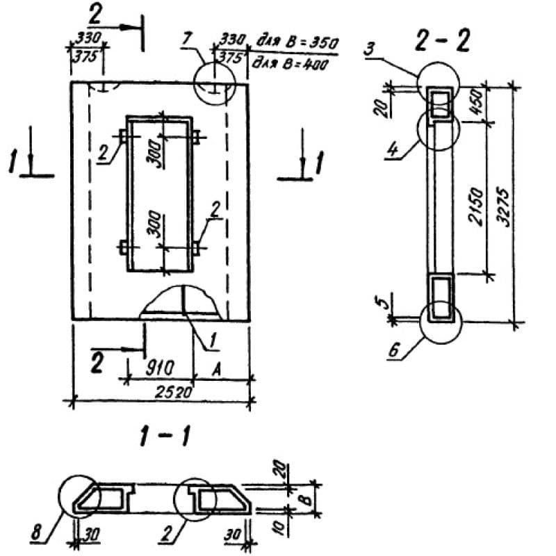
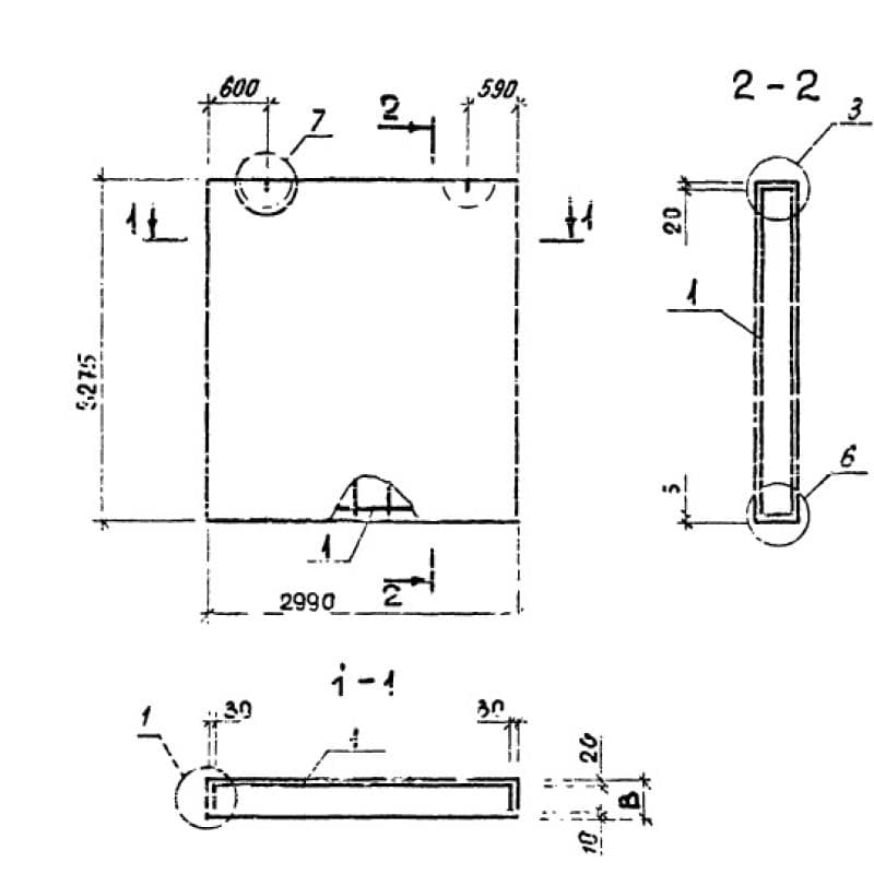
350x3275x2990ПСС 30-33-3,5 п (1.232.1-8)
Цена по запросу

400x3275x2990ПСС 30-33-4,0 п (1.232.1-8)
Цена по запросу

350x3275x2420ПССД 24-33-3,5 п (1.232.1-8)
Цена по запросу

400x3275x2420ПССД 24-33-4,0 п (1.232.1-8)
Цена по запросу

350x3275x2520ПССД 25-33-3,5 п (1.232.1-8)
Цена по запросу