Каталог по сериям
Выбрана серия: Серия 1.832-5
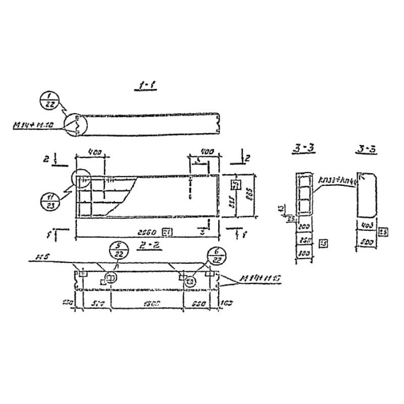
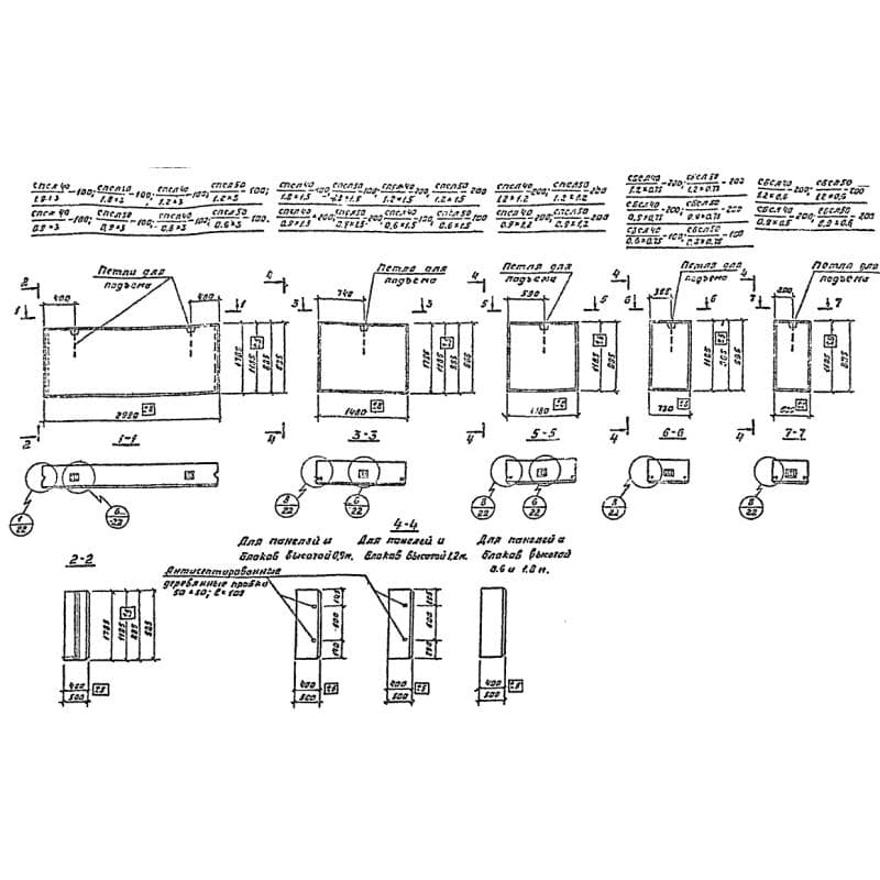
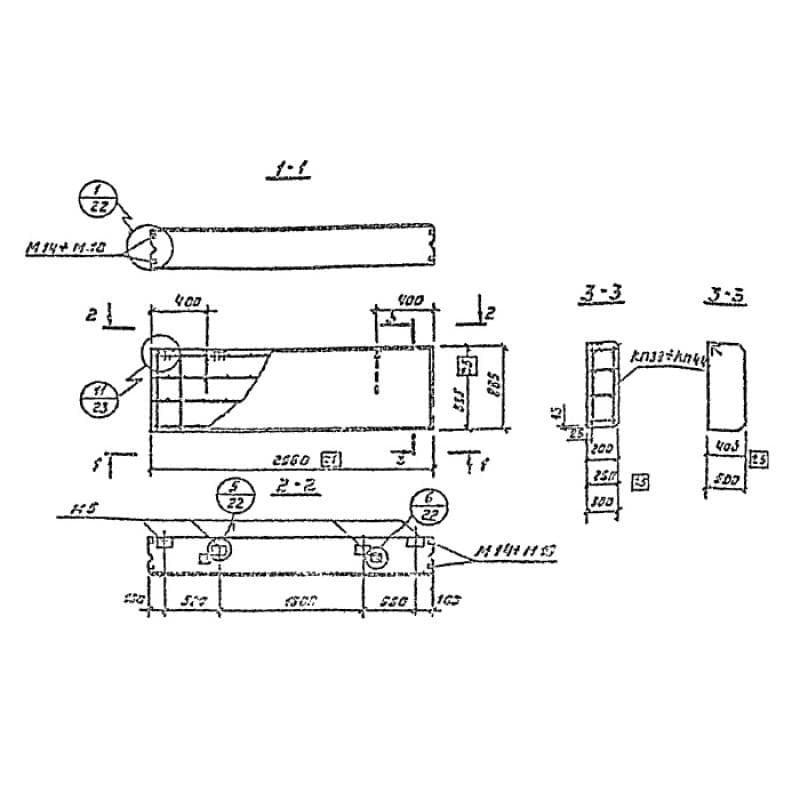
Серия 1.832-5

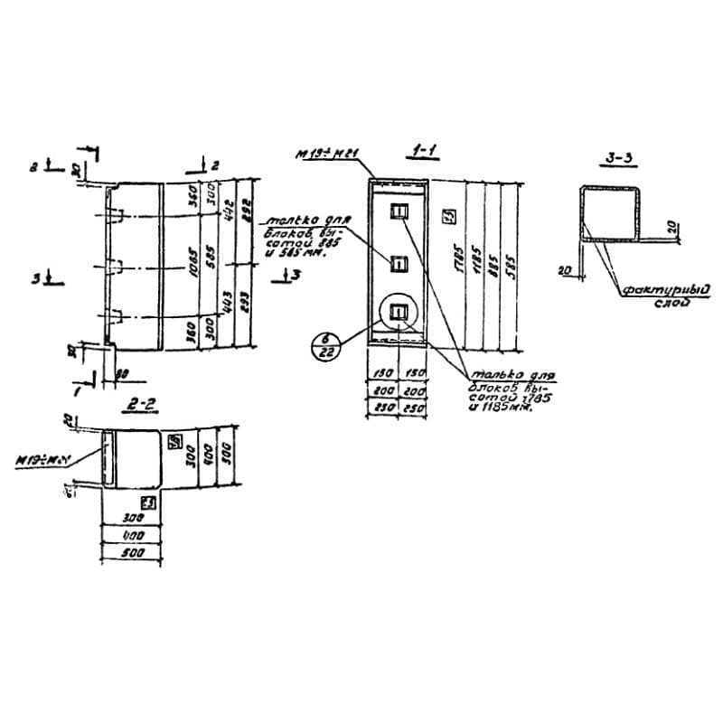
500x385x1480СПСЛ 50-0,40-1,5-501 (1.832-5)
Цена по запросу

500x435x1480СПСЛ 50-0,45-1,5-501 (1.832-5)
Цена по запросу

500x435x1780СПСЛ 50-0,45-1,8-501 (1.832-5)
Цена по запросу

500x585x500СПСЛ 50-0,6-0,5-801 (1.832-5)
Цена по запросу

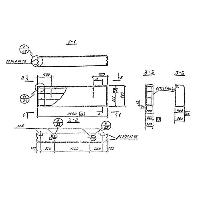
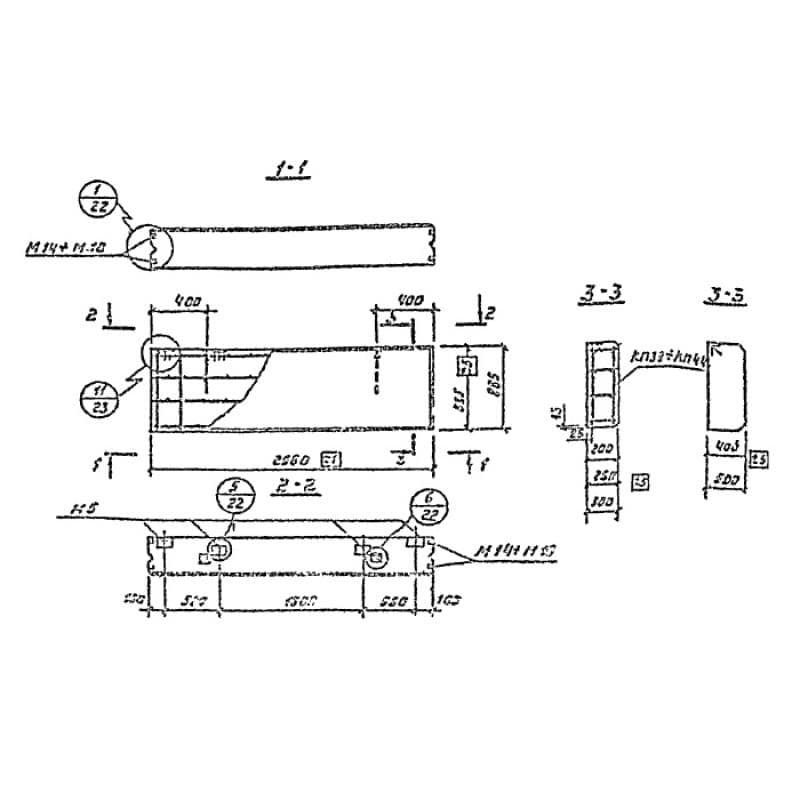
500x885x730СПСЛ 50-0,6-0,75-100 (1.832-5)
Цена по запросу

500x885x730СПСЛ 50-0,6-0,75-201 (1.832-5)
Цена по запросу

500x585x1480СПСЛ 50-0,6-1,5-100 (1.832-5)
Цена по запросу

500x585x1480СПСЛ 50-0,6-1,5-101 (1.832-5)
Цена по запросу

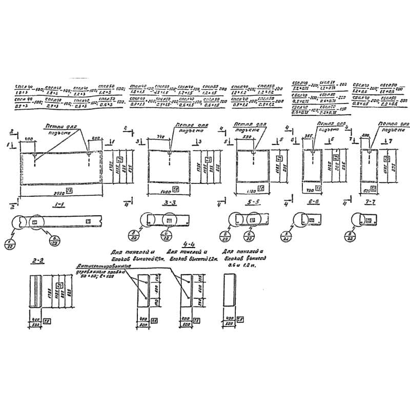
500x585x2890СПСЛ 50-0,6-3-100 (1.832-5)
Цена по запросу

500x585x2890СПСЛ 50-0,6-3-202 (1.832-5)
Цена по запросу

500x585x2890СПСЛ 50-0,6-3-311 (1.832-5)
Цена по запросу

500x585x2890СПСЛ 50-0,6-3-312 (1.832-5)
Цена по запросу