Каталог по сериям
Выбрана серия: Серия 1.030.9-2
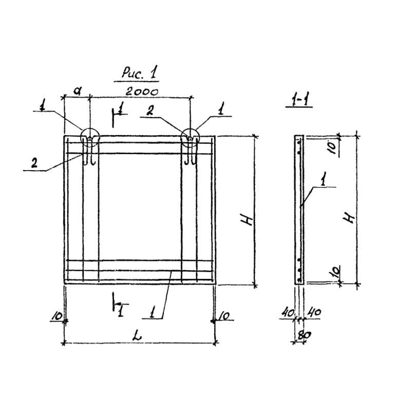
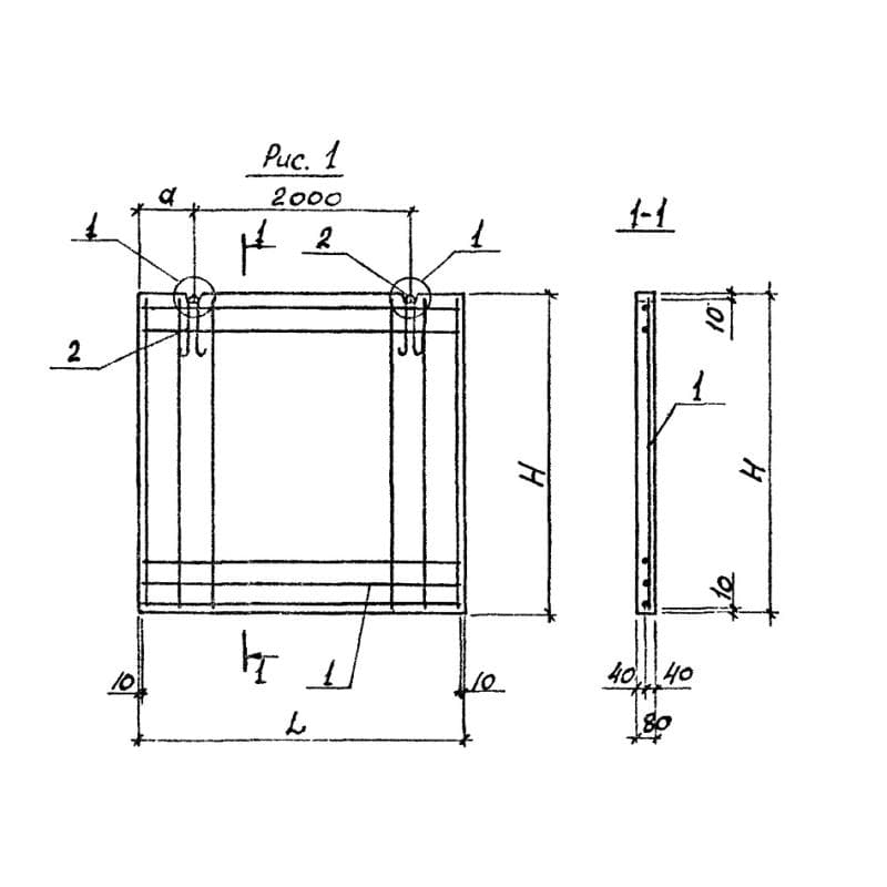
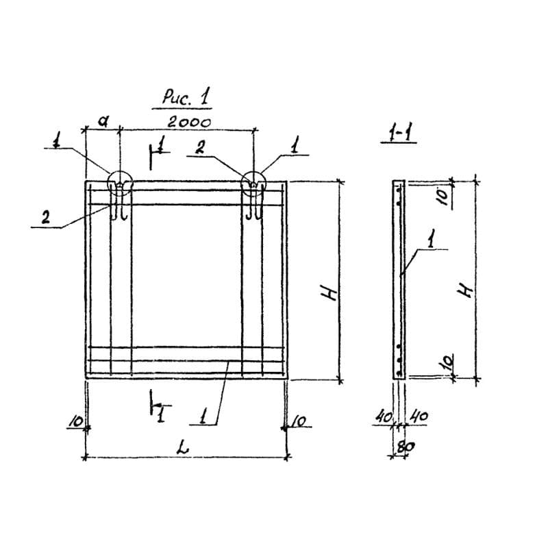
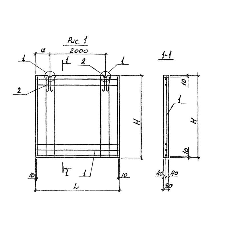
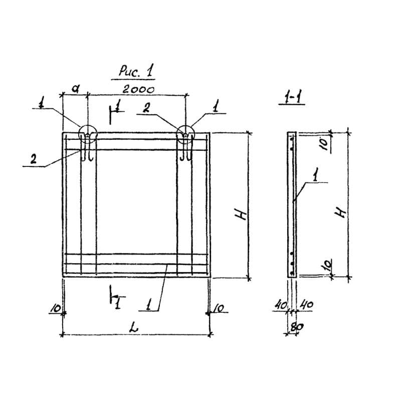
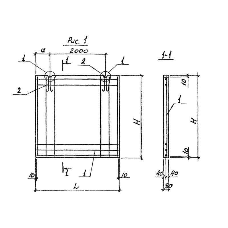
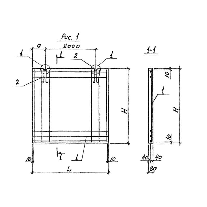
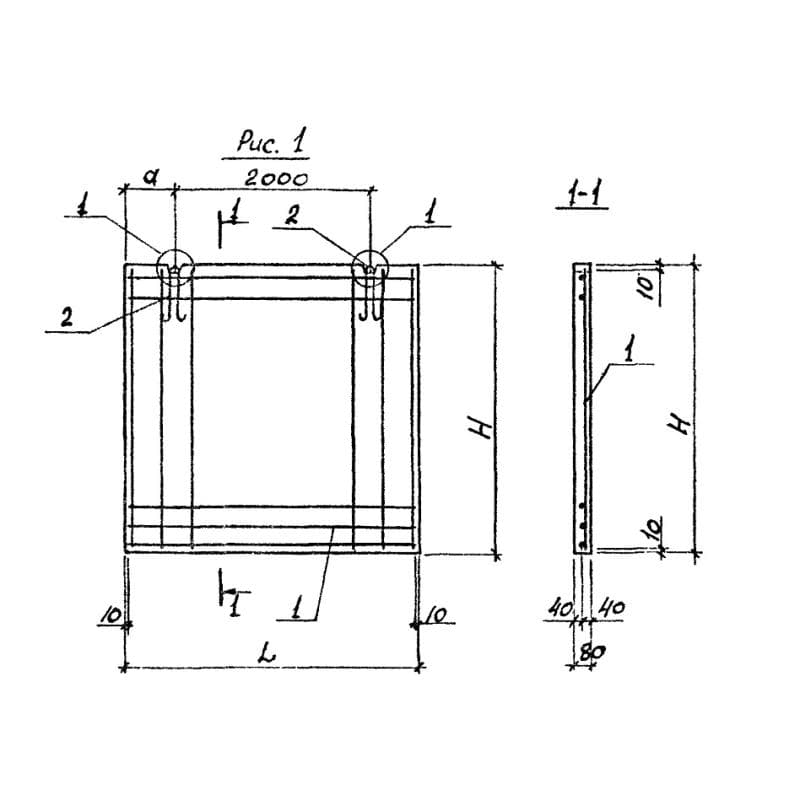
Серия 1.030.9-2

80x2985x2640ПГ 26-30-2 т д1
Цена по запросу

80x585x2640ПГ 26-6-2 л
Цена по запросу

80x585x2640ПГ 26-6-2 т
Цена по запросу

80x885x2640ПГ 26-9-2 л
Цена по запросу

80x885x2640ПГ 26-9-2 т
Цена по запросу

80x1185x2980ПГ 30-12 г
Цена по запросу

80x1185x2980ПГ 30-12 г В1
Цена по запросу

80x1185x2980ПГ 30-12 г В2
Цена по запросу

80x1185x2980ПГ 30-12-2 л
Цена по запросу

80x1185x2980ПГ 30-12-2 л В1
Цена по запросу

80x1185x2980ПГ 30-12-2 л В2
Цена по запросу

80x1185x2980ПГ 30-12-2 т
Цена по запросу