Каталог по сериям
Выбрана серия: ГОСТ 23444-79
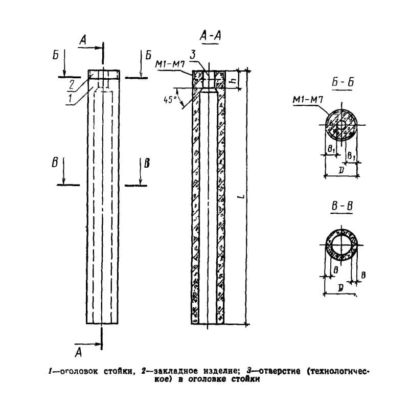
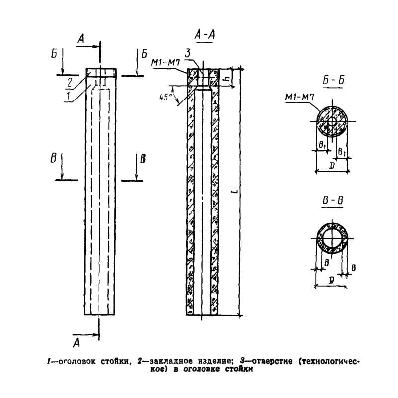
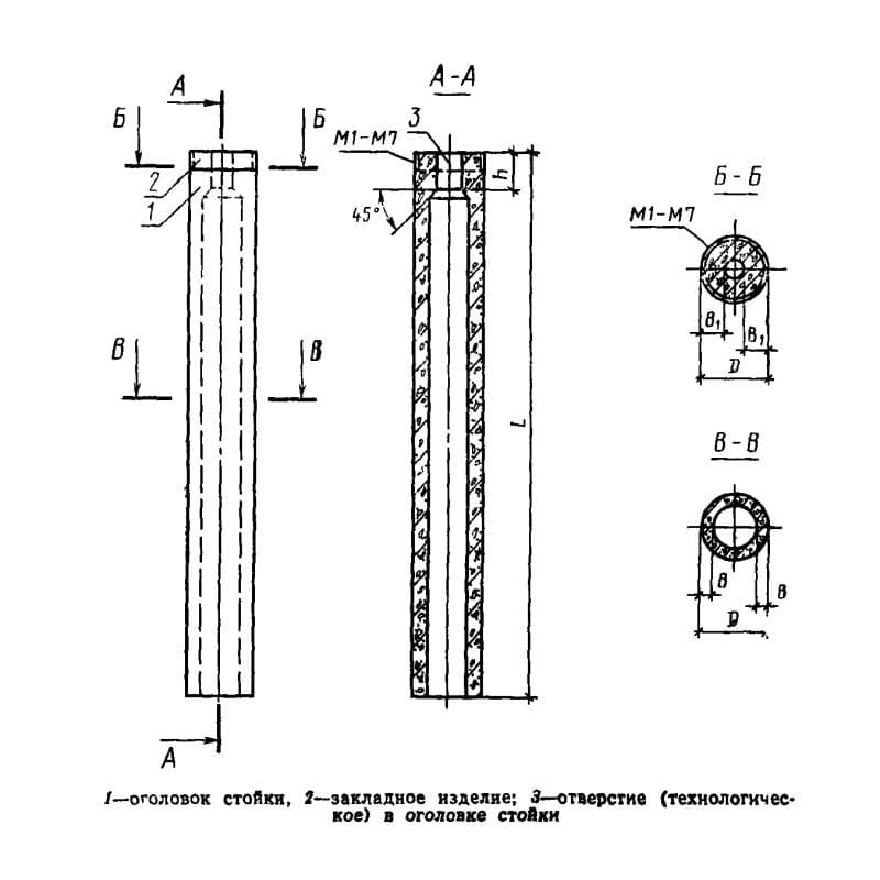
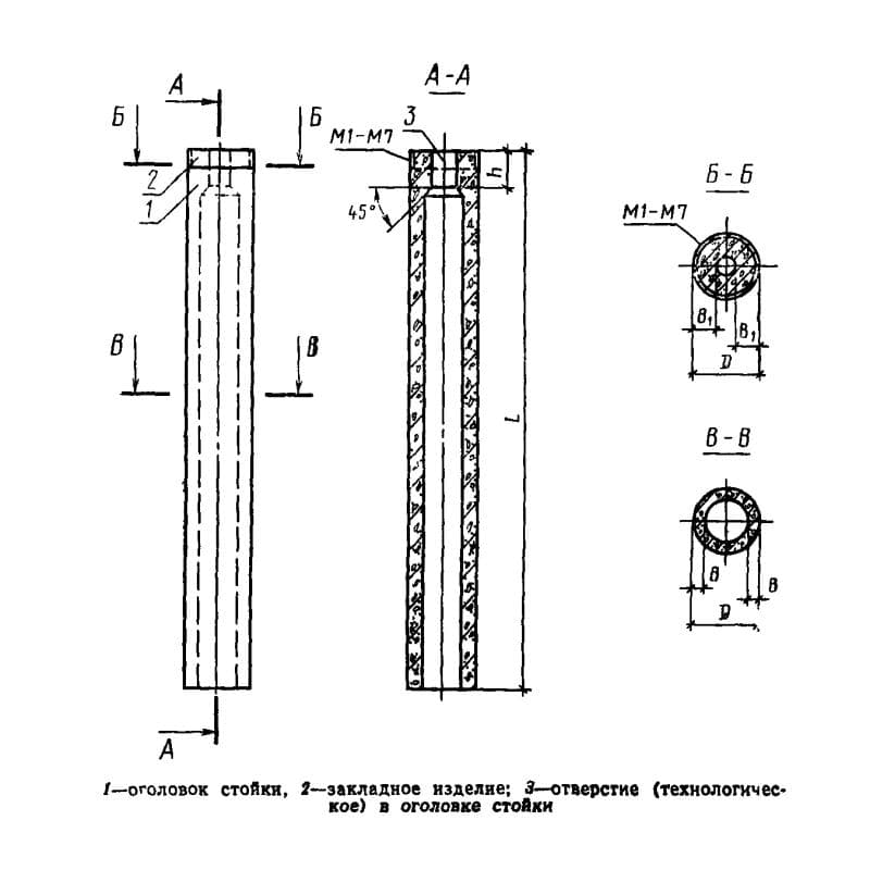
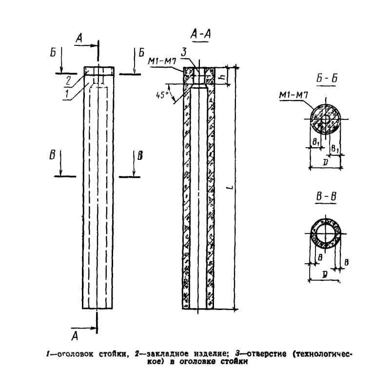
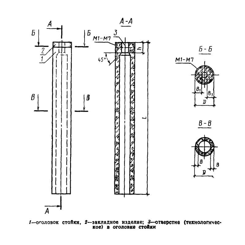
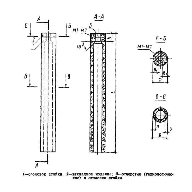
ГОСТ 23444-79

500x500x9600С 5-96-5 К2а
Цена по запросу

500x500x9600С 5-96-5 К3а
Цена по запросу

500x500x9600С 5-96-5 К4а
Цена по запросу

500x500x9600С 5-96-6 К1
Цена по запросу

500x500x9600С 5-96-6 К2
Цена по запросу

500x500x9600С 5-96-6 К3
Цена по запросу

500x500x9600С 5-96-6 К4
Цена по запросу

500x500x9600С 5-96-6 К5
Цена по запросу

500x500x9600С 5-96-7 К1
Цена по запросу

500x500x9600С 5-96-7 К2
Цена по запросу

500x500x9600С 5-96-7 К3
Цена по запросу

500x500x9600С 5-96-7 К4
Цена по запросу