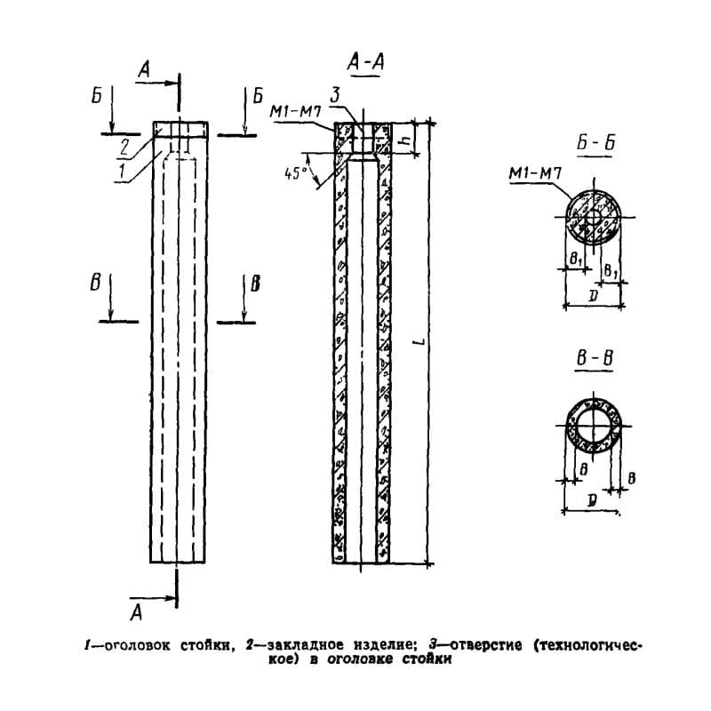
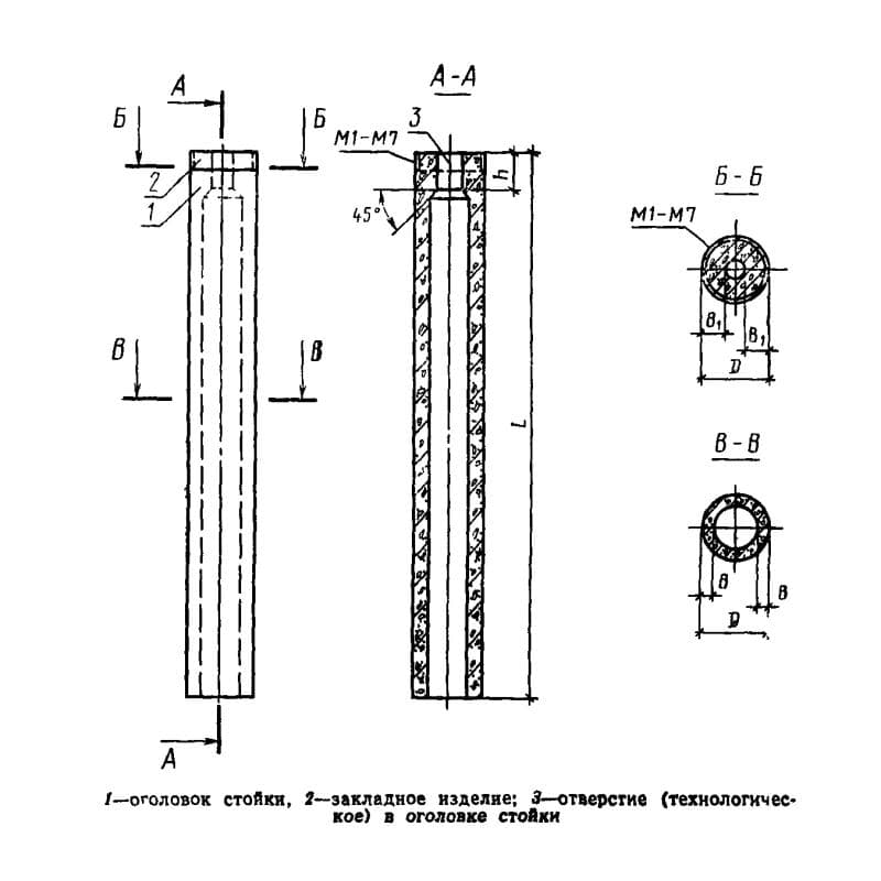
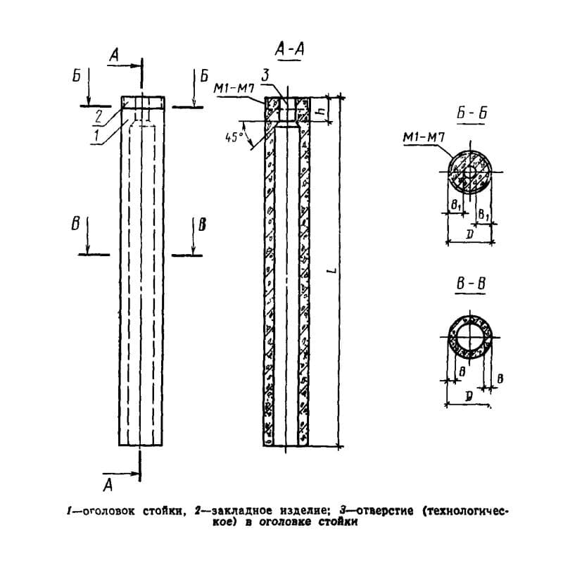
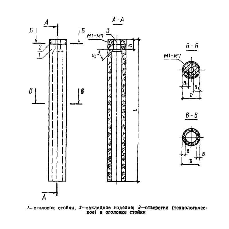
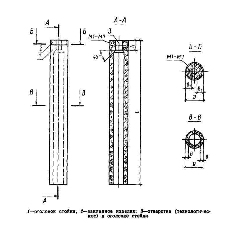
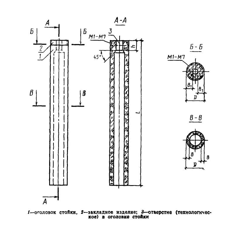
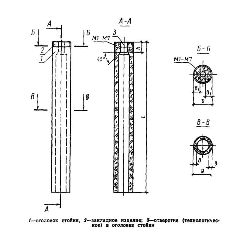
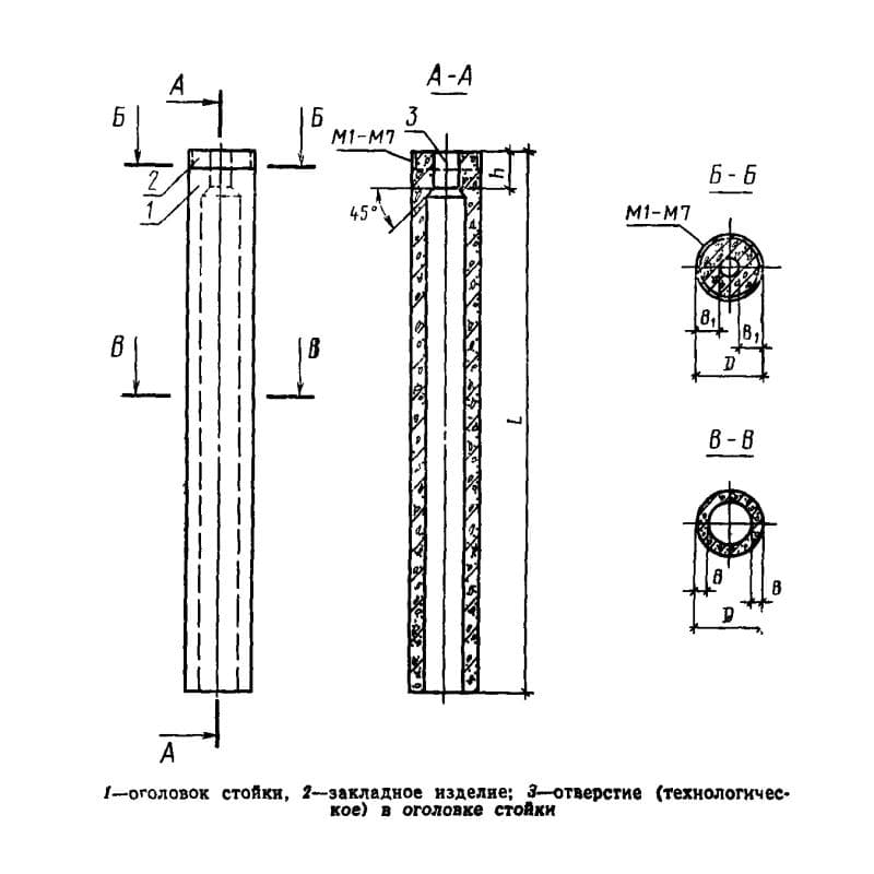
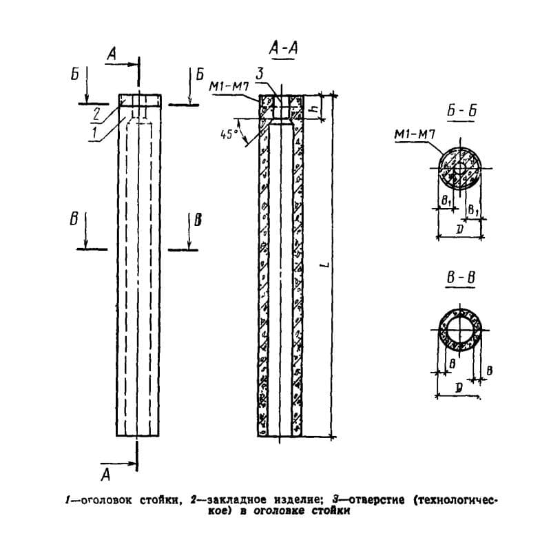
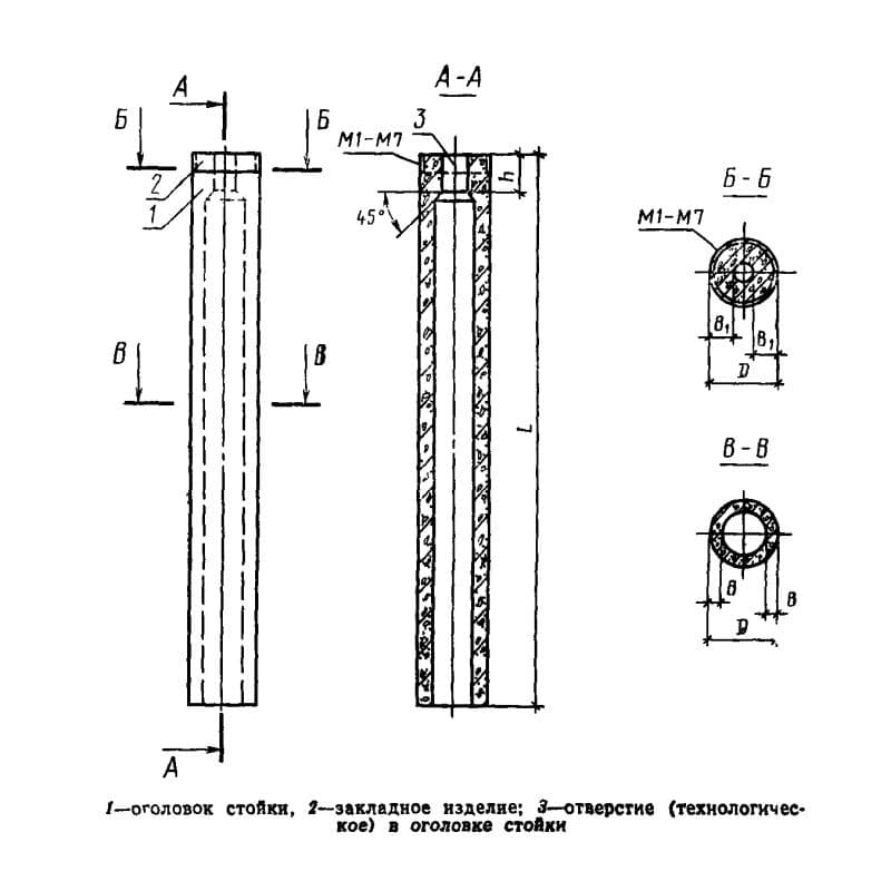
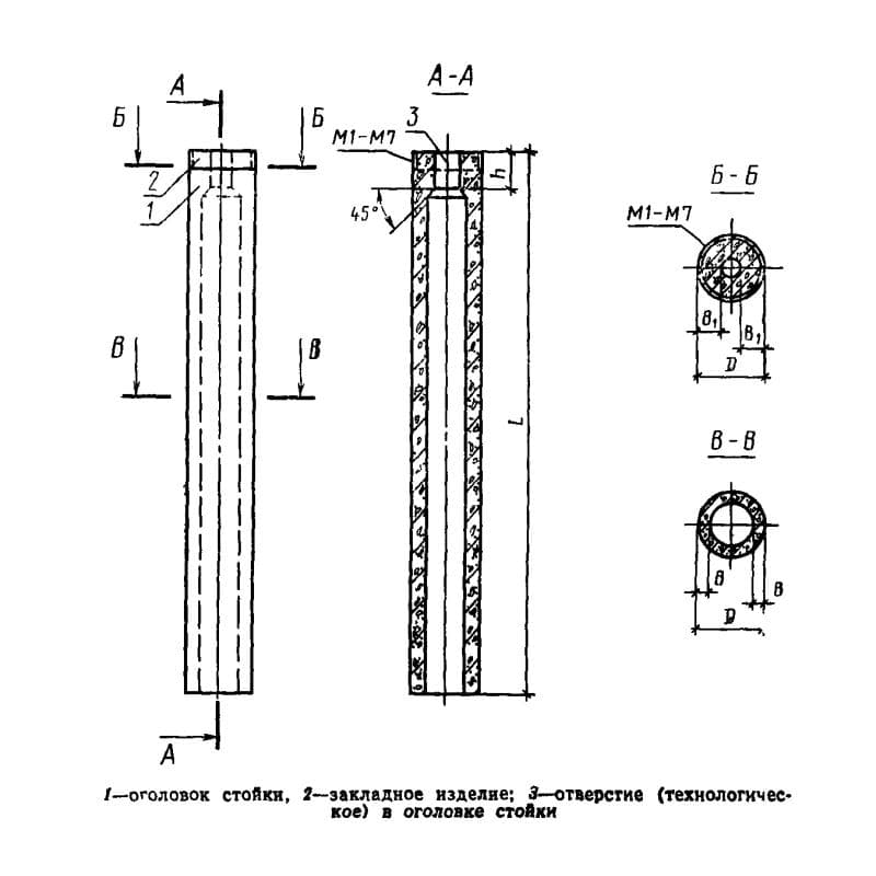
Каталог по сериям
Выбрана серия: ГОСТ 23444-79
ГОСТ 23444-79

400x400x6600С 4-66-7 К2
Цена по запросу

400x400x6600С 4-66-7 К3
Цена по запросу

400x400x6600С 4-66-7 К4
Цена по запросу

400x400x6600С 4-66-7 К5
Цена по запросу

400x400x6600С 4-66-8 К1
Цена по запросу

400x400x6600С 4-66-8 К2
Цена по запросу

400x400x6600С 4-66-8 К3
Цена по запросу

400x400x6600С 4-66-8 К4
Цена по запросу

400x400x6600С 4-66-8 К5
Цена по запросу

400x400x7200С 4-72-5 К1а
Цена по запросу

400x400x7200С 4-72-5 К2а
Цена по запросу

400x400x7200С 4-72-5 К3а
Цена по запросу