Каталог по сериям
Выбрана серия: ГОСТ
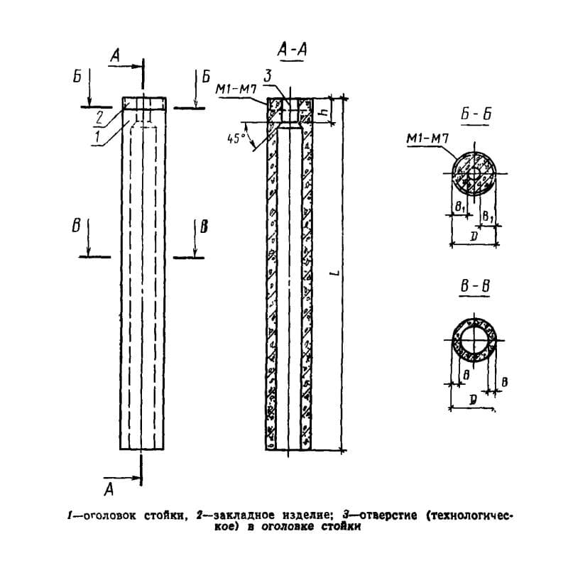
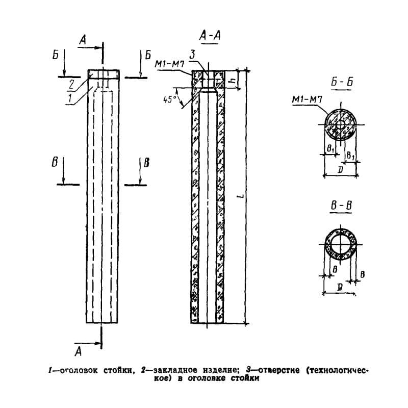
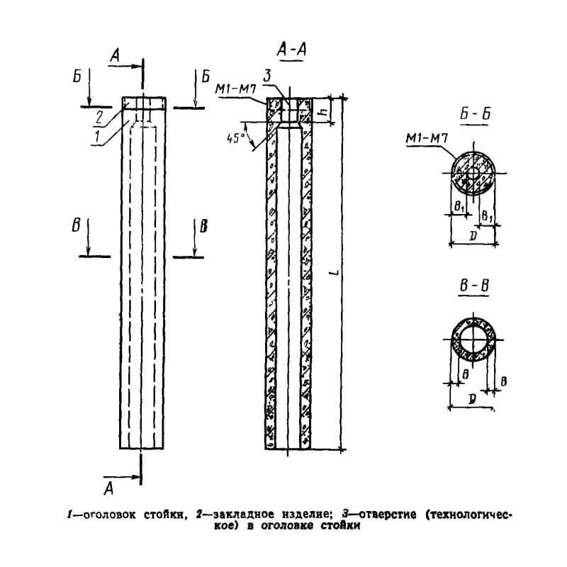
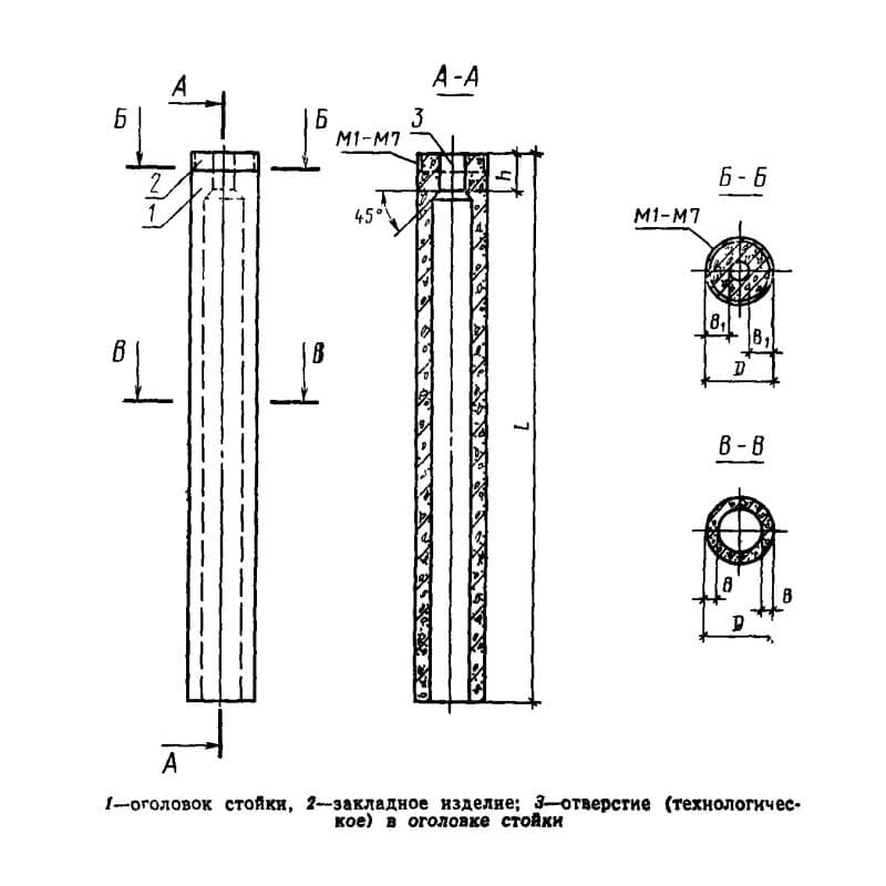
ГОСТ

700x700x17400С 7-174-7 К7
Цена по запросу

800x800x14400С 8-144-6 К3
Цена по запросу

1485x400x59502П 1-1 АтVскт-1 п (ГОСТ 27215-87)
Цена по запросу

400x400x4000СПН 4-40
Цена по запросу

2985x400x55501П 1-2 АтVт (ГОСТ 27215-87)
Цена по запросу

1000x1000x7200С 10-72-8 К3
Цена по запросу

1400x2400x21406СК 24
Цена по запросу

500x500x7800С 5-78-8 К1
Цена по запросу

250x585x5950БОП 25-2 п
Цена по запросу

120x190x20701ПР 8-20-12-19 (ГОСТ 948-76)
Цена по запросу

490x600x8560РОР 6-86
Цена по запросу

260x145x1200ЛСП 12 ш (ГОСТ 8717-2016)
Цена по запросу