Каталог по сериям
Выбрана серия: ГОСТ
ГОСТ

1900x320x29801ЛП 30-19в-4 л (ГОСТ 9818-85)
Цена по запросу

1900x320x23801ЛП 24-19-4 К (ГОСТ 9818-2015)
Цена по запросу

380x440x59603ПР 41-59-38-44 (ГОСТ 948-76)
Цена по запросу

2010x180x23201ПШ 12
Цена по запросу

350x45x1000ПОШ 10-35-45 (ГОСТ 6785-80)
Цена по запросу

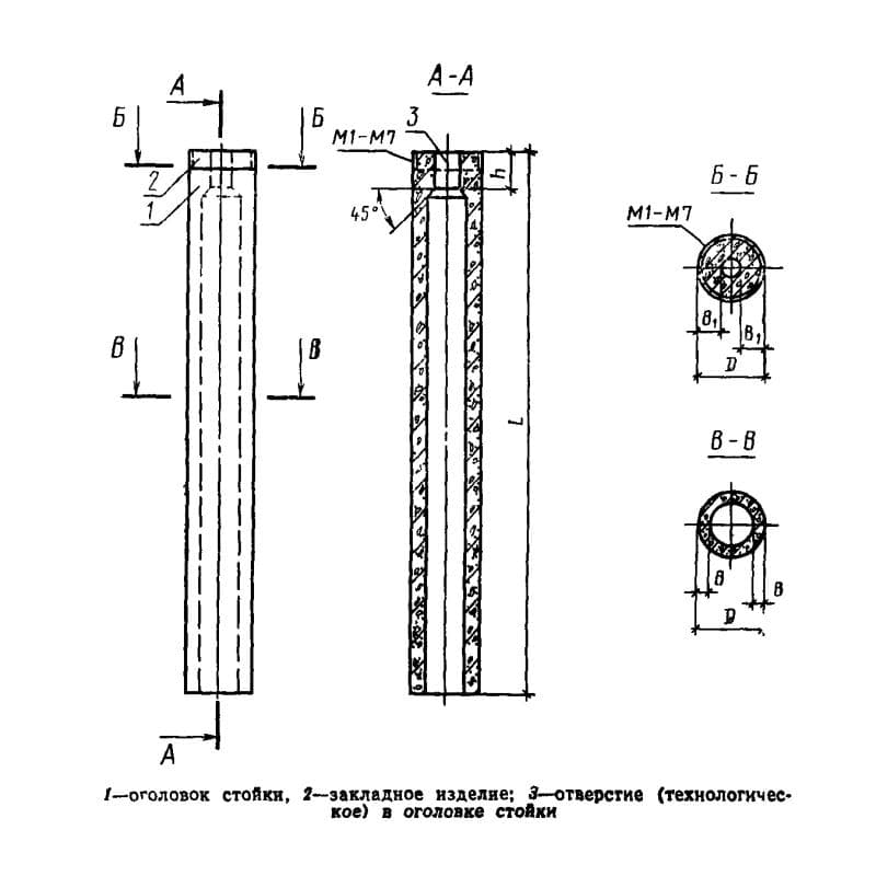
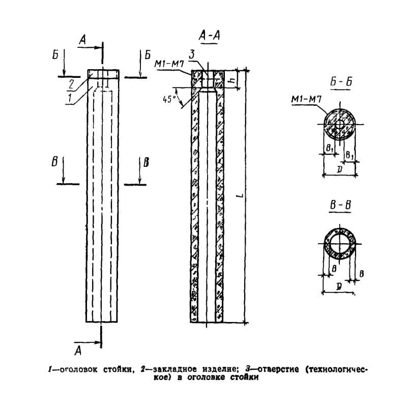
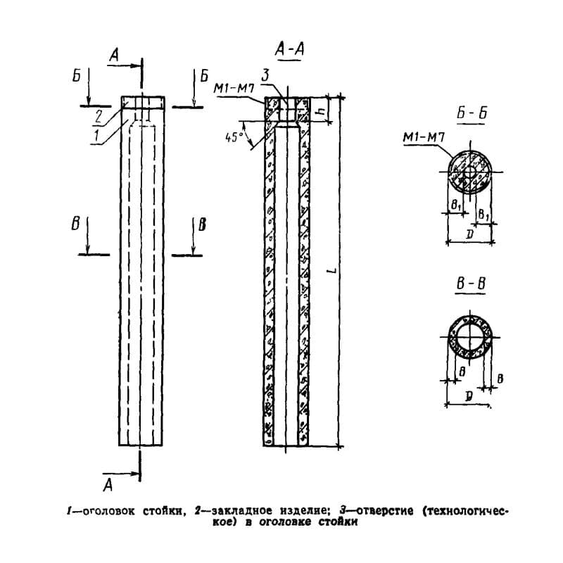
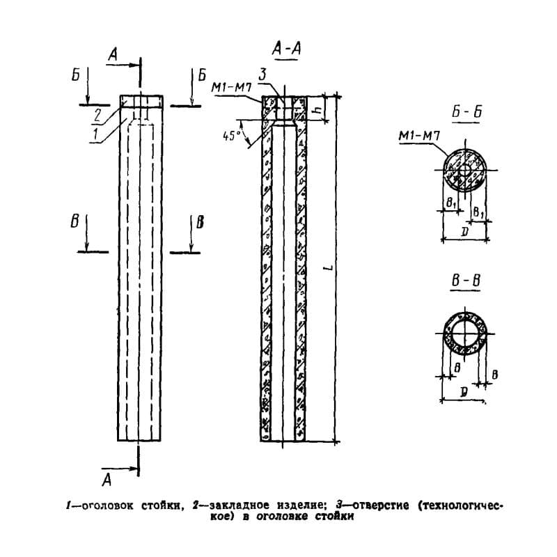
400x400x7200С 4-72-5 К3а
Цена по запросу

1000x1000x7800С 10-78-8 К3
Цена по запросу

1000x1000x12600С 10-126-8 К3
Цена по запросу

700x700x12000С 7-120-7 К6
Цена по запросу

400x400x4800С 4-48-6 К2
Цена по запросу

1490x220x59801ПК 60-15-3 (ГОСТ 26434-2015)
Цена по запросу

373x373x5000ВТ 12 350 тип 2
Цена по запросу