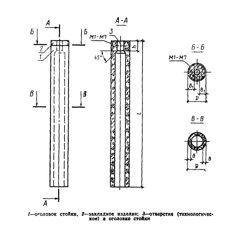
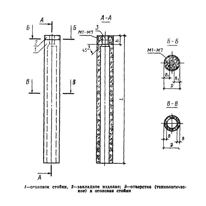
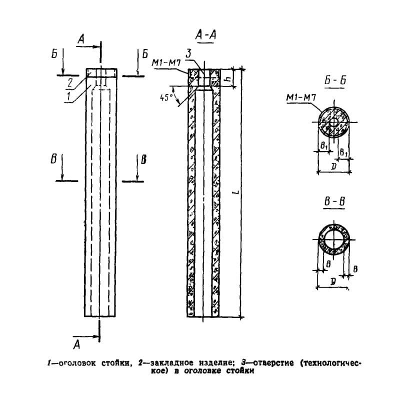
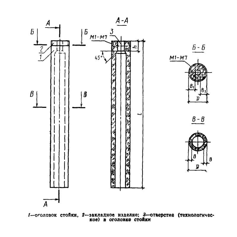
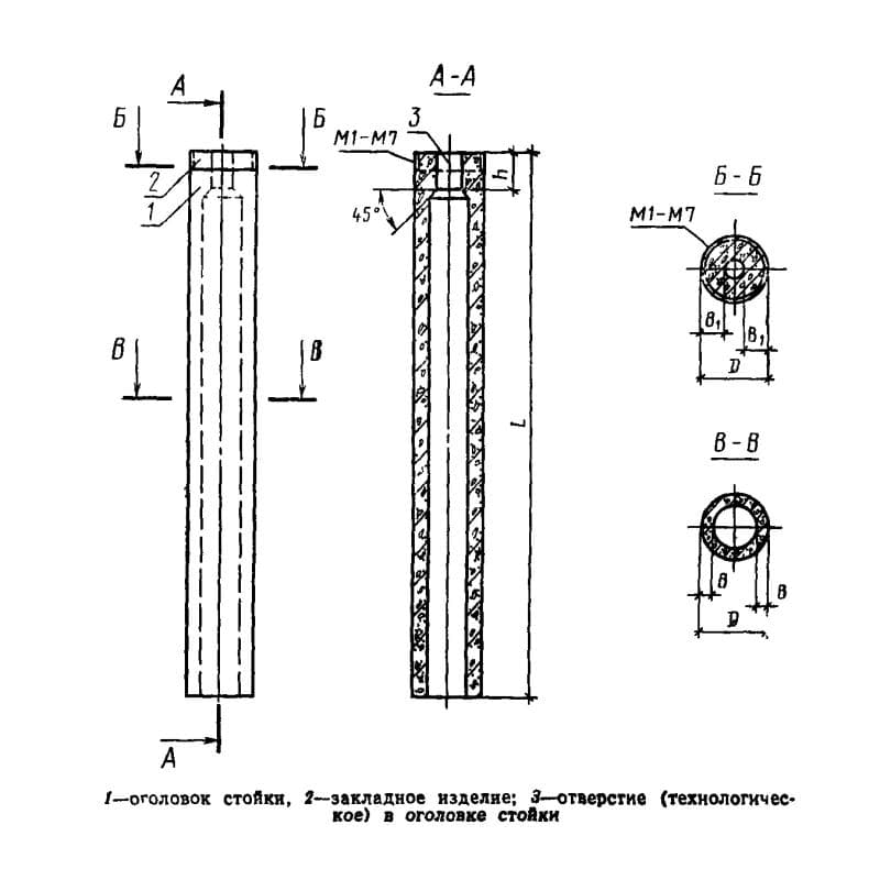
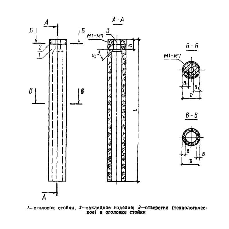
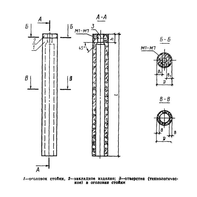
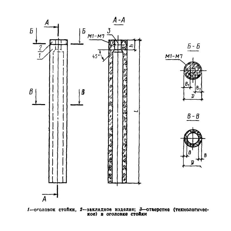
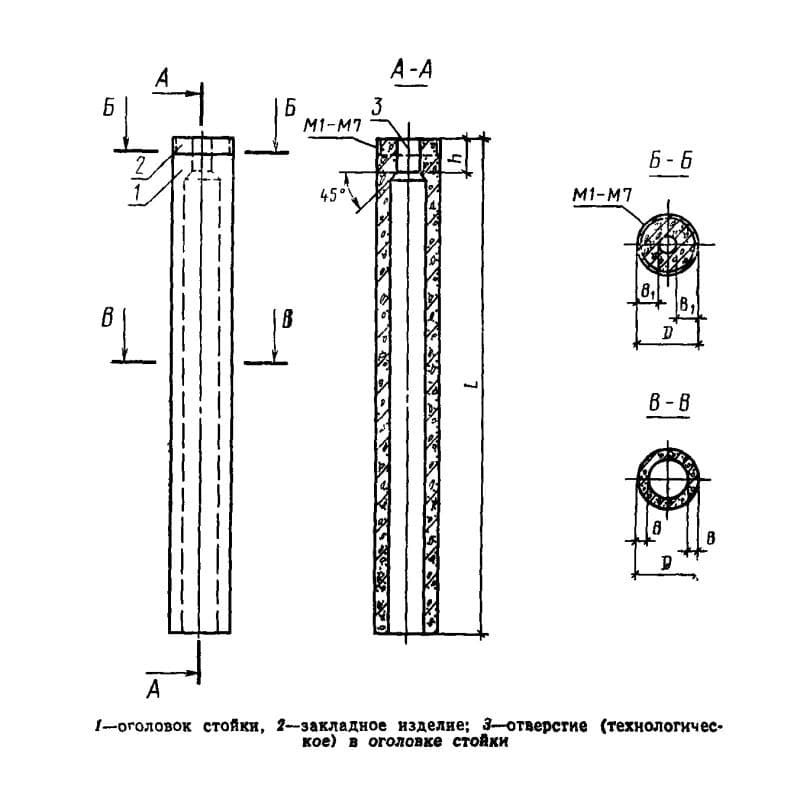
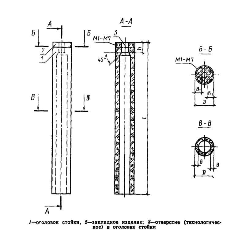
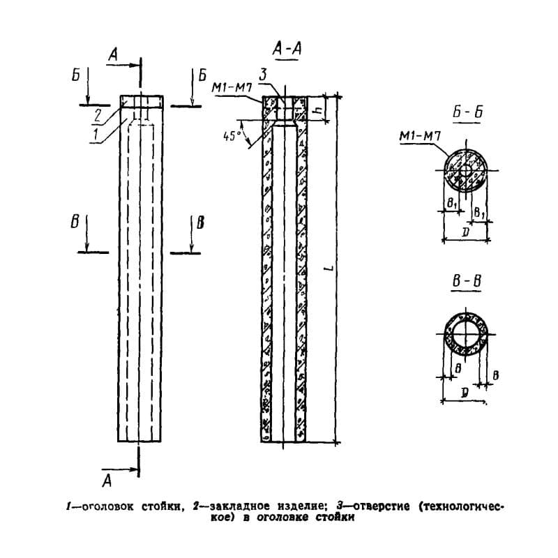
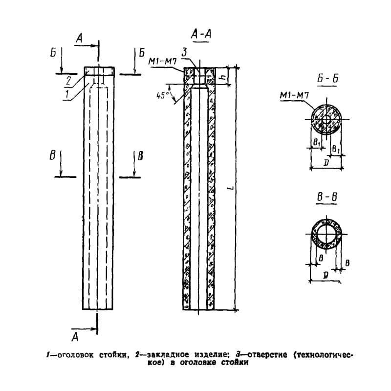
Каталог по сериям
Выбрана серия: ГОСТ 23444-79
ГОСТ 23444-79

1000x1000x14400С 10-144-10 К5
Цена по запросу

1000x1000x14400С 10-144-10 К6
Цена по запросу

1000x1000x14400С 10-144-10 К7
Цена по запросу

1000x1000x14400С 10-144-12 К1
Цена по запросу

1000x1000x14400С 10-144-12 К2
Цена по запросу

1000x1000x14400С 10-144-12 К3
Цена по запросу

1000x1000x14400С 10-144-12 К4
Цена по запросу

1000x1000x14400С 10-144-12 К5
Цена по запросу

1000x1000x14400С 10-144-12 К6
Цена по запросу

1000x1000x14400С 10-144-12 К7
Цена по запросу

1000x1000x14400С 10-144-8 К1
Цена по запросу

1000x1000x14400С 10-144-8 К2
Цена по запросу